TOP
|
特許
|
意匠
|
商標
特許ウォッチ
Twitter
他の特許を見る
公開番号
2025149835
公報種別
公開特許公報(A)
公開日
2025-10-08
出願番号
2024195342
出願日
2024-11-07
発明の名称
基地局及び無線通信方法
出願人
株式会社NTTドコモ
代理人
インフォート弁理士法人
主分類
H04W
60/00 20090101AFI20251001BHJP(電気通信技術)
要約
【課題】次世代移動通信システムにおける基地局及び基地局の無線通信方法を提供する。
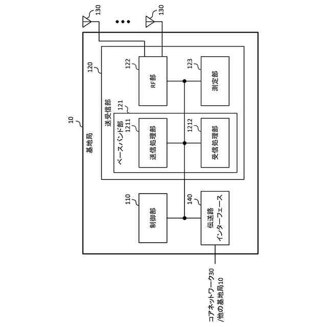
【解決手段】基地局は、拡張セルIDに基づく端末の測位のための設定を受信する受信部と、測位のためのメトリックの測定結果の報告粒度をセル単位あるいは送受信ポイント(TRP)単位で報告するように制御する制御部と、を有する。
【選択図】図1
特許請求の範囲
【請求項1】
拡張セルIDに基づく端末の測位のための設定を受信する受信部と、
前記測位のためのメトリックの測定結果の報告粒度をセル単位あるいは送受信ポイント(TRP)単位で報告するように制御する制御部と、を有する、基地局。
続きを表示(約 380 文字)
【請求項2】
前記設定は、前記報告粒度ごとに個別に設定される、請求項1に記載の基地局。
【請求項3】
前記制御部は、測定に成功したメトリックの測定結果のみを報告するように制御する、請求項1に記載の基地局。
【請求項4】
TRP単位の報告は、タイミングアドバンスグループIDに関連付けられる、請求項1に記載の基地局。
【請求項5】
前記制御部は、TRPがコロケーションであるか否かに基づいて報告粒度を判断する、請求項1に記載の基地局。
【請求項6】
拡張セルIDに基づく端末の測位のための設定を受信するステップと、
前記測位のためのメトリックの測定結果の報告粒度をセル単位あるいは送受信ポイント(TRP)単位で報告するように制御するステップと、を有する、基地局の無線通信方法。
発明の詳細な説明
【技術分野】
【0001】
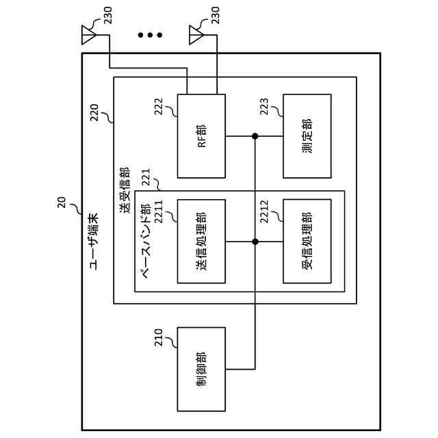
本開示は、次世代移動通信システムにおける基地局及び無線通信方法に関する。
続きを表示(約 1,300 文字)
【背景技術】
【0002】
Universal Mobile Telecommunications System(UMTS)ネットワークにおいて、更なる高速データレート、低遅延などを目的としてLong Term Evolution(LTE)が仕様化された(非特許文献1)。また、LTE(Third Generation Partnership Project(3GPP(登録商標)) Release(Rel.)8、9)の更なる大容量、高度化などを目的として、LTE-Advanced(3GPP Rel.10-14)が仕様化された。
【0003】
LTEの後継システム(例えば、5th generation mobile communication system(5G)、5G+(plus)、6th generation mobile communication system(6G)、New Radio(NR)、3GPP Rel.15以降などともいう)も検討されている。
【先行技術文献】
【非特許文献】
【0004】
3GPP TS 36.300 V8.12.0 “Evolved Universal Terrestrial Radio Access (E-UTRA) and Evolved Universal Terrestrial Radio Access Network (E-UTRAN); Overall description; Stage 2 (Release 8)”、2010年4月
【発明の概要】
【発明が解決しようとする課題】
【0005】
既存の仕様では、無線信号の伝搬特性を利用して無線機器(例えば端末(UE))の位置を推定する種々の測位方法が提案されている。
【0006】
その中でも、E-CID(拡張セルID)に基づく測位では、サービングセル/隣接セル(neighbor cell)の幾何学的位置と追加の測定結果(Tx-Rx時間差、RSRP、RSRQ等)に基づいてUEの位置が推定される。
【0007】
しかしながら、当該測位方法を将来のシステムに拡張するための各種検討が十分でないケースが想定される。これらが明確でないと、端末測位の精度に影響を与えるおそれがある。
【0008】
そこで、本開示は、端末測位の精度を向上することができる基地局及び無線通信方法を提供することを目的の1つとする。
【課題を解決するための手段】
【0009】
本開示の一態様に係る基地局は、拡張セルIDに基づく端末の測位のための設定を受信する受信部と、前記測位のためのメトリックの測定結果の報告粒度をセル単位あるいは送受信ポイント(TRP)単位で報告するように制御する制御部と、を有する。
【発明の効果】
【0010】
本開示の一態様によれば、端末測位の精度を向上することができる。
【図面の簡単な説明】
(【0011】以降は省略されています)
この特許をJ-PlatPat(特許庁公式サイト)で参照する
関連特許
株式会社NTTドコモ
端末
3日前
株式会社NTTドコモ
端末
3日前
株式会社NTTドコモ
端末
4日前
株式会社NTTドコモ
端末
3日前
株式会社NTTドコモ
端末
4日前
株式会社NTTドコモ
端末
3日前
株式会社NTTドコモ
端末
4日前
株式会社NTTドコモ
端末
4日前
株式会社NTTドコモ
端末
3日前
株式会社NTTドコモ
基地局
3日前
株式会社NTTドコモ
デバイス
3日前
株式会社NTTドコモ
デバイス
4日前
株式会社NTTドコモ
デバイス
3日前
株式会社NTTドコモ
デバイス
4日前
株式会社NTTドコモ
デバイス
4日前
株式会社NTTドコモ
デバイス
4日前
株式会社NTTドコモ
デバイス
3日前
株式会社NTTドコモ
装置及び方法
1日前
株式会社NTTドコモ
情報処理装置
10日前
株式会社NTTドコモ
端末及び基地局
3日前
株式会社NTTドコモ
基地局及び端末
3日前
株式会社NTTドコモ
基地局及び端末
3日前
株式会社NTTドコモ
端末及び基地局
3日前
株式会社NTTドコモ
端末及び基地局
3日前
株式会社NTTドコモ
端末及び通信方法
4日前
株式会社NTTドコモ
端末及び通信方法
4日前
株式会社NTTドコモ
端末及び通信方法
4日前
株式会社NTTドコモ
端末及び通信方法
4日前
株式会社NTTドコモ
端末及び通信方法
4日前
株式会社NTTドコモ
端末及び通信方法
4日前
株式会社NTTドコモ
端末及び通信方法
4日前
株式会社NTTドコモ
端末及び通信方法
4日前
株式会社NTTドコモ
端末及び通信方法
4日前
株式会社NTTドコモ
端末及び通信方法
4日前
株式会社NTTドコモ
端末及び通信方法
4日前
株式会社NTTドコモ
端末及び通信方法
3日前
続きを見る
他の特許を見る