TOP
|
特許
|
意匠
|
商標
特許ウォッチ
Twitter
他の特許を見る
公開番号
2025149975
公報種別
公開特許公報(A)
公開日
2025-10-08
出願番号
2025085205
出願日
2025-05-21
発明の名称
端末、無線通信方法及び基地局
出願人
株式会社NTTドコモ
代理人
インフォート弁理士法人
主分類
H04W
24/10 20090101AFI20251001BHJP(電気通信技術)
要約
【課題】適切なCSI報告を実行すること。
【解決手段】本開示の一態様に係る端末は、チャネル状態情報(CSI)レポートの優先度導出のための1つまたは複数の要素に関する情報を受信する受信部と、前記1つまたは複数の要素に基づいて、前記CSIレポートの優先度を導出する制御部と、を有し、前記1つまたは複数の要素は、前記CSIレポートにデータ収集が設定されているかどうか、前記CSIレポートの報告量がパフォーマンスメトリックレポートに対応するかどうか、または、設定された前記CSIレポートが推論用であるかまたは推論に基づくか、の少なくとも1つである。
【選択図】図1
特許請求の範囲
【請求項1】
チャネル状態情報(CSI)レポートの優先度導出のための1つまたは複数の要素に関する情報を受信する受信部と、
前記1つまたは複数の要素に基づいて、前記CSIレポートの優先度を導出する制御部と、を有し、
前記1つまたは複数の要素は、前記CSIレポートにデータ収集が設定されているかどうか、前記CSIレポートの報告量がパフォーマンスメトリックレポートに対応するかどうか、または、設定された前記CSIレポートが推論用であるかまたは推論に基づくか、の少なくとも1つである
端末。
続きを表示(約 730 文字)
【請求項2】
前記制御部は、パフォーマンスモニタリング用のCSIレポートを、優先度毎に、1または複数のCSIグループにマッピングする
請求項1に記載の端末。
【請求項3】
前記制御部は、同時に実施されるCSI計算が能力を超える場合、前記優先度に基づいて一部のCSIレポートを更新しないことを決定する
請求項1に記載の端末。
【請求項4】
チャネル状態情報(CSI)レポートの優先度導出のための1つまたは複数の要素に関する情報を受信する工程と、
前記1つまたは複数の要素に基づいて、前記CSIレポートの優先度を導出する工程と、を有し、
前記1つまたは複数の要素は、前記CSIレポートにデータ収集が設定されているかどうか、前記CSIレポートの報告量がパフォーマンスメトリックレポートに対応するかどうか、または、設定された前記CSIレポートが推論用であるかまたは推論に基づくか、の少なくとも1つである
端末の無線通信方法。
【請求項5】
チャネル状態情報(CSI)レポートの優先度導出のための1つまたは複数の要素に関する情報を送信する送信部と、
前記1つまたは複数の要素に基づいて、前記CSIレポートの優先度が導出され、前記CSIレポートの受信を制御する制御部と、を有し、
前記1つまたは複数の要素は、前記CSIレポートにデータ収集が設定されているかどうか、前記CSIレポートの報告量がパフォーマンスメトリックレポートに対応するかどうか、または、設定された前記CSIレポートが推論用であるかまたは推論に基づくか、の少なくとも1つである
基地局。
発明の詳細な説明
【技術分野】
【0001】
本開示は、次世代移動通信システムにおける端末、無線通信方法及び基地局に関する。
続きを表示(約 1,700 文字)
【背景技術】
【0002】
Universal Mobile Telecommunications System(UMTS)ネットワークにおいて、更なる高速データレート、低遅延などを目的としてLong Term Evolution(LTE)が仕様化された(非特許文献1)。また、LTE(Third Generation Partnership Project(3GPP(登録商標)) Release(Rel.)8、9)の更なる大容量、高度化などを目的として、LTE-Advanced(3GPP Rel.10-14)が仕様化された。
【0003】
LTEの後継システム(例えば、5th generation mobile communication system(5G)、5G+(plus)、6th generation mobile communication system(6G)、New Radio(NR)、3GPP Rel.15以降などともいう)も検討されている。
【先行技術文献】
【非特許文献】
【0004】
3GPP TS 36.300 V8.12.0 “Evolved Universal Terrestrial Radio Access (E-UTRA) and Evolved Universal Terrestrial Radio Access Network (E-UTRAN); Overall description; Stage 2 (Release 8)”、2010年4月
【発明の概要】
【発明が解決しようとする課題】
【0005】
将来の無線通信システム(例えば、NR)において、Artificial Intelligence(AI)/Machine Learning(ML)ベースのCSI生成では、エンコード/デコードによるCSIの圧縮/予測が検討されている。
【0006】
しかし、CSI圧縮/予測をした場合のCSI報告の詳細(例えば、一部のCSIの省略など)について明確になっていない。この場合、適切なCSI報告が実行できず、通信スループットが低下するおそれがある。
【0007】
そこで、本開示は、適切なCSI報告を実行できる端末、無線通信方法及び基地局を提供することを目的の1つとする。
【課題を解決するための手段】
【0008】
本開示の一態様に係る端末は、チャネル状態情報(CSI)レポートの優先度導出のための1つまたは複数の要素に関する情報を受信する受信部と、前記1つまたは複数の要素に基づいて、前記CSIレポートの優先度を導出する制御部と、を有し、前記1つまたは複数の要素は、前記CSIレポートにデータ収集が設定されているかどうか、前記CSIレポートの報告量がパフォーマンスメトリックレポートに対応するかどうか、または、設定された前記CSIレポートが推論用であるかまたは推論に基づくか、の少なくとも1つであることを特徴とする。
【発明の効果】
【0009】
本開示の一態様によれば、適切なCSI報告を実行できる。
【図面の簡単な説明】
【0010】
図1は、AIベースドCSIフィードバックの一例を示す図である。
図2は、ペイロードビットとCSIインデックスnとの関係を示す図である。
図3は、本開示の一実施形態に係る無線通信システムの概略構成の一例を示す図である。
図4は、本開示の一実施形態に係る基地局の構成の一例を示す図である。
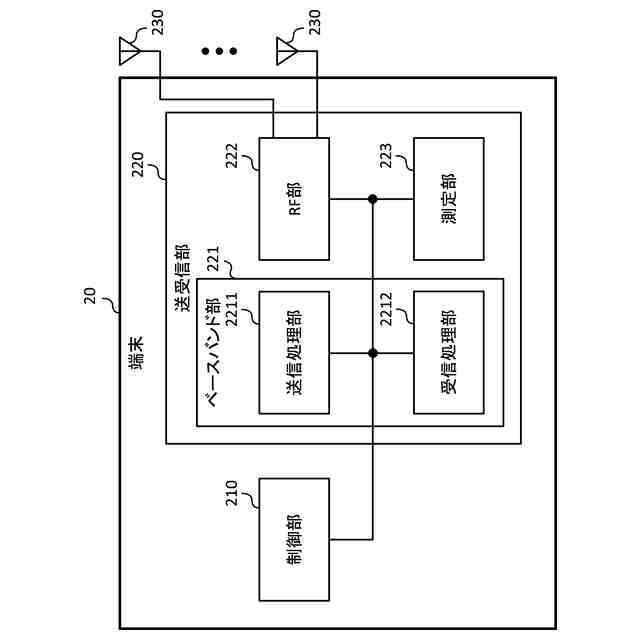
図5は、本開示の一実施形態に係る端末の構成の一例を示す図である。
図6は、本開示の一実施形態に係る基地局及び端末のハードウェア構成の一例を示す図である。
【発明を実施するための形態】
(【0011】以降は省略されています)
この特許をJ-PlatPat(特許庁公式サイト)で参照する
関連特許
株式会社NTTドコモ
端末
4日前
株式会社NTTドコモ
端末
5日前
株式会社NTTドコモ
端末
5日前
株式会社NTTドコモ
端末
5日前
株式会社NTTドコモ
端末
4日前
株式会社NTTドコモ
端末
4日前
株式会社NTTドコモ
端末
4日前
株式会社NTTドコモ
端末
4日前
株式会社NTTドコモ
端末
5日前
株式会社NTTドコモ
基地局
4日前
株式会社NTTドコモ
デバイス
4日前
株式会社NTTドコモ
デバイス
4日前
株式会社NTTドコモ
デバイス
4日前
株式会社NTTドコモ
デバイス
5日前
株式会社NTTドコモ
デバイス
5日前
株式会社NTTドコモ
デバイス
5日前
株式会社NTTドコモ
デバイス
5日前
株式会社NTTドコモ
装置及び方法
2日前
株式会社NTTドコモ
端末及び基地局
4日前
株式会社NTTドコモ
基地局及び端末
4日前
株式会社NTTドコモ
端末及び基地局
4日前
株式会社NTTドコモ
端末及び基地局
4日前
株式会社NTTドコモ
基地局及び端末
4日前
株式会社NTTドコモ
端末及び通信方法
4日前
株式会社NTTドコモ
端末及び通信方法
4日前
株式会社NTTドコモ
端末及び通信方法
5日前
株式会社NTTドコモ
端末及び通信方法
5日前
株式会社NTTドコモ
端末及び通信方法
5日前
株式会社NTTドコモ
端末及び通信方法
4日前
株式会社NTTドコモ
端末及び通信方法
5日前
株式会社NTTドコモ
端末及び通信方法
5日前
株式会社NTTドコモ
端末及び通信方法
5日前
株式会社NTTドコモ
端末及び通信方法
4日前
株式会社NTTドコモ
端末及び通信方法
4日前
株式会社NTTドコモ
端末及び通信方法
5日前
株式会社NTTドコモ
端末及び通信方法
5日前
続きを見る
他の特許を見る