TOP
|
特許
|
意匠
|
商標
特許ウォッチ
Twitter
他の特許を見る
10個以上の画像は省略されています。
公開番号
2025150006
公報種別
公開特許公報(A)
公開日
2025-10-09
出願番号
2024050639
出願日
2024-03-27
発明の名称
カートリッジ
出願人
セイコーエプソン株式会社
代理人
弁理士法人明成国際特許事務所
主分類
B41J
2/175 20060101AFI20251002BHJP(印刷;線画機;タイプライター;スタンプ)
要約
【課題】供給口キャップが脱落することを抑制する。
【解決手段】液体導入部を備える液体噴射装置に着脱可能に装着されるカートリッジは、液体を収容する液体収容部と、液体収容部から液体導入部に液体を供給するための液体供給口であって、液体導入部に接続される液体供給口と、螺合によって液体供給口に固定される供給口キャップと、を備える。
【選択図】図8
特許請求の範囲
【請求項1】
液体導入部を備える液体噴射装置に着脱可能に装着されるカートリッジであって、
液体を収容する液体収容部と、
前記液体収容部から前記液体導入部に前記液体を供給するための液体供給口であって、前記液体導入部に接続される液体供給口と、
螺合によって前記液体供給口に固定される供給口キャップと、を備える、カートリッジ。
続きを表示(約 1,500 文字)
【請求項2】
液体導入部を備える液体噴射装置に着脱可能に装着されるカートリッジであって、
液体を収容する液体収容部と、
前記液体収容部から前記液体導入部に前記液体を供給するための液体供給口であって、前記液体導入部に接続される液体供給口と、
溶着によって前記液体供給口に固定される供給口キャップと、を備える、カートリッジ。
【請求項3】
液体導入部を備える液体噴射装置に着脱可能に装着されるカートリッジであって、
液体を収容する液体収容部を有する液体収容体と、
前記液体収容部から前記液体導入部に前記液体を供給するための液体供給口であって、前記液体導入部に接続される液体供給口と、
前記液体供給口に固定される供給口キャップと、
前記液体供給口と前記供給口キャップとを収容するアダプターと、
前記液体収容体および前記アダプターとは別体に構成され、前記液体収容体と前記アダプターとを固定する固定部材と、を備え
前記アダプターは、前記液体導入部が内部に配置される開口部と、前記供給口キャップの前記液体供給口からの離脱を規制するための規制部と、を有する、カートリッジ。
【請求項4】
請求項3に記載のカートリッジであって、
前記液体収容体は、第1側面と、前記第1側面と対向する第2側面と、前記第1側面と前記第2側面とを貫通する第1貫通孔と、を有し、
前記固定部材は、前記第1貫通孔を貫通しつつ前記第1貫通孔と前記アダプターとを接続することによって、前記液体収容体と前記アダプターとを固定するように構成されている、カートリッジ。
【請求項5】
請求項4に記載のカートリッジであって、
前記カートリッジは、前記開口部の開口面に直交する方向に見たときに、長手方向と短手方向とを有し、
前記第1貫通孔は、前記短手方向に前記液体収容体を貫通する、カートリッジ。
【請求項6】
請求項4に記載のカートリッジであって
前記アダプターは、第3側面と、前記第3側面と対向する第4側面と、前記第3側面と前記第4側面とを貫通する第2貫通孔と、を有し、
前記固定部材は、前記第1貫通孔と前記第2貫通孔とを貫通しつつ、前記第1貫通孔と前記第2貫通孔とを接続することによって、前記液体収容体と前記アダプターとを固定するように構成されている、カートリッジ。
【請求項7】
請求項3に記載のカートリッジであって、
前記カートリッジは、前記開口部の開口面に直交する方向に見たときに、長手方向と短手方向とを有し、
前記固定部材は、前記長手方向における第1位置において前記液体収容体と前記アダプターとを固定するための第1固定部材と、前記長手方向における第2位置において前記液体収容体と前記アダプターとを固定するための第2固定部材とを有し、
前記液体供給口は、前記第1位置と前記第2位置との間に位置する、カートリッジ。
【請求項8】
請求項3に記載のカートリッジであって、
前記規制部は、前記開口部の開口を区画する壁部から内方側に突出する1以上のリブによって構成され、
各前記リブは、前記開口部の開口面に直交する方向に見たときに、前記供給口キャップの少なくとも一部と重なる位置に配置される、カートリッジ。
【請求項9】
請求項3から8のいずれか一項に記載のカートリッジであって、
前記固定部材は、長さ調節が可能に構成されている、カートリッジ。
発明の詳細な説明
【技術分野】
【0001】
本開示は、カートリッジに関する。
続きを表示(約 2,100 文字)
【背景技術】
【0002】
特許文献1には、筐体カバーの開口部に設けられた複数のリブを有するカートリッジが開示されている。複数のリブは、平面視において、カートリッジの液体供給部の少なくとも一部と重なる位置に形成されている。複数のリブによって、筐体カバーから外方への液体供給部の飛び出しが制限され、液体供給部の飛び出しによるカートリッジからの液体の漏れが抑制される。
【先行技術文献】
【特許文献】
【0003】
特開2023-16082号公報
【発明の概要】
【発明が解決しようとする課題】
【0004】
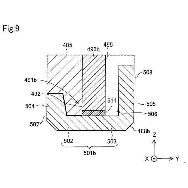
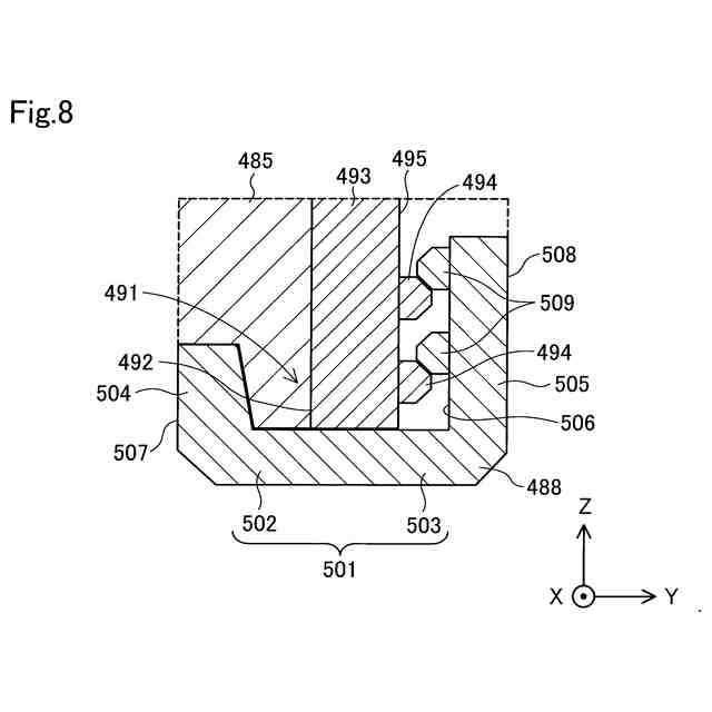
液体供給部内に配置された流路形成用の部材が液体供給部外に飛び出すことを規制するために、液体供給部にキャップが取り付けられる場合がある。特許文献1では、こうしたキャップが液体供給部から脱落することを抑制する技術については、具体的に検討されていなかった。
【課題を解決するための手段】
【0005】
本開示の第1の形態によれば、液体導入部を備える液体噴射装置に着脱可能に装着されるカートリッジが提供される。このカートリッジは、液体を収容する液体収容部と、前記液体収容部から前記液体導入部に前記液体を供給するための液体供給口であって、前記液体導入部に接続される液体供給口と、螺合によって前記液体供給口に固定される供給口キャップと、を備える。
【0006】
本開示の第2の形態によれば、液体導入部を備える液体噴射装置に着脱可能に装着されるカートリッジが提供される。このカートリッジは、液体を収容する液体収容部と、前記液体収容部から前記液体導入部に前記液体を供給するための液体供給口であって、前記液体導入部に接続される液体供給口と、溶着によって前記液体供給口に固定される供給口キャップと、を備える。
【0007】
本開示の第3の形態によれば、液体導入部を備える液体噴射装置に着脱可能に装着されるカートリッジが提供される。このカートリッジは、液体を収容する液体収容部を有する液体収容体と、前記液体収容部から前記液体導入部に前記液体を供給するための液体供給口であって、前記液体導入部に接続される液体供給口と、前記液体供給口に固定される供給口キャップと、前記液体供給口と前記供給口キャップとを収容するアダプターと、前記液体収容体および前記アダプターとは別体に構成され、前記液体収容体と前記アダプターとを固定する固定部材と、を備える。前記アダプターは、前記液体導入部が内部に配置される開口部と、前記供給口キャップの前記液体供給口からの離脱を規制するための規制部と、を有する。
【図面の簡単な説明】
【0008】
第1実施形態における印刷システムの構成を示す斜視図である。
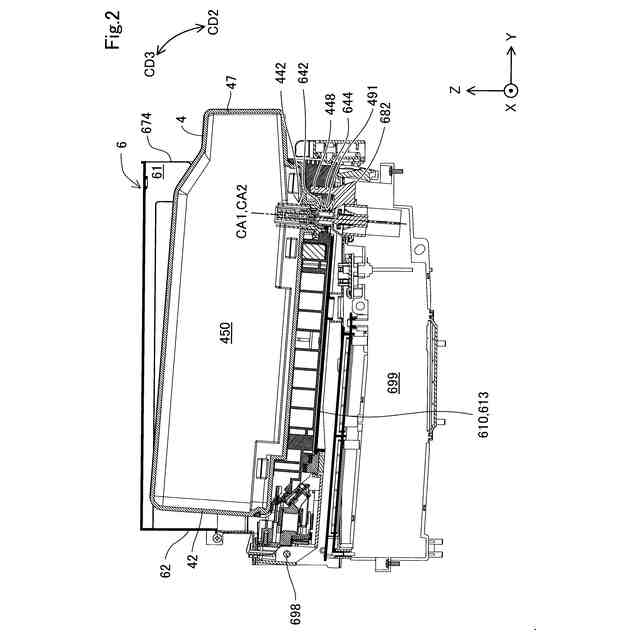
装着状態におけるカートリッジとカートリッジ装着部との断面図である。
カートリッジの斜視図である。
カートリッジのカートリッジ装着部への装着過程を説明する図である。
非装着状態における、液体供給部の拡大断面図である。
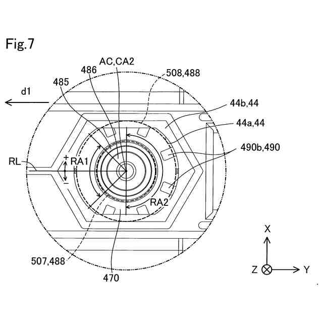
リブ周辺の斜視図である。
底壁の平面図である。
第1実施形態における供給口キャップの近傍を示す模式図である。
第2実施形態における供給口キャップの近傍を示す模式図である。
第3実施形態におけるカートリッジの側面図である。
第4実施形態におけるカートリッジの側面図である。
【発明を実施するための形態】
【0009】
A.第1実施形態:
図1は、第1実施形態における印刷システム1の構成を示す斜視図である。図1には、互いに直交する3つの空間軸であるXYZ軸が描かれている。X軸,Y軸,Z軸の矢印が向いている方向は、それぞれX軸,Y軸,Z軸に沿った正の方向を示している。X軸,Y軸,Z軸に沿った正の方向を、それぞれ+X方向,+Y方向,+Z方向とする。X軸,Y軸,Z軸の矢印が向いている方向と逆の方向が、それぞれX軸,Y軸,Z軸に沿った負の方向である。X軸,Y軸,Z軸に沿った負の方向を、それぞれ-X方向,-Y方向,-Z方向とする。X軸,Y軸,Z軸に沿った方向で正負を問わないものを、それぞれX方向,Y方向,Z方向とよぶ。これ以降に示す図及び説明についても同様である。
【0010】
印刷システム1は、液体噴射装置としての印刷装置10と、印刷装置10に液体であるインクを供給する複数のカートリッジ4とを備える。本実施形態の印刷装置10は、液体としてのインクを吐出ヘッド22から吐出するインクジェットプリンターである。この印刷装置10は、ポスター等の大判の用紙に印刷を行う大型のプリンターである。印刷装置10は、カートリッジ装着部6と、キャリッジ20と、吐出ヘッド22と、駆動機構30とを備える。カートリッジ装着部6には、収納しているインクの色が互いに異なる複数のカートリッジ4がそれぞれ着脱可能に装着される。
(【0011】以降は省略されています)
この特許をJ-PlatPat(特許庁公式サイト)で参照する
関連特許
個人
箔熱転写装置
1か月前
シヤチハタ株式会社
印判
4か月前
東レ株式会社
凸版印刷版原版
10か月前
三菱製紙株式会社
感熱記録材料
11か月前
シヤチハタ株式会社
反転式印判
9か月前
独立行政法人 国立印刷局
印刷物
7か月前
三光株式会社
感熱記録材料
6か月前
キヤノン株式会社
記録装置
1か月前
株式会社リコー
画像形成装置
1か月前
独立行政法人 国立印刷局
貼付機構
2か月前
株式会社リコー
印刷システム
20日前
株式会社リコー
液体吐出装置
2か月前
株式会社リコー
液体吐出装置
8か月前
株式会社リコー
画像形成装置
16日前
独立行政法人 国立印刷局
貼付装置
1か月前
独立行政法人 国立印刷局
記録媒体
8か月前
株式会社リコー
液体吐出装置
4か月前
株式会社リコー
液体吐出装置
6か月前
株式会社リコー
画像形成装置
20日前
株式会社リコー
液体吐出装置
4か月前
株式会社リコー
液体吐出装置
7か月前
株式会社リコー
液体吐出装置
5か月前
株式会社リコー
液体吐出装置
8か月前
日本製紙株式会社
感熱記録体
7か月前
キヤノン株式会社
画像形成装置
8か月前
キヤノン株式会社
情報処理装置
9か月前
キヤノン株式会社
画像形成装置
8か月前
キヤノン株式会社
画像形成装置
10か月前
キヤノン株式会社
画像記録装置
1か月前
キヤノン株式会社
画像形成装置
3か月前
キヤノン株式会社
画像形成装置
8か月前
ブラザー工業株式会社
プリンタ
8か月前
フジコピアン株式会社
中間転写シート
10か月前
ブラザー工業株式会社
液体吐出ヘッド
1か月前
キヤノン株式会社
画像形成装置
5か月前
ブラザー工業株式会社
プリンタ
9か月前
続きを見る
他の特許を見る