TOP
|
特許
|
意匠
|
商標
特許ウォッチ
Twitter
他の特許を見る
10個以上の画像は省略されています。
公開番号
2025150179
公報種別
公開特許公報(A)
公開日
2025-10-09
出願番号
2024050926
出願日
2024-03-27
発明の名称
積層体及び包装体
出願人
富士フイルム株式会社
代理人
個人
,
個人
主分類
B32B
7/025 20190101AFI20251002BHJP(積層体)
要約
【課題】損傷しやすい等の機械的に脆い異方導電性部材を搬送及び保管できる積層体及び包装体を提供する。
【解決手段】積層体は、電気的な絶縁性を有する絶縁性基材と、絶縁性基材の厚み方向に貫通して設けられ、絶縁性基材の少なくとも一方の面から突出した突出部を備える複数の導通路とを有する異方導電性部材と、異方導電性部材の絶縁性基材の厚み方向において対向する2つの面のうち、少なくとも一方の面上に配置された有機膜とを有する。有機膜は気体透過度が2.3×10
8
~4.6×10
9
ml/(m
2
・day・MPa)である。
【選択図】図1
特許請求の範囲
【請求項1】
電気的な絶縁性を有する絶縁性基材と、前記絶縁性基材の厚み方向に貫通して設けられ、前記絶縁性基材の少なくとも一方の面から突出した突出部を備える複数の導通路とを有する異方導電性部材と、
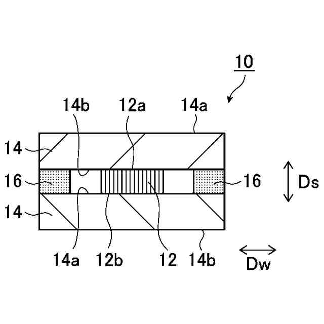
前記異方導電性部材の前記絶縁性基材の厚み方向において対向する2つの面のうち、少なくとも一方の面上に配置された有機膜とを有し、
前記有機膜は、気体透過度が2.3×10
8
~4.6×10
9
ml/(m
2
・day・MPa)である、積層体。
続きを表示(約 680 文字)
【請求項2】
前記有機膜は、前記絶縁性基材の厚み方向において対向する前記2つの面上に配置されている、請求項1に記載の積層体。
【請求項3】
前記有機膜が前記異方導電性部材と接する面に配置されたスペーサーを有する、請求項2に記載の積層体。
【請求項4】
巻芯を有し、前記異方導電性部材と前記有機膜とが積層された状態で前記巻芯に巻回されている、請求項1に記載の積層体。
【請求項5】
前記巻芯は、円筒で構成され、前記巻芯の軸方向の両端部に、それぞれ径が前記巻芯の径よりも大きいフランジが設けられている、請求項4に記載の積層体。
【請求項6】
前記有機膜は、多孔質膜である、請求項1に記載の積層体。
【請求項7】
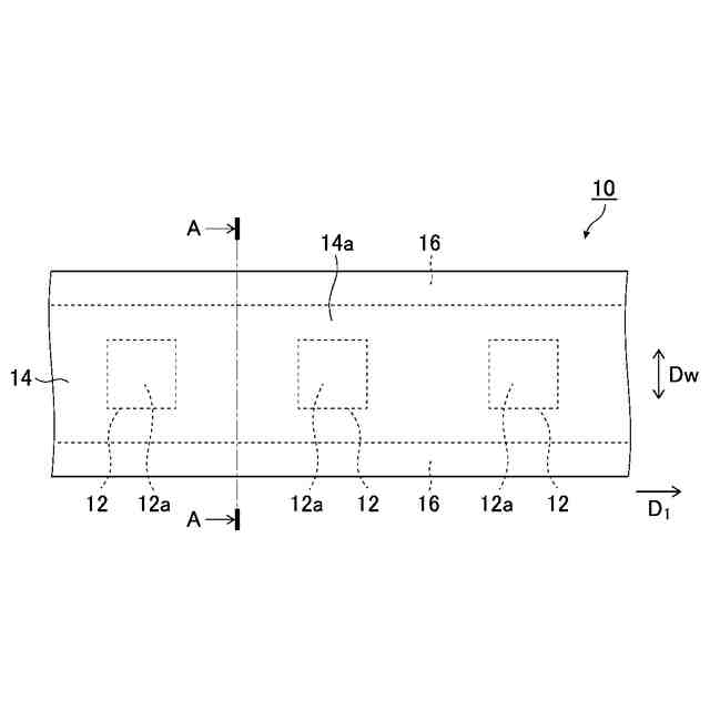
前記異方導電性部材は、前記有機膜の少なくとも一方の面上に、一方向に沿って複数配置されている、請求項1に記載の積層体。
【請求項8】
前記異方導電性部材は、前記有機膜の厚み方向において対向する2つの面に、それぞれ配置されている、請求項1に記載の積層体。
【請求項9】
請求項1~8のいずれか1項に記載の積層体と、前記積層体を収納する収納袋とを有し、
前記収納袋は、気体透過度が1×10
-5
~1ml/(m
2
・day・MPa)である、包装体。
【請求項10】
前記収納袋は、光の透過率が、波長100~780nmの波長域において最大1%以下である、請求項9に記載の包装体。
発明の詳細な説明
【技術分野】
【0001】
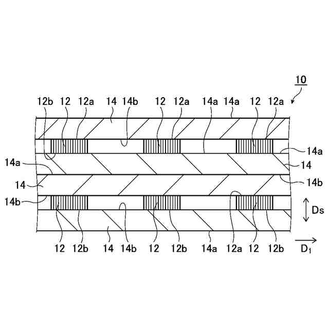
本発明は、異方導電性部材と有機膜とが積層された積層体、及び積層体を収納した包装体に関し、特に、異方導電性部材が絶縁性基材の厚み方向に貫通して設けられた導通路を有し、有機膜が気体透過性を有する積層体及び包装体に関する。
続きを表示(約 2,200 文字)
【背景技術】
【0002】
絶縁性基材に設けられた複数の貫通孔に金属等の導電性物質が充填された導通路を有する異方導電性部材がある。
異方導電性部材は、半導体素子等の電子部品と回路基板との間に挿入し、加圧するだけで電子部品と回路基板間の電気的接続が得られるため、半導体素子等の電子部品等の電気的接続部材、及び機能検査を行う際の検査用コネクタ等として広く使用されている。
特に、半導体素子等の電子部品は、ダウンサイジング化が顕著である。従来のワイヤーボンディングのような配線基板を直接接続する方式、フリップチップボンディング、及びサーモコンプレッションボンディング等では、電子部品の電気的な接続の安定性を十分に保証することができない場合があるため、電子接続部材として異方導電性部材が注目されている。
異方導電性部材を電子接続部材に用いる場合、異方導電性部材は、チップマウンター等の表面実装機を用いてプリント基板に配置される。この場合、異方導電性部材は、キャリアテープ等を用いて搬送及び保管される。
【0003】
例えば、特許文献1に、電子部品収納部を有するキャリアテープと、電子部品収容部を封止するカバーテープとを有する包装体が記載されている。カバーテープは、表面に帯電防止性が付与された基材層と、接着層と、基材層と接着層との間に設けられた静電誘導防止層とを有する。
【先行技術文献】
【特許文献】
【0004】
特開2005-178073号公報
【発明の概要】
【発明が解決しようとする課題】
【0005】
特許文献1では、カバーテープの長手方向の両縁部をそれぞれ0.3~1.0mm幅で連続的にシールして包装し、リールに巻き取ることによって包装体が得られることが記載されている。電子部品等はこの包装体の形態で、保管あるいは搬送されることが記載されている。また、特許文献1では、カバーテープを引き剥がし、ピックアップ装置により電子部品等の存在、向き、及び位置を確認しながら取り出される。
ここで、上述の異方導電性部材は、電気的な絶縁性を有する絶縁性基材を有する構成である。絶縁性基材は、一般的に金属材よりも機械的に脆いことが知られており、異方導電性部材をプリント基板等に移送するとき、又は保管中に異方導電性部材が外力により振動して損傷する可能性がある。
しかしながら、特許文献1では、振動等により損傷しやすい等の機械的に脆いものを扱うことについて何ら考慮されていない。
本発明の目的は、損傷しやすい等の機械的に脆い異方導電性部材を搬送及び保管できる積層体及び包装体を提供することにある。
【課題を解決するための手段】
【0006】
上述の目的を達成するために、発明[1]は、電気的な絶縁性を有する絶縁性基材と、絶縁性基材の厚み方向に貫通して設けられ、絶縁性基材の少なくとも一方の面から突出した突出部を備える複数の導通路とを有する異方導電性部材と、異方導電性部材の絶縁性基材の厚み方向において対向する2つの面のうち、少なくとも一方の面上に配置された有機膜とを有し、有機膜は、気体透過度が2.3×10
8
~4.6×10
9
ml/(m
2
・day・MPa)である、積層体である。
【0007】
発明[2]は、有機膜は、絶縁性基材の厚み方向において対向する2つの面上に配置されている、発明[1]に記載の積層体である。
発明[3]は、有機膜が異方導電性部材と接する面に配置されたスペーサーを有する、発明[1]又は[2]に記載の積層体である。
発明[4]は、巻芯を有し、異方導電性部材と有機膜とが積層された状態で巻芯に巻回されている、発明[1]~[3]のいずれか1つに記載の積層体である。
発明[5]は、巻芯は、円筒で構成され、巻芯の軸方向の両端部に、それぞれ径が巻芯の径よりも大きいフランジが設けられている、発明[4]に記載の積層体である。
【0008】
発明[6]は、有機膜は、多孔質膜である、発明[1]~[5]のいずれか1つに記載の積層体である。
発明[7]は、異方導電性部材は、有機膜の少なくとも一方の面上に、一方向に沿って複数配置されている、発明[1]~[6]のいずれか1つに記載の積層体である。
発明[8]は、異方導電性部材は、有機膜の厚み方向において対向する2つの面に、それぞれ配置されている、発明[1]~[7]のいずれか1つに記載の積層体である。
【0009】
発明[9]は、発明[1]~[8]のいずれか1項に記載の積層体と、積層体を収納する収納袋とを有し、収納袋は、気体透過度が1×10
-5
~1ml/(m
2
・day・MPa)である、包装体である。
発明[10]は、収納袋は、光の透過率が、波長100~780nmの波長域において最大1%以下である、発明[9]に記載の包装体である。
【発明の効果】
【0010】
本発明によれば、損傷しやすい等の機械的に脆い異方導電性部材を搬送及び保管できる積層体及び包装体を提供できる。
【図面の簡単な説明】
(【0011】以降は省略されています)
この特許をJ-PlatPat(特許庁公式サイト)で参照する
関連特許
富士フイルム株式会社
内視鏡
今日
富士フイルム株式会社
内視鏡
今日
富士フイルム株式会社
内視鏡
今日
富士フイルム株式会社
内視鏡
今日
富士フイルム株式会社
内視鏡
今日
富士フイルム株式会社
塗布装置
今日
富士フイルム株式会社
システム
今日
富士フイルム株式会社
情報処理装置
1日前
富士フイルム株式会社
放射線撮影装置
今日
富士フイルム株式会社
内視鏡補助具の操作装置
今日
富士フイルム株式会社
異方導電性部材及び接合体
1日前
富士フイルム株式会社
超音波内視鏡及びシステム
今日
富士フイルム株式会社
混合物、組成物、及び化合物
今日
富士フイルム株式会社
導電性フィルム、タッチパネル
1日前
富士フイルム株式会社
フタロシアニン化合物の製造方法
今日
富士フイルム株式会社
感光性転写材料及びその製造方法
今日
富士フイルム株式会社
ウェブ切換装置及びウェブ切換方法
今日
富士フイルム株式会社
医療支援装置、方法およびプログラム
今日
富士フイルム株式会社
硬化物、積層体、及び、半導体デバイス
1日前
富士フイルム株式会社
動作音抑制装置及びX線断層像撮影装置
1日前
富士フイルム株式会社
硬化物、積層体、及び、半導体デバイス
1日前
富士フイルム株式会社
硬化物、積層体、及び、半導体デバイス
1日前
富士フイルム株式会社
情報処理装置、情報処理方法、及びプログラム
今日
富士フイルム株式会社
多層膜、光学部材、撮像機器および多層膜の製造方法
今日
富士フイルム株式会社
医用画像撮影装置、及び医用画像撮影装置の制御方法
今日
富士フイルム株式会社
画像表示装置、画像表示方法、及び画像表示プログラム
今日
富士フイルム株式会社
情報処理装置、撮像装置、情報処理方法、及び情報処理プログラム
今日
富士フイルム株式会社
情報処理装置、画像撮影システム、プログラム更新方法、及びプログラム更新プログラム
今日
富士フイルム株式会社
不溶性担体を含む免疫学的測定試薬の製造方法、保存方法、測定対象物質の測定方法、および免疫学的測定試薬
今日
富士フイルム株式会社
樹脂組成物、硬化物、積層体、硬化物の製造方法、積層体の製造方法、半導体デバイスの製造方法、及び、半導体デバイス
1日前
富士フイルム株式会社
樹脂組成物、硬化物、積層体、硬化物の製造方法、積層体の製造方法、半導体デバイスの製造方法、及び、半導体デバイス
1日前
富士フイルム株式会社
感活性光線性又は感放射線性樹脂組成物、感活性光線性又は感放射線性膜、パターン形成方法、及び電子デバイスの製造方法
1日前
富士フイルム株式会社
ポリイミド前駆体又はポリアミドイミド前駆体の製造方法、硬化性樹脂組成物の製造方法、硬化性樹脂組成物、及びポリイミド前駆体又はポリアミドイミド前駆体
今日
東レ株式会社
積層体
4か月前
東レ株式会社
積層体
8か月前
個人
箔転写シート
4か月前
続きを見る
他の特許を見る