TOP
|
特許
|
意匠
|
商標
特許ウォッチ
Twitter
他の特許を見る
10個以上の画像は省略されています。
公開番号
2025153102
公報種別
公開特許公報(A)
公開日
2025-10-10
出願番号
2024055395
出願日
2024-03-29
発明の名称
内視鏡
出願人
富士フイルム株式会社
代理人
個人
,
個人
,
個人
,
個人
,
個人
主分類
A61B
1/00 20060101AFI20251002BHJP(医学または獣医学;衛生学)
要約
【課題】先端部材に対する先端キャップの着脱が容易で且つ処置時における先端キャップの捲れ問題を解消することができる内視鏡を提供する。
【解決手段】X(+)方向側を向いた内側垂直面158と、Z(+)方向側を向いた上面156と、を有する突出部150を第1壁部32の端面110に設け、内側垂直面158及び上面156に係合する平面176と平面178を先端キャップ200に備える。
【選択図】図11
特許請求の範囲
【請求項1】
挿入部の先端部に設けられた先端部材と、
前記先端部材に装着される先端キャップと、
を備え、
前記先端部材の軸線方向を第1方向とし、前記第1方向に直交し互いに直交する2方向のうち一方の方向を第2方向とし且つ他方の方向を第3方向とした場合、
前記先端部材は、起立台が収容される起立台収容部と、前記起立台収容部の前記第2方向の一方側に配置され且つ観察窓及び照明窓を有する第1壁部と、を有し、
前記先端キャップは、前記第3方向の一方側に前記観察窓、前記照明窓、及び前記起立台収容部を露呈するキャップ開口部を有し、
前記第1壁部は、前記第1方向の一方側の端面に設けられた係合部を備え、
前記係合部は、前記第2方向の一方側とは反対の他方側を向いた第1係合面と、前記第3方向の一方側を向いた第2係合面と、を有し、
前記先端キャップは、前記第1係合面及び前記第2係合面に係合する被係合部を有する、
内視鏡。
続きを表示(約 1,000 文字)
【請求項2】
前記係合部は、前記端面から前記第1方向の一方側に突出した突出部である、
請求項1に記載の内視鏡。
【請求項3】
前記突出部は、前記第1係合面に接続され且つ前記第1係合面よりも前記第3方向の一方側を向いて傾斜した内側傾斜面を有する、
請求項2に記載の内視鏡。
【請求項4】
前記突出部は、
前記第1係合面及び前記第2係合面に接続され、前記第1方向の一方側を向いた先端面と、
前記第2係合面及び前記先端面に接続され、前記第2方向の一方側を向いた外周曲面と、
前記先端面よりも前記第3方向の他方側にフィレット面を介して配置され、前記第1方向の一方側と前記第3方向の他方側との双方を向いて傾斜した先端傾斜面と、
を有する、
請求項3に記載の内視鏡。
【請求項5】
前記第1壁部の前記端面は、前記突出部よりも前記第3方向の他方側の領域に、前記第1方向の一方側と前記第3方向の他方側との双方を向いて傾斜した傾斜壁面を有し、
前記先端キャップは、前記先端部材に装着された場合に前記傾斜壁面に当接可能な壁面当接面を有する、
請求項2に記載の内視鏡。
【請求項6】
前記第1壁部は、前記照明窓よりも前記第1方向の一方側に配置され、前記第3方向の一方側を向いたキャップ装着面を有し、
前記先端キャップが前記先端部材に装着された場合、前記キャップ装着面は前記先端キャップに覆われる、
請求項1から5のいずれか1項に記載の内視鏡。
【請求項7】
前記キャップ装着面は、前記照明窓の配置面よりも前記第3方向の他方側に配置される、
請求項6に記載の内視鏡。
【請求項8】
前記第2係合面は、前記キャップ装着面に対し前記第3方向の他方側に配置される、
請求項6に記載の内視鏡。
【請求項9】
前記先端部材は、前記起立台収容部の前記第2方向の他方側に配置された第2壁部を有し、
前記先端キャップは、前記第2壁部の一部を収容可能な収容部を有する、
請求項1から5のいずれか1項に記載の内視鏡。
【請求項10】
前記第2壁部は、前記第1方向の一方側に他の部分よりも薄肉に形成された薄肉部を有し、
前記収容部は、前記薄肉部を収容可能である、
請求項9に記載の内視鏡。
(【請求項11】以降は省略されています)
発明の詳細な説明
【技術分野】
【0001】
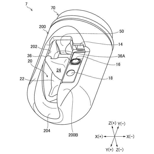
本発明は内視鏡に係り、特に挿入部の先端部材に先端キャップが装着される内視鏡に関する。
続きを表示(約 1,200 文字)
【背景技術】
【0002】
内視鏡では、操作部に設けられた処置具導入口から各種の処置具を導入し、この処置具を、挿入部の先端部に開口した処置具導出口から外部に導出して処置に用いる。例えば、十二指腸鏡では、造影チューブ又はガイドワイヤなどの処置具が使用される。また、超音波内視鏡では、穿刺針などの処置具が使用され、その他の直視鏡及び斜視鏡においては、鉗子又はスネアなどの処置具が使用される。
【0003】
このような処置具は、被検体内の所望の位置を処置するために挿入部の先端部において導出方向を変更する必要がある。このため、挿入部の先端部には、処置具の導出方向を変更する起立台が設けられる。また、内視鏡には処置具起立機構が設けられ、この処置具起立機構によって起立台の姿勢が起立位置と倒伏位置との間で変更される。
【0004】
一方、挿入部の先端部を構成する先端部材は、金属により構成されている。このため、先端部材には樹脂製の先端キャップが被せられる。この先端キャップは、処置後に行われる内視鏡の洗浄時に先端部材から取り外される。
【0005】
ここで、特許文献1には、先端部材の先端面にL字形状の係止凸部を設け、この係止凸を、先端カバーに形成された係止凹部にはめ込むことにより、先端カバーを先端部材に装着する内視鏡が開示されている。
【0006】
また、特許文献2には、先端部材に形成された係合溝に、先端カバーに形成された係止爪を係合させることにより、先端カバーを先端部材に装着する内視鏡が開示されている。
【先行技術文献】
【特許文献】
【0007】
特開平9-299315号公報
国際公開第19/116637号
【発明の概要】
【発明が解決しようとする課題】
【0008】
先端部材に先端キャップが装着される内視鏡は、内視鏡の処置時に先端キャップが体腔壁などに接触する。先端キャップが体腔壁に接触した状態で、挿入部を挿入操作したり、湾曲部を湾曲操作したりした場合、先端キャップ(特に先端キャップのキャップ先端部)が体腔壁から力を受けて先端部材から捲れてしまうという問題がある。
【0009】
上記の問題は、先端部材と先端キャップとの接続構造において、その固定力(嵌合力、係合力)を高めるように構成すればよいが、固定力を高める構造を採用した場合、先端部材に対する先端キャップの着脱を容易に行うことが困難になるという問題がある。
【0010】
本発明は、このような事情に鑑みてなされたもので、先端部材に対する先端キャップの着脱が容易で且つ処置時における先端キャップの捲れ問題を解消することができる内視鏡を提供することを目的とする。
【課題を解決するための手段】
(【0011】以降は省略されています)
特許ウォッチbot のツイートを見る
この特許をJ-PlatPat(特許庁公式サイト)で参照する
関連特許
富士フイルム株式会社
内視鏡
1日前
富士フイルム株式会社
内視鏡
1日前
富士フイルム株式会社
内視鏡
1日前
富士フイルム株式会社
内視鏡
1日前
富士フイルム株式会社
内視鏡
1日前
富士フイルム株式会社
システム
1日前
富士フイルム株式会社
塗布装置
1日前
富士フイルム株式会社
情報処理装置
2日前
富士フイルム株式会社
放射線撮影装置
1日前
富士フイルム株式会社
内視鏡補助具の操作装置
1日前
富士フイルム株式会社
異方導電性部材及び接合体
2日前
富士フイルム株式会社
超音波内視鏡及びシステム
1日前
富士フイルム株式会社
混合物、組成物、及び化合物
1日前
富士フイルム株式会社
感光性転写材料及びその製造方法
1日前
富士フイルム株式会社
フタロシアニン化合物の製造方法
1日前
富士フイルム株式会社
ウェブ切換装置及びウェブ切換方法
1日前
富士フイルム株式会社
医療支援装置、方法およびプログラム
1日前
富士フイルム株式会社
動作音抑制装置及びX線断層像撮影装置
2日前
富士フイルム株式会社
硬化物、積層体、及び、半導体デバイス
2日前
富士フイルム株式会社
硬化物、積層体、及び、半導体デバイス
2日前
富士フイルム株式会社
情報処理装置、情報処理方法、及びプログラム
1日前
富士フイルム株式会社
多層膜、光学部材、撮像機器および多層膜の製造方法
1日前
富士フイルム株式会社
医用画像撮影装置、及び医用画像撮影装置の制御方法
1日前
富士フイルム株式会社
画像表示装置、画像表示方法、及び画像表示プログラム
1日前
富士フイルム株式会社
情報処理装置、撮像装置、情報処理方法、及び情報処理プログラム
1日前
富士フイルム株式会社
情報処理装置、画像撮影システム、プログラム更新方法、及びプログラム更新プログラム
1日前
富士フイルム株式会社
不溶性担体を含む免疫学的測定試薬の製造方法、保存方法、測定対象物質の測定方法、および免疫学的測定試薬
1日前
富士フイルム株式会社
樹脂組成物、硬化物、積層体、硬化物の製造方法、積層体の製造方法、半導体デバイスの製造方法、及び、半導体デバイス
2日前
富士フイルム株式会社
感活性光線性又は感放射線性樹脂組成物、感活性光線性又は感放射線性膜、パターン形成方法、及び電子デバイスの製造方法
2日前
富士フイルム株式会社
ポリイミド前駆体又はポリアミドイミド前駆体の製造方法、硬化性樹脂組成物の製造方法、硬化性樹脂組成物、及びポリイミド前駆体又はポリアミドイミド前駆体
1日前
個人
健康器具
7か月前
個人
歯茎みが品
8か月前
個人
鼾防止用具
7か月前
個人
短下肢装具
2か月前
個人
嚥下鍛錬装置
3か月前
個人
脈波測定方法
7か月前
続きを見る
他の特許を見る