TOP
|
特許
|
意匠
|
商標
特許ウォッチ
Twitter
他の特許を見る
公開番号
2025154334
公報種別
公開特許公報(A)
公開日
2025-10-10
出願番号
2024057262
出願日
2024-03-29
発明の名称
感光性転写材料及びその製造方法
出願人
富士フイルム株式会社
代理人
弁理士法人太陽国際特許事務所
主分類
G03F
7/004 20060101AFI20251002BHJP(写真;映画;光波以外の波を使用する類似技術;電子写真;ホログラフイ)
要約
【課題】仮支持体剥離露光により得られるパターンのパターン形状に優れる感光性転写材料及びその製造方法の提供。
【解決手段】仮支持体、熱可塑性樹脂層、中間層、及び、感光性樹脂層をこの順で有し、上記仮支持体の上記熱可塑性樹脂層と接する面における高さ0.5μm以上10μm未満の突起の量が、1×10
2
個/mm
2
以上5×10
6
個/mm
2
未満であり、上記熱可塑性樹脂層が、共重合ポリエステル樹脂を含み、上記熱可塑性樹脂層の平均厚みが、1μm~10μmであり、上記熱可塑性樹脂層と上記中間層との剥離力が、50mN/cm以下である仮支持体剥離露光用の感光性転写材料及びその製造方法。
【選択図】図1
特許請求の範囲
【請求項1】
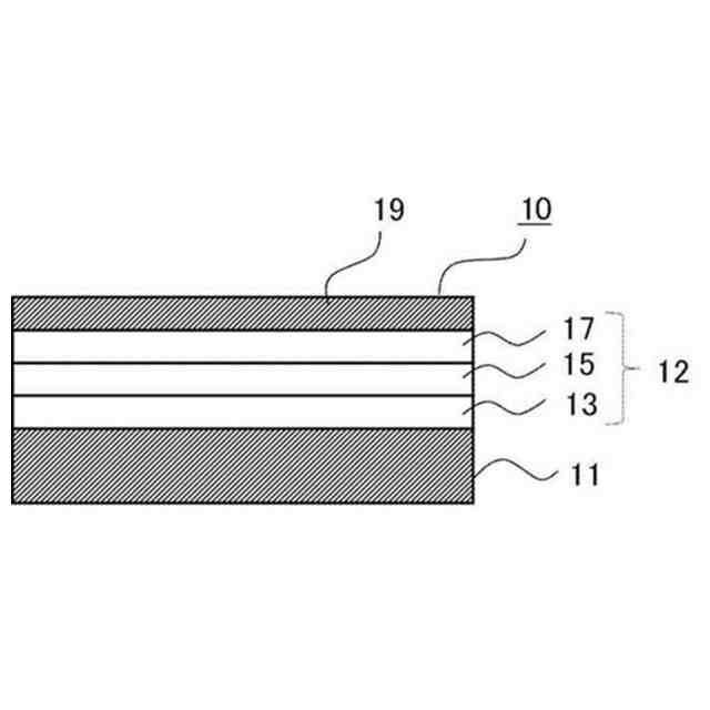
仮支持体、熱可塑性樹脂層、中間層、及び、感光性樹脂層をこの順で有し、
前記仮支持体の前記熱可塑性樹脂層と接する面における高さ0.5μm以上10μm未満の突起の量が、1×10
2
個/mm
2
以上5×10
6
個/mm
2
未満であり、
前記熱可塑性樹脂層が、共重合ポリエステル樹脂を含み、
前記熱可塑性樹脂層の平均厚みが、1μm~10μmであり、
前記熱可塑性樹脂層と前記中間層との剥離力が、50mN/cm以下である
仮支持体剥離露光用の感光性転写材料。
続きを表示(約 700 文字)
【請求項2】
前記熱可塑性樹脂層と前記中間層とが接している請求項1に記載の感光性転写材料。
【請求項3】
前記中間層が、水溶性樹脂を含む請求項1又は請求項2に記載の感光性転写材料。
【請求項4】
前記熱可塑性樹脂層の平均厚みが、1μm~5μmである請求項1又は請求項2に記載の感光性転写材料。
【請求項5】
前記共重合ポリエステル樹脂のガラス転移温度が、30℃以上80℃以下である請求項1又は請求項2に記載の感光性転写材料。
【請求項6】
前記熱可塑性樹脂層が、ケイ素原子を有する界面活性剤を含む請求項1又は請求項2に記載の感光性転写材料。
【請求項7】
前記中間層が、ケイ素原子を有する界面活性剤を含む請求項1又は請求項2に記載の感光性転写材料。
【請求項8】
前記熱可塑性樹脂層が、可塑剤を含む請求項1又は請求項2に記載の感光性転写材料。
【請求項9】
前記熱可塑性樹脂層が、ポリエステル系可塑剤を含む請求項1又は請求項2に記載の感光性転写材料。
【請求項10】
仮支持体の片面に、共重合ポリエステル樹脂を含有する熱可塑性樹脂層を塗布により1μm~10μmの膜厚で形成する工程と、
前記熱可塑性樹脂層の前記仮支持体と接する面と反対側の面に、前記中間層を塗布により形成する工程と、
前記中間層の前記熱可塑性樹脂層と接する面と反対側の面に、前記感光性樹脂層を塗布により形成する工程と、をこの順で含む請求項1又は請求項2に記載の感光性転写材料の製造方法。
発明の詳細な説明
【技術分野】
【0001】
本開示は、感光性転写材料及びその製造方法に関する。
続きを表示(約 1,900 文字)
【背景技術】
【0002】
所定のパターンを得るための工程数が少ないという理由から、感光性転写材料を用いて任意の基板上に感光性樹脂層を配置して、この感光性樹脂層に対してマスクを介して露光し、更に現像する方法が広く利用されている。
【0003】
従来の感光性転写材料としては、特許文献1~3に記載のものが挙げられる。
特許文献1には、支持体上に、クッション層と感光層とをこの順に有するパターン形成材料において、上記感光層が、増感剤として蛍光増白剤を含み、かつ、上記感光層を露光し現像する場合において、上記感光層の露光する部分の平均厚みを上記露光及び現像後において変化させない上記露光に用いる光の最小エネルギーが0.1~50mJ/cm
2
であることを特徴とするパターン形成材料が記載されている。
【0004】
特許文献2には、仮支持体と、上記仮支持体に接触する中間層と、感光層と、をこの順に含み、上記中間層から上記仮支持体を剥離した場合に露出した上記中間層の表面の粗さRaが、2nm以上である、転写材料が記載されている。
【0005】
特許文献3には、仮支持体と、50μm以下の平均厚みを有する転写層と、をこの順に含む、蒸着マスク製造用転写フィルムが記載されている。
【先行技術文献】
【特許文献】
【0006】
特開2007-178459号公報
国際公開第2022/138468号
特開2022-168819号公報
【発明の概要】
【発明が解決しようとする課題】
【0007】
本発明の一実施形態が解決しようとする課題は、仮支持体剥離露光により得られるパターンのパターン形状に優れる感光性転写材料及びその製造方法を提供することである。
【課題を解決するための手段】
【0008】
上記課題を解決するための手段には、以下の態様が含まれる。
<1> 仮支持体、熱可塑性樹脂層、中間層、及び、感光性樹脂層をこの順で有し、上記仮支持体の上記熱可塑性樹脂層と接する面における高さ0.5μm以上10μm未満の突起の量が、1×10
2
個/mm
2
以上5×10
6
個/mm
2
未満であり、上記熱可塑性樹脂層が、共重合ポリエステル樹脂を含み、上記熱可塑性樹脂層の平均厚みが、1μm~10μmであり、上記熱可塑性樹脂層と上記中間層との剥離力が、50mN/cm以下である仮支持体剥離露光用の感光性転写材料。
<2> 上記熱可塑性樹脂層と上記中間層とが接している<1>に記載の感光性転写材料。
<3> 上記中間層が、水溶性樹脂を含む<1>又は<2>に記載の感光性転写材料。
<4> 上記熱可塑性樹脂層の平均厚みが、1μm~5μmである<1>~<3>のいずれか1つに記載の感光性転写材料。
<5> 上記共重合ポリエステル樹脂のガラス転移温度が、30℃以上80℃以下である<1>~<4>のいずれか1つに記載の感光性転写材料。
<6> 上記熱可塑性樹脂層が、ケイ素原子を有する界面活性剤を含む<1>~<5>のいずれか1つに記載の感光性転写材料。
<7> 上記中間層が、ケイ素原子を有する界面活性剤を含む<1>~<6>のいずれか1つに記載の感光性転写材料。
<8> 上記熱可塑性樹脂層が、可塑剤を含む<1>~<7>のいずれか1つに記載の感光性転写材料。
<9> 上記熱可塑性樹脂層が、ポリエステル系可塑剤を含む<1>~<8>のいずれか1つに記載の感光性転写材料。
<10> 仮支持体の片面に、共重合ポリエステル樹脂を含有する熱可塑性樹脂層を塗布により1μm~10μmの膜厚で形成する工程と、上記熱可塑性樹脂層の上記仮支持体と接する面と反対側の面に、上記中間層を塗布により形成する工程と、上記中間層の上記熱可塑性樹脂層と接する面と反対側の面に、上記感光性樹脂層を塗布により形成する工程と、をこの順で含む<1>~<9>のいずれか1つに記載の感光性転写材料の製造方法。
【発明の効果】
【0009】
本発明の一実施形態によれば、仮支持体剥離露光により得られるパターンのパターン形状に優れる感光性転写材料及びその製造方法を提供することができる。
【図面の簡単な説明】
【0010】
本開示に係る感光性転写材料の構成の一例を示す概略図である。
【発明を実施するための形態】
(【0011】以降は省略されています)
この特許をJ-PlatPat(特許庁公式サイト)で参照する
関連特許
株式会社シグマ
絞りユニット
23日前
平和精機工業株式会社
雲台
1か月前
キヤノン株式会社
撮像装置
16日前
キヤノン株式会社
撮像装置
22日前
キヤノン株式会社
撮像装置
1か月前
日本精機株式会社
車両用投射装置
2日前
株式会社リコー
画像形成装置
12日前
株式会社リコー
画像形成装置
3か月前
株式会社リコー
画像形成装置
2か月前
株式会社リコー
画像形成装置
1か月前
株式会社リコー
画像形成装置
1か月前
株式会社リコー
画像形成装置
3か月前
株式会社リコー
画像形成装置
1か月前
株式会社リコー
画像形成装置
1か月前
キヤノン株式会社
画像形成装置
2か月前
キヤノン株式会社
画像形成装置
2か月前
キヤノン株式会社
画像形成装置
2か月前
株式会社オプトル
プロジェクタ
15日前
キヤノン株式会社
画像形成装置
2か月前
キヤノン株式会社
画像形成装置
2か月前
キヤノン株式会社
トナー
1か月前
キヤノン株式会社
画像形成装置
1か月前
キヤノン株式会社
トナー
3日前
ブラザー工業株式会社
再生方法
2か月前
キヤノン株式会社
トナー
8日前
キヤノン株式会社
画像形成装置
1か月前
株式会社オプトル
プロジェクタ
1か月前
キヤノン株式会社
トナー
3か月前
シャープ株式会社
画像形成装置
1か月前
キヤノン株式会社
画像形成装置
1か月前
トヨタ自動車株式会社
撮像方法
3か月前
キヤノン株式会社
トナー
3か月前
沖電気工業株式会社
画像形成装置
1か月前
アイホン株式会社
カメラシステム
2日前
興和株式会社
マウント構造
2か月前
キヤノン株式会社
現像装置
1日前
続きを見る
他の特許を見る