TOP
|
特許
|
意匠
|
商標
特許ウォッチ
Twitter
他の特許を見る
公開番号
2025150196
公報種別
公開特許公報(A)
公開日
2025-10-09
出願番号
2024050959
出願日
2024-03-27
発明の名称
膜電極構造体の製造方法
出願人
本田技研工業株式会社
代理人
弁理士法人桐朋
主分類
C25B
9/77 20210101AFI20251002BHJP(電気分解または電気泳動方法;そのための装置)
要約
【課題】水における電極と電解質の膨潤率の違いに起因して、膜電極構造体(特に、電解質膜)に皺が発生することを抑制できる、膜電極構造体の製造方法を提供する。
【解決手段】第1積層体提供工程S1aでは、イオン交換容量が所定値未満である第1アイオノマー原料71と第1電極44とを積層させた第1積層体70を提供する。第2積層体提供工程S1bでは、イオン交換容量が所定値以上である第2アイオノマー原料73と第2電極46とを積層させた第2積層体72を提供する。基材提供工程S1cでは、電解質基材74を提供する。膨潤工程S2では、第1積層体70、第2積層体72及び電解質基材74を膨潤させる。接合工程S3では、電解質基材74と第1積層体70の第1アイオノマー原料71とを接合するとともに、電解質基材74と第2積層体72の第2アイオノマー原料73とを接合する。
【選択図】図3
特許請求の範囲
【請求項1】
電解質膜と前記電解質膜の両側にそれぞれ積層された第1電極及び第2電極とを有する膜電極構造体を備え、前記第1電極に電解用の流体を供給し、前記第1電極と前記第2電極との間に電圧を印加し、前記第1電極で得られる第1ガスよりも高圧の第2ガスを前記第2電極で得る差圧式電解装置に用いられる前記膜電極構造体の製造方法であって、
所定温度、所定湿度雰囲気下での単位面積当たりのイオン交換容量が所定値未満である第1アイオノマー原料と、前記第1電極とを積層させた第1積層体を提供する第1積層体提供工程と、
前記所定温度、前記所定湿度雰囲気下での単位面積当たりのイオン交換容量が前記所定値以上である第2アイオノマー原料と、前記第2電極とを積層させた第2積層体を提供する第2積層体提供工程と、
互いに反対側の第1面及び第2面を有する電解質基材を提供する基材提供工程と、
前記第1積層体、前記第2積層体及び前記電解質基材を膨潤させる膨潤工程と、
前記膨潤工程の後に、前記電解質基材の前記第1面と前記第1積層体の前記第1アイオノマー原料とを接合するとともに、前記電解質基材の前記第2面と前記第2積層体の前記第2アイオノマー原料とを接合する接合工程と、を有する、膜電極構造体の製造方法。
続きを表示(約 380 文字)
【請求項2】
請求項1に記載の膜電極構造体の製造方法において、
前記第1電極と前記第1アイオノマー原料との積層方向における前記第1アイオノマー原料の厚みは、前記第2電極と前記第2アイオノマー原料との積層方向における前記第2アイオノマー原料の厚みと異なる、膜電極構造体の製造方法。
【請求項3】
請求項1又は2に記載の膜電極構造体の製造方法において、
前記第1積層体、前記第2積層体及び前記電解質基材の各々は、円形状であり、
前記第1積層体及び前記第2積層体の各々の直径は、前記電解質基材の直径よりも小さく、
前記接合工程において、前記電解質基材の外周縁部を保持する保持部材よりも内側で、前記第1積層体と前記電解質基材とを接合し、前記第2積層体と前記電解質基材とを接合する、膜電極構造体の製造方法。
発明の詳細な説明
【技術分野】
【0001】
本発明は、膜電極構造体の製造方法に関する。
続きを表示(約 2,100 文字)
【背景技術】
【0002】
近年、より多くの人々が手ごろで信頼できる持続可能且つ先進的なエネルギーへのアクセスを確保できるようにするため、エネルギーの効率化に貢献する電解スタックに関する技術開発が行われている。従来、積層された複数の電解セルからなる電解スタックを備えた電解装置は公知である。電解セルは、膜電極構造体を有する。膜電極構造体は、電解質膜を一対の電極で挟み込んだ構造である。電解セルとして、水を電解する水電解セル、水素(水素ガス)を電解する水素電解セル等がある。複数の水電解セルが積層された積層体を備える電解スタックは、水電解装置と称される場合がある。複数の水素電解セルが積層された積層体を備える電解スタックは、EHC(Electrochemical Hydrogen Compressor)と称される場合がある。例えば、特許文献1には、水電解セルを備える水電解装置が開示されている。
【先行技術文献】
【特許文献】
【0003】
特開2019-157212号公報
【発明の概要】
【発明が解決しようとする課題】
【0004】
例えば、水電解装置では、電解時に膜電極構造体が水を取り込んで膨潤するため、膜電極構造体の寸法変化が生じる。このため、水電解装置の組立完了時と使用時(電解時)とでは、膜電極構造体の状態が異なる。水電解装置の組立完了時の膜電極構造体の状態を、電解時と同じ状態にするために、電解スタックとして組み立てる前に膜電極構造体を水に漬けて膨潤させることが考えられる。
【0005】
しかしながら上述の方法では、電極と電解質膜とが水によって膨潤した際の膨潤率の違いによって、膜電極構造体(特に、電解質膜)に皺が発生することが懸念される。
【0006】
本発明は、上述した課題を解決することを目的とする。
【課題を解決するための手段】
【0007】
本開示の態様は、電解質膜と前記電解質膜の両側にそれぞれ積層された第1電極及び第2電極とを有する膜電極構造体を備え、前記第1電極に電解用の流体を供給し、前記第1電極と前記第2電極との間に電圧を印加し、前記第1電極で得られる第1ガスよりも高圧の第2ガスを前記第2電極で得る差圧式電解装置に用いられる前記膜電極構造体の製造方法であって、所定温度、所定湿度雰囲気下での単位面積当たりのイオン交換容量が所定値未満である第1アイオノマー原料と、前記第1電極とを積層させた第1積層体を提供する第1積層体提供工程と、前記所定温度、前記所定湿度雰囲気下での単位面積当たりのイオン交換容量が前記所定値以上である第2アイオノマー原料と、前記第2電極とを積層させた第2積層体を提供する第2積層体提供工程と、互いに反対側の第1面及び第2面を有する電解質基材を提供する基材提供工程と、前記第1積層体、前記第2積層体及び前記電解質基材を膨潤させる膨潤工程と、前記膨潤工程の後に、前記電解質基材の前記第1面と前記第1積層体の前記第1アイオノマー原料とを接合するとともに、前記電解質基材の前記第2面と前記第2積層体の前記第2アイオノマー原料とを接合する接合工程と、を有する、膜電極構造体の製造方法である。
【発明の効果】
【0008】
本発明によれば、第1積層体、第2積層体及び電解質基材を膨潤させた後に、第1積層体と電解質基材との接合と、第2積層体と電解質基材との接合を行うため、電解質膜における皺の発生を抑制することができる。また、この製造方法によって得られた膜電極構造体では、電解質膜のうち第2電極に隣接する部分(第2隣接部)のイオン交換容量が、電解質膜のうち第1電極に隣接する部分(第1隣接部)のイオン交換容量よりも大きい。このため、差圧式電解装置が水電解装置である場合に、電解質膜のうち高圧側である第2隣接部の乾燥を抑制することにより、電気分解の効率の低下や電気抵抗の増加に伴う電解質膜の劣化の進行を抑制できる。
【図面の簡単な説明】
【0009】
図1は、差圧式電解装置の斜視図である。
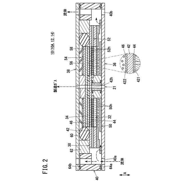
図2は、電解セルの断面図である。
図3は、本発明の実施形態に係る膜電極構造体の製造方法を説明する概略図である。
【発明を実施するための形態】
【0010】
図1に示すように、差圧式電解装置10は、セル積層体12を備える電解スタック10Aとして構成されている。電解スタック10Aは、全体として略円柱体形状を有しているが、立方体形状等の種々の形状に設定可能である。セル積層体12は、鉛直方向又は水平方向に積層された複数の電解セル14を有する。電解セル14は、水電解セルである。電解セル14は、水素電解セルであってもよい。以下の説明において、「積層方向」は、複数の電解セル14の積層方向(A方向)を意味する。
(【0011】以降は省略されています)
この特許をJ-PlatPat(特許庁公式サイト)で参照する
関連特許
本田技研工業株式会社
車両
3日前
本田技研工業株式会社
車両
3日前
本田技研工業株式会社
車両
2日前
本田技研工業株式会社
車両
2日前
本田技研工業株式会社
移動体
4日前
本田技研工業株式会社
飛行体
3日前
本田技研工業株式会社
除草装置
2日前
本田技研工業株式会社
電気部品
3日前
本田技研工業株式会社
収容装置
3日前
本田技研工業株式会社
内燃機関
2日前
本田技研工業株式会社
発電セル
2日前
本田技研工業株式会社
固体電池
2日前
本田技研工業株式会社
内燃機関
3日前
本田技研工業株式会社
電気機器
3日前
本田技研工業株式会社
排気装置
2日前
本田技研工業株式会社
清掃装置
3日前
本田技研工業株式会社
排気装置
2日前
本田技研工業株式会社
制御装置
2日前
本田技研工業株式会社
排気装置
2日前
本田技研工業株式会社
電気機器
3日前
本田技研工業株式会社
エンジン
3日前
本田技研工業株式会社
電気機器
4日前
本田技研工業株式会社
鞍乗型車両
2日前
本田技研工業株式会社
樹脂成型品
3日前
本田技研工業株式会社
リアクトル
2日前
本田技研工業株式会社
全固体電池
4日前
本田技研工業株式会社
鞍乗型車両
2日前
本田技研工業株式会社
鞍乗型車両
2日前
本田技研工業株式会社
電極積層体
2日前
本田技研工業株式会社
作業システム
3日前
本田技研工業株式会社
駆動システム
3日前
本田技研工業株式会社
車両制御装置
2日前
本田技研工業株式会社
遊戯システム
3日前
本田技研工業株式会社
鞍乗り型車両
3日前
本田技研工業株式会社
駆動システム
3日前
本田技研工業株式会社
電池製造装置
2日前
続きを見る
他の特許を見る