TOP
|
特許
|
意匠
|
商標
特許ウォッチ
Twitter
他の特許を見る
公開番号
2025145772
公報種別
公開特許公報(A)
公開日
2025-10-03
出願番号
2024046151
出願日
2024-03-22
発明の名称
有機分子メモリ
出願人
キオクシア株式会社
代理人
個人
,
個人
,
個人
主分類
H10B
99/00 20230101AFI20250926BHJP()
要約
【課題】大容量化の実現が可能な有機分子メモリを提供する。
【解決手段】実施形態の有機分子メモリは、第1の電極と、第2の電極と、第1の電極と第2の電極との間に設けられ、第1の電極から第2の電極に向かう第1の方向に延び、第1の分子と、第1の分子と第2の電極との間に設けられた第2の分子と、を含む有機分子層と、第2の分子と対向する第3の電極と、を備える。第1の分子及び第2の分子は、金属錯体又はフラーレン誘導体を含む。
【選択図】図3
特許請求の範囲
【請求項1】
第1の電極と、
第2の電極と、
前記第1の電極と前記第2の電極との間に設けられ、前記第1の電極から前記第2の電極に向かう第1の方向に延び、第1の分子と、前記第1の分子と前記第2の電極との間に設けられた第2の分子と、を含む有機分子層と、
前記第2の分子と対向する第3の電極と、
を備え、
前記第1の分子及び前記第2の分子は、金属錯体又はフラーレン誘導体を含む、有機分子メモリ。
続きを表示(約 1,000 文字)
【請求項2】
第4の電極を更に備え、
前記第1の電極は第1の部分を更に含み、
前記第2の電極は第2の部分を更に含み、
前記第1の方向と交差する方向において、前記第1の部分と前記第4の電極との間に前記第1の分子が設けられ、
前記第1の方向と交差する方向において、前記第2の部分と前記第3の電極との間に前記第2の分子が設けられる、請求項1記載の有機分子メモリ。
【請求項3】
前記第1の分子及び前記第2の分子は、縮退したエネルギー準位を含む、請求項1記載の有機分子メモリ。
【請求項4】
前記第1の分子及び前記第2の分子は、液晶分子である、請求項1記載の有機分子メモリ。
【請求項5】
前記第1の分子及び前記第2の分子は金属錯体であり、
前記第1の分子は構成原子が第1の面を形成する第1の環状構造を有し、
前記第2の分子は構成原子が第2の面を形成する第2の環状構造を有し、
前記第1の面と前記第2の面は、前記第1の方向において対向する、請求項1記載の有機分子メモリ。
【請求項6】
前記金属錯体は、側鎖を含むダブルデッカー型錯体である、請求項1記載の有機分子メモリ。
【請求項7】
前記ダブルデッカー型錯体は、2つのフタロシアニン骨格が積層され、ランタン(La)、セリウム(Ce)、プラセオジム(Pr)、ネオジム(Nd)、サマリウム(Sm)、ユウロピウム(Eu)、ガドリニウム(Gd)、テルビウム(Tb)、ジスプロシウム(Dy)、ホルミウム(Ho)、エルビウム(Er)、ツリウム(Tm)、イッテルビウム(Yb)、及び、ルテチウム(Lu)からなる群から選ばれる一つの希土類元素を含む、請求項6記載の有機分子メモリ。
【請求項8】
前記側鎖は、炭素数が3以上のアルキル鎖を含む、請求項6記載の有機分子メモリ。
【請求項9】
前記金属錯体は、側鎖を含むメタロセン誘導体、側鎖を含むメタロポルフィリン誘導体、又は側鎖を含むメタロフタロシアニン誘導体であり、鉄(Fe)、銅(Cu)、コバルト(Co)、チタン(Ti)、ニッケル(Ni)、亜鉛(Zn)、及びクロム(Cr)からなる群から選ばれる一つの金属元素を含む、請求項1記載の有機分子メモリ。
【請求項10】
前記側鎖は、炭素数が3以上のアルキル鎖を含む、請求項9記載の有機分子メモリ。
(【請求項11】以降は省略されています)
発明の詳細な説明
【技術分野】
【0001】
本発明の実施形態は、有機分子メモリに関する。
続きを表示(約 2,300 文字)
【背景技術】
【0002】
不揮発性メモリの大容量化を実現するために、例えば、メモリセルの微細化や、メモリセルアレイの3次元構造化が進められている。不揮発性メモリの更なる大容量化の実現が望まれる。
【先行技術文献】
【特許文献】
【0003】
特開2023-81627号公報
【発明の概要】
【発明が解決しようとする課題】
【0004】
本発明の一実施形態では、大容量化の実現が可能な有機分子メモリを提供する。
【課題を解決するための手段】
【0005】
実施形態の有機分子メモリは、第1の電極と、第2の電極と、前記第1の電極と前記第2の電極との間に設けられ、前記第1の電極から前記第2の電極に向かう第1の方向に延び、第1の分子と、前記第1の分子と前記第2の電極との間に設けられた第2の分子と、を含む有機分子層と、前記第2の分子と対向する第3の電極と、を備え、前記第1の分子及び前記第2の分子は、金属錯体又はフラーレン誘導体を含む。
【図面の簡単な説明】
【0006】
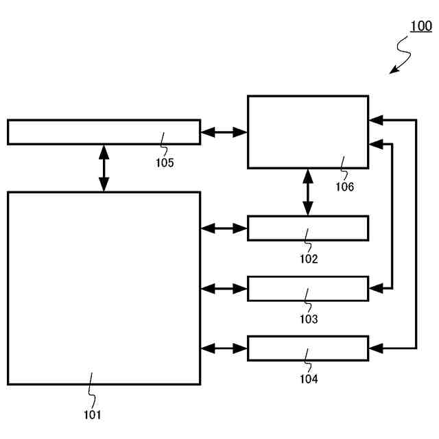
第1の実施形態の有機分子メモリのブロック図。
第1の実施形態の有機分子メモリのメモリセルアレイの等価回路図。
第1の実施形態の有機分子メモリの模式断面図。
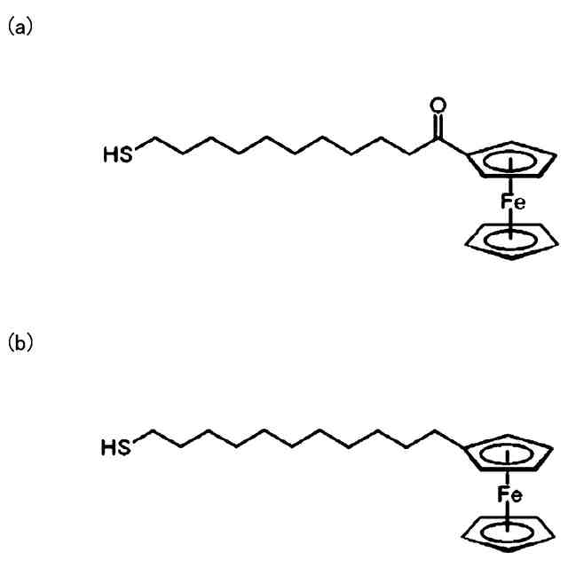
第1の実施形態の有機分子の一例を示す図。
第1の実施形態の有機分子の一例を示す図。
第1の実施形態の有機分子の一例を示す図。
第1の実施形態の有機分子の一例を示す図。
第1の実施形態の有機分子の一例を示す図。
第1の実施形態の有機分子の一例を示す図。
第1の実施形態の有機分子の一例を示す図。
第1の実施形態の有機分子の説明図。
第1の実施形態の有機分子の一例を示す図。
第1の実施形態の有機分子の一例を示す図。
第1の実施形態の有機分子の一例を示す図。
第1の実施形態の有機分子の一例を示す図。
第1の実施形態の有機分子の一例を示す図。
第1の実施形態の有機分子の説明図。
第1の実施形態の有機分子メモリの動作の説明図。
第1の実施形態の有機分子メモリの動作の説明図。
第1の実施形態の有機分子メモリの動作の説明図。
第1の実施形態の有機分子メモリの動作の説明図。
第1の実施形態の有機分子メモリの動作の説明図。
第1の実施形態の有機分子メモリの動作の説明図。
第1の実施形態の有機分子メモリの動作の説明図。
第1の実施形態の有機分子メモリの動作の説明図。
第1の実施形態の有機分子メモリの動作の説明図。
第1の実施形態の有機分子メモリの動作の説明図。
第1の実施形態の有機分子メモリの動作の説明図。
第1の実施形態の有機分子メモリの動作の説明図。
第1の実施形態の有機分子メモリの動作の説明図。
第1の実施形態の変形例の有機分子メモリの模式断面図。
第2の実施形態の有機分子メモリのメモリセルアレイの等価回路図。
第2の実施形態の有機分子メモリの模式断面図。
第2の実施形態の有機分子メモリの動作の説明図。
第2の実施形態の有機分子メモリの動作の説明図。
第2の実施形態の有機分子メモリの動作の説明図。
第2の実施形態の有機分子メモリの動作の説明図。
第2の実施形態の有機分子メモリの動作の説明図。
第2の実施形態の有機分子メモリの動作の説明図。
第2の実施形態の有機分子メモリの動作の説明図。
第2の実施形態の有機分子メモリの動作の説明図。
【発明を実施するための形態】
【0007】
以下、図面を参照しつつ実施形態を説明する。なお、以下の説明では、同一又は類似の部材などには同一の符号を付し、一度説明した部材などについては適宜その説明を省略する。
【0008】
実施形態の有機分子メモリを構成する部材の同定には、例えば、二次イオン質量分析法(Secondary Ion Mass Spectroscopy:SIMS)、エネルギー分散型X線分光法(Energy Dispersive X-ray Spectroscopy:EDX)、X線回折分析(X-ray Diffraction: XRD)、電子線回折分析(Electron Beam Diffraction: EBD)、X線光電分光分析(X-ray Photoelectron Spectroscopy:XPS)、放射光X線散乱解析(Synchrotron Radiation X-ray Absorption Fine Structure:XAFS)、液体クロマトグラフィー法、ガスクロマトグラフィ法、又は、イオンクロマトグラフィ法を用いることが可能である。
【0009】
また、実施形態の有機分子メモリを構成する部材の厚さ、部材間の距離等の測定には、例えば、透過型電子顕微鏡(Transmission Electron Microscope:TEM)を用いることが可能である。
【0010】
また、有機分子の分子構造は、例えば、原子間力顕微鏡(AFM)、又は、走査型トンネル顕微鏡(STM)を用いて同定することが可能である。
(【0011】以降は省略されています)
この特許をJ-PlatPat(特許庁公式サイト)で参照する
関連特許
キオクシア株式会社
記憶装置
8日前
キオクシア株式会社
記憶装置
4日前
キオクシア株式会社
記憶装置
6日前
キオクシア株式会社
記憶装置
12日前
キオクシア株式会社
記憶装置
6日前
キオクシア株式会社
半導体装置
6日前
キオクシア株式会社
半導体装置
4日前
キオクシア株式会社
半導体装置
12日前
キオクシア株式会社
半導体装置
5日前
キオクシア株式会社
半導体装置
5日前
キオクシア株式会社
磁気記憶装置
6日前
キオクシア株式会社
通信システム
6日前
キオクシア株式会社
磁気記憶装置
6日前
キオクシア株式会社
磁気記憶装置
5日前
キオクシア株式会社
基板ユニット
8日前
キオクシア株式会社
磁気記憶装置
8日前
キオクシア株式会社
磁気記憶装置
8日前
キオクシア株式会社
半導体記憶装置
4日前
キオクシア株式会社
半導体記憶装置
6日前
キオクシア株式会社
半導体記憶装置
8日前
キオクシア株式会社
半導体記憶装置
6日前
キオクシア株式会社
半導体記憶装置
5日前
キオクシア株式会社
メモリシステム
5日前
キオクシア株式会社
半導体記憶装置
4日前
キオクシア株式会社
半導体記憶装置
8日前
キオクシア株式会社
半導体記憶装置
8日前
キオクシア株式会社
半導体記憶装置
6日前
キオクシア株式会社
半導体記憶装置
8日前
キオクシア株式会社
半導体記憶装置
5日前
キオクシア株式会社
半導体記憶装置
4日前
キオクシア株式会社
メモリシステム
4日前
キオクシア株式会社
半導体記憶装置
18日前
キオクシア株式会社
メモリデバイス
4日前
キオクシア株式会社
有機分子メモリ
4日前
キオクシア株式会社
半導体記憶装置
4日前
キオクシア株式会社
半導体記憶装置
4日前
続きを見る
他の特許を見る