TOP
|
特許
|
意匠
|
商標
特許ウォッチ
Twitter
他の特許を見る
公開番号
2025144927
公報種別
公開特許公報(A)
公開日
2025-10-03
出願番号
2024044849
出願日
2024-03-21
発明の名称
半導体装置
出願人
サンケン電気株式会社
代理人
個人
,
個人
主分類
H10D
12/00 20250101AFI20250926BHJP()
要約
【課題】高い信頼性で高耐圧化が図れる半導体装置を得る。
【解決手段】第1導電型の第1半導体領域11と、第1半導体領域11上に第1導電型の逆の第2導電型の第2半導体領域12を有する半導体基板10において、平面視において、半導体素子が形成された素子領域と、当該素子領域よりも前記半導体基板の端部側の終端領域と、が形成された半導体装置であって、終端領域に、上面側から第2半導体領域12を貫通し第1半導体領域11に達するように形成され、浮遊状態の導電層が内部に形成され、平面視において並行に形成された複数の溝構造T2を具備し、半導体基板10における複数の溝構造T2の底部に、第1半導体領域11よりも不純物濃度が高い第1導電型の第3半導体領域41が設けられた。
【選択図】図1
特許請求の範囲
【請求項1】
第1導電型の第1半導体領域と、前記第1半導体領域上に前記第1導電型の逆の第2導電型の第2半導体領域を有する半導体基板において、平面視において、半導体素子が形成された素子領域と、当該素子領域よりも前記半導体基板の端部側の終端領域と、が形成された半導体装置であって、
前記終端領域に、
上面側から前記第2半導体領域を貫通し前記第1半導体領域に達するように形成され、浮遊状態の導電層が内部に形成され、平面視において並行に形成された複数の溝構造を具備し、
前記半導体基板における複数の前記溝構造の底部に、前記第1半導体領域よりも不純物濃度が高い第1導電型の第3半導体領域が設けられたことを特徴とする半導体装置。
続きを表示(約 1,100 文字)
【請求項2】
平面視において、前記第3半導体領域は、前記素子領域を囲むように環状に形成されたことを特徴とする請求項1に記載の半導体装置。
【請求項3】
前記第3半導体領域は、複数の前記溝構造のうち前記端部側に位置する前記溝構造の底部には設けられていないことを特徴とする請求項1に記載の半導体装置。
【請求項4】
前記第3半導体領域は、複数の前記溝構造のうち前記素子領域側に位置する前記溝構造の底部には設けられていないことを特徴とする請求項1に記載の半導体装置。
【請求項5】
第1導電型の第1半導体領域と、前記第1半導体領域上に前記第1導電型の逆の第2導電型の第2半導体領域を有する半導体基板において、平面視において、半導体素子が形成された素子領域と、当該素子領域よりも前記半導体基板の端部側の終端領域と、が形成された半導体装置であって、
前記終端領域に、
上面側から前記第2半導体領域を貫通し前記第1半導体領域に達するように形成され、浮遊状態の導電層が内部に形成され、平面視において並行に形成された複数の溝構造を具備し、
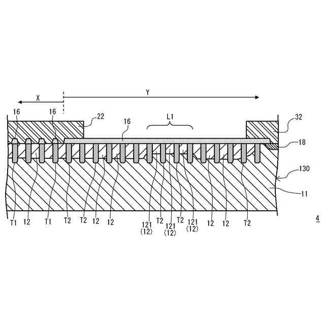
前記素子領域側において隣接して設けられた前記溝構造間の前記第2半導体領域、及び前記端部側で隣接して設けられた前記溝構造間の前記第2半導体領域の深さよりも、当該素子領域側と当該端部側の間において隣接して設けられた前記溝構造間の前記第2半導体領域の深さが浅く形成された浅接合領域が設けられたことを特徴とする半導体装置。
【請求項6】
前記浅接合領域は隣り合う少なくとも3つ以上の前記溝構造間に形成されたことを特徴とする請求項5に記載の半導体装置。
【請求項7】
平面視において、前記浅接合領域は、前記素子領域を囲む環状に形成されたことを特徴とする請求項5に記載の半導体装置。
【請求項8】
平面視における複数の前記溝構造よりも前記端部側において、前記第1半導体領域と電気的に接続された終端電極を具備することを特徴とする請求項1又は5に記載の半導体装置。
【請求項9】
前記終端電極は前記素子領域側で絶縁層を介して前記第1半導体領域と対向するフィールドプレート部を備え、
前記フィールドプレート部は前記端部側の前記溝構造の上方まで延伸していないことを特徴とする請求項8に記載の半導体装置。
【請求項10】
隣接する2つの前記溝構造の間隔は、前記端部側よりも前記素子領域側で広いことを特徴とする請求項1から請求項9までのいずれか1項に記載の半導体装置。
発明の詳細な説明
【技術分野】
【0001】
本発明は、パワー半導体素子のチップの終端側において電界強度が局所的に高まることを抑制する終端領域を有する半導体装置の構造に関する。
続きを表示(約 2,500 文字)
【背景技術】
【0002】
スイッチング素子の耐圧を高めるために、スイッチング素子が形成された領域(素子領域)の外側を囲むように、電界強度が局所的に高まることを抑制するための構造が設けられた終端領域が設けられる。
【0003】
スイッチング素子として、例えばトレンチ型(トレンチ内のゲート電極の電位によってオン・オフが制御される)IGBT(絶縁ゲート型バイポーラトランジスタ)等が用いられる場合においては、終端領域内の構造も、同様のトレンチ構造を用いることが、製造工程を簡略化するために好ましい。特許文献1、2には、このような終端領域を有する半導体装置が記載されている。
【0004】
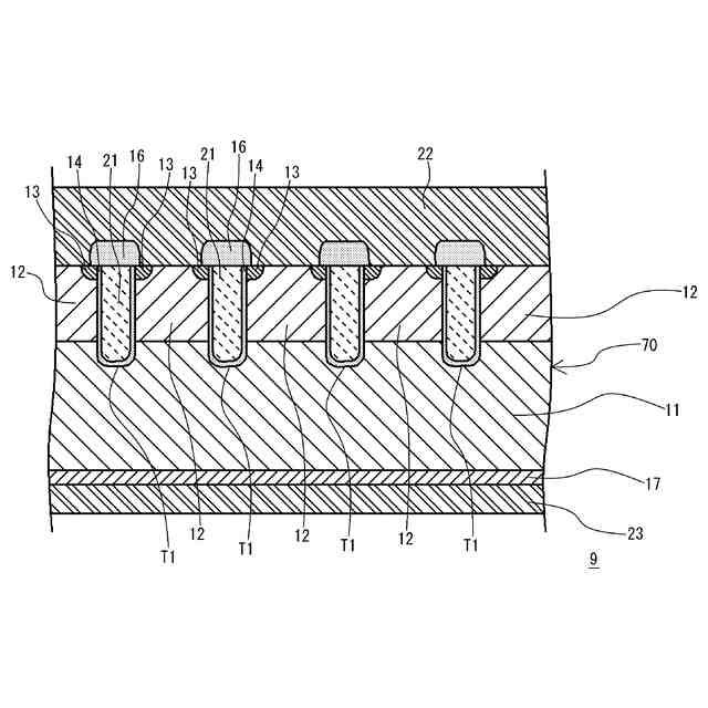
図9は、この半導体装置9における素子領域の一部分における断面図であり、図10は、終端領域の一部分における断面図である。素子領域(図9)においては、半導体基板70に、IGBTにおけるドリフト層となる厚いn
-
層(n型(第1導電型)の第1半導体領域)11上において、ベース領域となるp層(p型(第2導電型)の第2半導体領域)12が形成されている。半導体基板70の表面側には、紙面の上下方向に沿って表面からp層12を貫通してn
-
層11に達する溝構造(トレンチ構造)T1が紙面垂直方向に延伸して形成されており、トレンチ構造T1の両側面に隣接してエミッタ領域となるn
+
層13が局所的に形成されている。溝構造T1の内側には、薄い酸化膜(ゲート絶縁膜)14が形成された上で、多結晶シリコンで構成された導電層であるゲート電極21が溝構造T1を埋め込むように形成されている。また、溝構造T1の上側には、溝構造T1を上側で封止するように層間絶縁層16が局所的に形成されている。半導体基板70の表面にエミッタ電極22が形成され、層間絶縁層16間でエミッタ電極22はn
+
層13とp層12と電気的に接続され、エミッタ電極22はゲート電極21とは離間している。
【0005】
また、n
-
層11の裏面側(図9における下側)には、コレクタ層となるp
+
層17が形成され、p
+
層17にはコレクタ電極23が形成されている。また、全ての溝構造T1中のゲート電極21は図示の範囲外で接続され、制御電圧が印加される。この構造によって、ゲート電極21、エミッタ電極22、コレクタ電極23の電位が与えられることによってIGBTは動作する。図9において溝構造T1は4つのみ記載されているが、実際にはより多くの溝構造T1が同様に多数並行に形成されている。
【0006】
図10に示された終端領域の構造は、実際には図9に示された素子領域の外側に設けられる。図10においても、共通の半導体基板70が用いられ、同様にn
-
層(n型の第1半導体領域)11、p層12等が設けられ、溝構造T2が複数並行に形成される。ここでは、素子領域、終端領域において共通のp層12が設けられているが、実際にはp層12の不純物濃度等は素子領域と終端領域で異なっていてもよい。この溝構造T2の内部には素子領域と同様に酸化膜14が形成され、前記のゲート電極21と同様の多結晶シリコンで構成された導電層も同様に形成されるが、ここで形成される導電層は周囲から絶縁され、ゲート電極21とも電気的に接続されず、かつ各溝構造T2毎に電気的に独立した疑似ゲート電極31(浮遊状態の導電層)とされる。また、溝構造T2の側面にはエミッタ領域(n
+
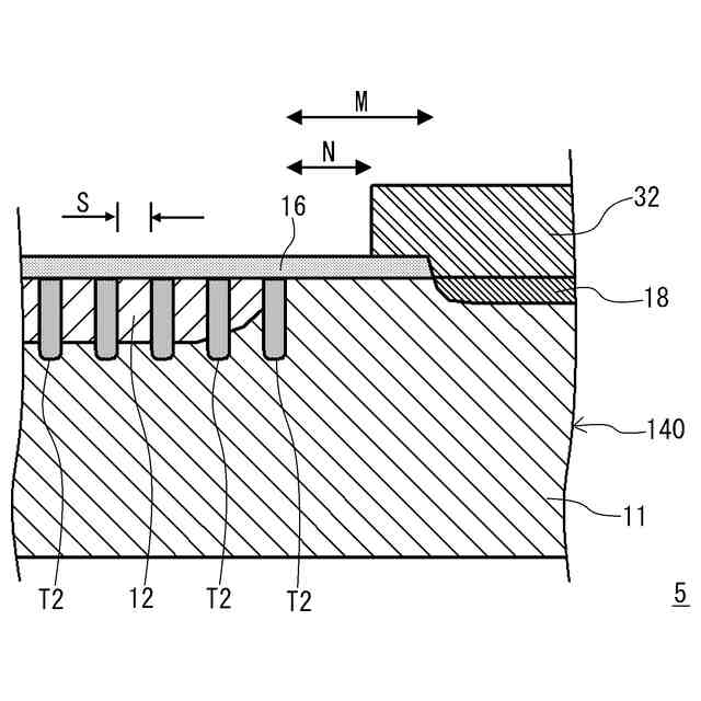
層13)に対応する層は形成されていない。また、終端領域においては、素子領域とは異なり、層間絶縁層16は、複数の溝構造T2間の半導体領域上部も覆うように形成されている。図10において溝構造T2は5つのみが記載されているが、実際にはより多くの溝構造T2が左側の図示の範囲外においても配列されている。
【0007】
また、終端領域の溝構造T2よりも終端側(図10における右側)には、n
-
層11の表面に局所的に形成されたn
+
層18を介して終端電極32が接続される。
【0008】
半導体装置9のn
-
層11とp層12との間に逆バイアスを印加すると、図10の構造において図11に模式的に示すように容量が生じる。ここで、p層12とその直下のn
-
層11の間の空乏層の広がりにより生じる容量をC1、溝構造T2内の疑似ゲート電極31とその下側のn
-
層11の間の空乏層の広がりにより生じる容量をC2、疑似ゲート電極31とその左側、右側のp層12の間の空乏層の広がりにより生じる容量をC3、C4とする。これらの容量接合により、素子領域Xから半導体基板70の端部(終端電極32)までの間の各地点の電位は容量接続により電圧分配され、局所的に電界(電位勾配)が大きくなる領域が生じることが抑制される。
【先行技術文献】
【特許文献】
【0009】
特開平9-283754号公報
特許第5315638号
【発明の概要】
【発明が解決しようとする課題】
【0010】
半導体基板70表面やその上の保護膜に可動イオンがトラップされることがある。疑似ゲート電極31の電位は固定されていないので、この可動イオンの電荷は疑似ゲート電極31の電位に影響を及ぼし、n
-
層11の溝構造T2の底部と接する領域が逆導電型(p型)へと反転する問題があった。反転した領域が溝構造T2と接する両側のp層12と繋がると、疑似ゲート電極31とp層12との間の容量C2、C3が生じなくなり、良好に電圧分配できなくなった。
(【0011】以降は省略されています)
この特許をJ-PlatPat(特許庁公式サイト)で参照する
関連特許
エイブリック株式会社
半導体装置
3日前
エイブリック株式会社
半導体装置
1か月前
富士電機株式会社
半導体装置
24日前
富士電機株式会社
半導体装置
6日前
国立大学法人 和歌山大学
光検出器
1か月前
三菱電機株式会社
半導体装置
1か月前
AGC株式会社
太陽電池モジュール
9日前
株式会社半導体エネルギー研究所
半導体装置
1か月前
日亜化学工業株式会社
発光装置
24日前
株式会社半導体エネルギー研究所
半導体装置
25日前
ミツミ電機株式会社
半導体装置
3日前
キヤノン株式会社
有機発光素子
16日前
株式会社半導体エネルギー研究所
半導体装置
1か月前
日亜化学工業株式会社
発光素子
4日前
住友電気工業株式会社
半導体装置
16日前
TDK株式会社
光検知装置
3日前
デクセリアルズ株式会社
受光装置
2日前
サンケン電気株式会社
半導体装置
2日前
ローム株式会社
TVSダイオード
4日前
ローム株式会社
TVSダイオード
4日前
ローム株式会社
半導体装置
4日前
住友電気工業株式会社
半導体装置
16日前
ローム株式会社
窒化物半導体装置
24日前
株式会社半導体エネルギー研究所
発光デバイス
1か月前
株式会社東芝
熱電変換装置
4日前
ローム株式会社
窒化物半導体装置
1か月前
個人
半導体装置
26日前
株式会社カネカ
太陽電池モジュール
4日前
日亜化学工業株式会社
発光素子
27日前
キオクシア株式会社
記憶装置
2日前
株式会社カネカ
太陽光発電システム
25日前
三菱電機株式会社
半導体装置
10日前
内山工業株式会社
太陽電池
2日前
キオクシア株式会社
磁気メモリ
1か月前
キオクシア株式会社
半導体装置
10日前
国立大学法人東京科学大学
半導体装置
25日前
続きを見る
他の特許を見る