TOP
|
特許
|
意匠
|
商標
特許ウォッチ
Twitter
他の特許を見る
公開番号
2025144661
公報種別
公開特許公報(A)
公開日
2025-10-03
出願番号
2024044424
出願日
2024-03-21
発明の名称
太陽電池
出願人
内山工業株式会社
代理人
協明国際弁理士法人
主分類
H10F
19/80 20250101AFI20250926BHJP()
要約
【課題】ガラス板を用い高い発電効率を図ったものでありながら、可撓性を備えた太陽電池を提供する。
【解決手段】 太陽光発電層12と、前記太陽光発電層の受光側に積層して設けられる受光側板体層11aとを有する太陽電池体10を複数備えた可撓性を有する太陽電池1であって、前記太陽電池体と前記太陽電池体とは、間隔を空けた隙間部15を備えて配置されるとともに、その厚み方向両側は保護層13で封止されており、前記受光側板体層は、板厚が0.1mm以下のガラス板である。
【選択図】図1
特許請求の範囲
【請求項1】
太陽光発電層と、前記太陽光発電層の受光側に積層して設けられる受光側板体層とを有する太陽電池体を複数備えた可撓性を有する太陽電池であって、
前記太陽電池体と前記太陽電池体とは、間隔を空けた隙間部を備えて配置されるとともに、その厚み方向両側は保護層で封止されており、
前記受光側板体層は、板厚が0.1mm以下のガラス板であることを特徴とする太陽電池。
続きを表示(約 290 文字)
【請求項2】
請求項1において、
前記太陽光発電層と前記受光側板体層との間に生じる層間隙間及び前記隙間部は、透明で弾性を有するエラストマーによって封止されていることを特徴とする太陽電池。
【請求項3】
請求項1または請求項2において、
前記太陽光発電層の設置面側に積層される設置側板体層は、板厚が0.1mm以下のガラス板であることを特徴とする太陽電池。
【請求項4】
請求項1または請求項2において、
前記太陽光発電層の設置面側に積層される設置側板体層は、可撓性を有する樹脂製板材であることを特徴とする太陽電池。
発明の詳細な説明
【技術分野】
【0001】
本発明は、可撓性を有する太陽電池に関する。
続きを表示(約 2,000 文字)
【背景技術】
【0002】
従来のこの種の太陽電池において、可撓性・意匠性を備えたものとするため、下記特許文献1には、太陽電池素子に積層される第一封止層として所定の貯蔵弾性率を有した樹脂フィルムを用いることが開示されている。また下記特許文献2には、太陽電池モジュールの封止材として用いることができる樹脂シートとガラス層とを有する積層体が開示されており、透明性の向上を図るため、樹脂シートにエチレンアイオノマーを主成分とする樹脂組成物からなるものを使うことが記載されている。
【先行技術文献】
【特許文献】
【0003】
特開2016-189466号公報
特開2016-188158号公報
【発明の概要】
【発明が解決しようとする課題】
【0004】
近年は、上記特許文献1に開示されているような曲面にも設置できるフレキシブルな太陽電池が求められているが、この場合は太陽電池素子を樹脂フィルムで封止するため、樹脂フィルムの酸素透過率、水蒸気透過率を如何にして低くするかが課題となる。すなわち、太陽電池の発電効率を向上させるためには、酸素や水蒸気の透過を完全に遮断することが理想であるが、ガラス板並みの透過率を樹脂フィルムに求めることは非常に困難である。上記特許文献2には、太陽電池モジュールの封止材としてではガラス層を用いることが開示されているが、可撓性を備えたものではなく、封止材としてガラス板を用いる場合、非常に薄いガラス板であっても曲げるとクラックが生じてしまう点が課題となる。
【0005】
本発明は、このような事情を考慮して提案されたもので、その目的は、ガラス板を用い高い発電効率を図ったものでありながら、可撓性を備えた太陽電池を提供することにある。
【課題を解決するための手段】
【0006】
前記目的を達成するために、本発明の太陽電池は、太陽光発電層と、前記太陽光発電層の受光側に積層して設けられる受光側板体層とを有する太陽電池体を複数備えた可撓性を有する太陽電池であって、前記太陽電池体と前記太陽電池体とは、間隔を空けた隙間部を備えて配置されるとともに、その厚み方向両側は保護層で封止されており、前記受光側板体層は、板厚が0.1mm以下のガラス板である。
【0007】
上記構成において、前記太陽光発電層と前記受光側板体層との間に生じる層間隙間及び前記隙間部は、透明で弾性を有するエラストマーによって封止されていてもよい。また上記構成において、前記太陽光発電層の設置面側に積層される設置側板体層は、板厚が0.1mm以下のガラス板であってもよい。さらに上記構成において、前記太陽光発電層の設置面側に積層される設置側板体層は、アクリル板であってもよい。
【発明の効果】
【0008】
本発明の太陽電池は前述した構成とされているため、ガラス板を用い高い発電効率を図ったものでありながら、可撓性を備えたものとすることができる。
【図面の簡単な説明】
【0009】
本発明の一実施形態に係る太陽電池を模式的に示した縦断面図である。
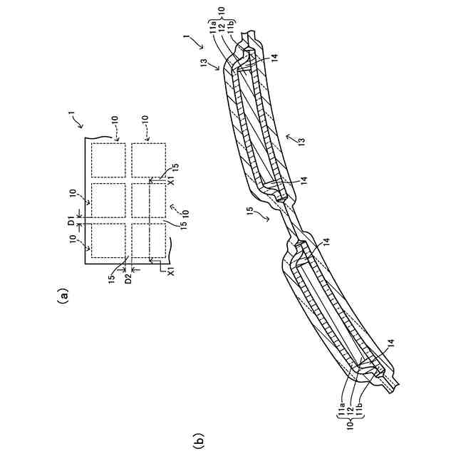
(a)は同太陽電池の一例を模式的に示した平面図、(b)は同太陽電池を曲げた状態を模式的に示したX1-X1線断面図である。
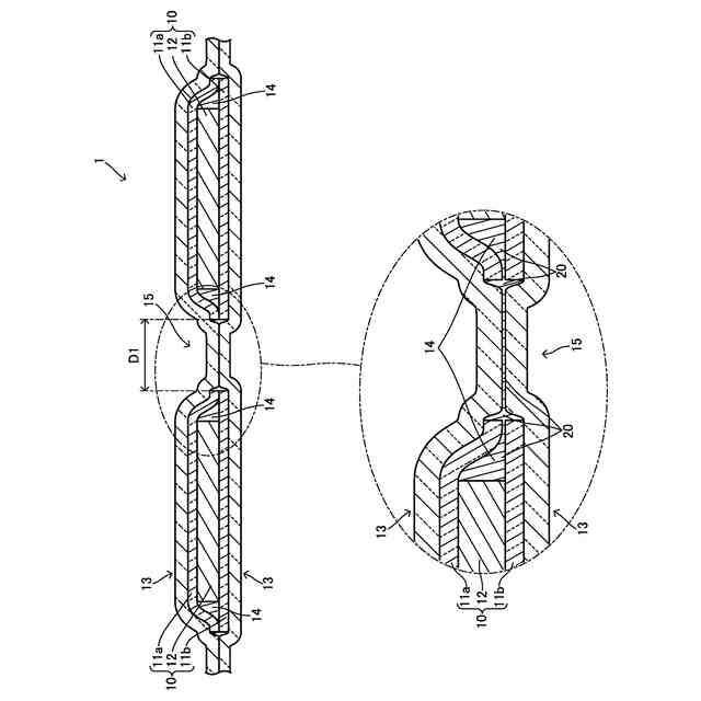
(a)~(c)は同太陽電池を構成する太陽電池体の例を説明するため、層構造を模式的に示した図である。
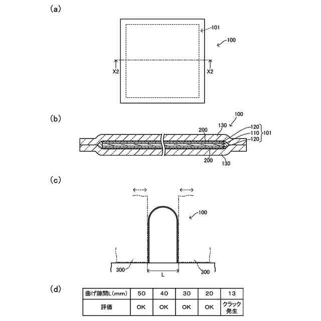
(a)~(c)は、発明者が行った曲げ評価試験を説明するための図であり、(a)は試験用のシート体の平面図、(b)は(a)のX2―X2線断面図、(c)は曲げ試験の状況を説明するための図である。(d)は評価試験の結果を説明するための表である。
(a)~(c)は、発明者が行った曲げ評価試験を説明するための図であり、(a)は試験用のシート体の平面図、(b)は(a)のX3―X3線断面図、(c)は曲げ試験の状況を説明するための図である。(d)は評価試験の試験結果を説明するための表である。
【発明を実施するための形態】
【0010】
以下に、本発明の実施の形態について、添付図面を参照しながら説明する。
本実施形態に係る太陽電池1(モジュール)は、太陽光発電層12と、太陽光発電層12の受光側に積層して設けられる受光側板体層11aとを有する太陽電池体10(セル)を複数備えた可撓性を有するものである。太陽電池体10と太陽電池体10とは、間隔を空けた隙間部15を備えて配置されるとともに、その厚み方向両側は保護層13で封止されており、受光側板体層11aは、板厚が0.1mm以下のガラス板が用いられる。以下、詳しく説明する。
(【0011】以降は省略されています)
この特許をJ-PlatPat(特許庁公式サイト)で参照する
関連特許
内山工業株式会社
日用品
28日前
内山工業株式会社
太陽電池
5日前
内山工業株式会社
密封装置
19日前
内山工業株式会社
密封装置
1か月前
内山工業株式会社
密封装置
1か月前
内山工業株式会社
製造装置および製造方法
1か月前
内山工業株式会社
シール構造及びガスケット
今日
内山工業株式会社
太陽電池及びその製造方法
1か月前
内山工業株式会社
密封装置及び密封装置の製造方法
13日前
内山工業株式会社
キャップ取付方法及び軸受キャップ
5日前
内山工業株式会社
ガスケット及びこれが組付けられたシール構造
1か月前
内山工業株式会社
電池シール材用シリコーンゴム組成物および電池シール材
1か月前
個人
半導体装置
今日
東レ株式会社
太陽電池モジュール
今日
エイブリック株式会社
半導体装置
6日前
エイブリック株式会社
半導体装置
1か月前
富士電機株式会社
半導体装置
27日前
富士電機株式会社
半導体装置
9日前
ローム株式会社
半導体装置
1日前
AGC株式会社
太陽電池モジュール
12日前
三菱電機株式会社
半導体装置
1か月前
国立大学法人 和歌山大学
光検出器
1か月前
日亜化学工業株式会社
発光素子
7日前
日亜化学工業株式会社
発光装置
27日前
株式会社半導体エネルギー研究所
半導体装置
28日前
株式会社半導体エネルギー研究所
半導体装置
1か月前
キヤノン株式会社
有機発光素子
19日前
株式会社半導体エネルギー研究所
半導体装置
1か月前
ミツミ電機株式会社
半導体装置
6日前
ローム株式会社
窒化物半導体装置
27日前
ローム株式会社
半導体装置
7日前
株式会社東芝
熱電変換装置
7日前
株式会社半導体エネルギー研究所
発光デバイス
1か月前
住友電気工業株式会社
半導体装置
19日前
ローム株式会社
TVSダイオード
7日前
TDK株式会社
光検知装置
6日前
続きを見る
他の特許を見る