TOP
|
特許
|
意匠
|
商標
特許ウォッチ
Twitter
他の特許を見る
公開番号
2025151927
公報種別
公開特許公報(A)
公開日
2025-10-09
出願番号
2024053563
出願日
2024-03-28
発明の名称
情報処理装置、情報処理方法及びプログラム
出願人
大日本印刷株式会社
代理人
弁理士法人鷲田国際特許事務所
主分類
G06F
40/56 20200101AFI20251002BHJP(計算;計数)
要約
【課題】生成モデルを利用して文書データの記載内容の類似度を効率的に判定するための技術を提供することである。
【解決手段】本開示の一態様は、第1の文書データと第2の文書データとを取得する取得部と、前記第1の文書データ内の第1の文章と前記第2の文書データ内の第2の文章との類似度を判定させるためのプロンプトデータを生成するプロンプト生成部と、前記プロンプトデータを生成モデルに入力し、前記生成モデルからの出力結果に基づいて前記第1の文章と前記第2の文章との類似度を判定する類似度判定部と、を有する、情報処理装置に関する。
【選択図】図1
特許請求の範囲
【請求項1】
第1の文書データと第2の文書データとを取得する取得部と、
前記第1の文書データ内の第1の文章と前記第2の文書データ内の第2の文章との類似度を判定させるためのプロンプトデータを生成するプロンプト生成部と、
前記プロンプトデータを生成モデルに入力し、前記生成モデルからの出力結果に基づいて前記第1の文章と前記第2の文章との類似度を判定する類似度判定部と、
を有する、情報処理装置。
続きを表示(約 1,100 文字)
【請求項2】
前記プロンプト生成部は、文書データのレイアウトに基づいて前記文書データ内の各文章を抽出する、請求項1に記載の情報処理装置。
【請求項3】
前記プロンプト生成部は、前記第1の文書データに含まれる各文章と前記第2の文章データに含まれる各文章との各組み合わせに対して前記プロンプトデータを生成する、請求項1に記載の情報処理装置。
【請求項4】
前記類似度判定部は、文書類似度算出手法による前記第1の文章と前記第2の文章とに対する類似度算出結果にさらに基づいて、前記第1の文章と前記第2の文章との類似度を判定する、請求項1に記載の情報処理装置。
【請求項5】
前記類似度判定部は、前記類似度算出結果による第1の類似度と前記生成モデルからの出力結果による第2の類似度との平均値を、前記第1の文章と前記第2の文章との類似度として判定する、請求項4に記載の情報処理装置。
【請求項6】
前記類似度判定部は、前記文書類似度算出手法に従って前記第1の文章と前記第2の文章との類似度を算出し、前記算出した類似度が所定の閾値以上であるとき、前記プロンプトデータを前記生成モデルに入力する、請求項4に記載の情報処理装置。
【請求項7】
前記類似度判定部は、上位の類似度を有する前記第1の文章と前記第2の文章との組み合わせを提示する、請求項1に記載の情報処理装置。
【請求項8】
前記類似度判定部は、類似度のレベルに応じた表示形態によって、前記第1の文書データに含まれる各文章と前記第2の文章データに含まれる各文章との各組み合わせに対して判定した各類似度を表示する、請求項1に記載の情報処理装置。
【請求項9】
第1の文書データと第2の文書データとを取得することと、
前記第1の文書データ内の第1の文章と前記第2の文書データ内の第2の文章との類似度を判定させるためのプロンプトデータを生成することと、
前記プロンプトデータを生成モデルに入力し、前記生成モデルからの出力結果に基づいて前記第1の文章と前記第2の文章との類似度を判定することと、
を有する、コンピュータが実行する情報処理方法。
【請求項10】
第1の文書データと第2の文書データとを取得することと、
前記第1の文書データ内の第1の文章と前記第2の文書データ内の第2の文章との類似度を判定させるためのプロンプトデータを生成することと、
前記プロンプトデータを生成モデルに入力し、前記生成モデルからの出力結果に基づいて前記第1の文章と前記第2の文章との類似度を判定することと、
をコンピュータに実行させるプログラム。
発明の詳細な説明
【技術分野】
【0001】
本開示は、情報処理装置、情報処理方法及びプログラムに関する。
続きを表示(約 1,400 文字)
【背景技術】
【0002】
近年のディープラーニングの進展によって、機械学習技術が広範な技術分野に適用されてきている。例えば、自然言語処理の技術分野では、情報抽出、情報検索、要約生成、機械翻訳、音声認識、対話処理などに利用される機械学習モデルの研究開発が進展している。現在、ChatGPT(登録商標)などの生成モデルを利用した自然言語処理が注目されている。
【0003】
例えば、特許文献1は、生成AI(Artificial Intelligence)システムを利用して、インターネット上の求人票データ提供ウェブサイトを巡回し、これらのウェブサイトから取得した求人票原データを整形した求人票データを生成することについて記載している。
【先行技術文献】
【特許文献】
【0004】
特許第7349219号公報
【発明の概要】
【発明が解決しようとする課題】
【0005】
多くの企業は、従業員に業務を適切に実行させるため業務マニュアルを作成し、従業員に業務マニュアルに従って業務を実行させるようにしている。このような業務マニュアルは、しばしば業務部門毎に作成され、複数の業務マニュアルに同一又は類似内容が記載されていることが多い。
【0006】
このような業務マニュアルなどの複数の文書を整理・統合する際、現状は作業者が目検で文書を読み、文書を構成する文章などの記載内容の重複分析をしている。このような記載内容の重複分析は、人手によるコストを要する作業となっている。
【0007】
本開示の課題は、生成モデルを利用して文書データの記載内容の類似度を効率的に判定するための技術を提供することである。
【課題を解決するための手段】
【0008】
本開示の一態様は、第1の文書データと第2の文書データとを取得する取得部と、前記第1の文書データ内の第1の文章と前記第2の文書データ内の第2の文章との類似度を判定させるためのプロンプトデータを生成するプロンプト生成部と、前記プロンプトデータを生成モデルに入力し、前記生成モデルからの出力結果に基づいて前記第1の文章と前記第2の文章との類似度を判定する類似度判定部と、を有する、情報処理装置に関する。
【発明の効果】
【0009】
本開示によると、生成モデルを利用して文書データの記載内容の類似度を効率的に判定するための技術を提供することができる。
【図面の簡単な説明】
【0010】
図1は、本開示の一実施例による重複分析処理を示す概略図である。
図2は、本開示の一実施例による情報処理装置を示す概略図である。
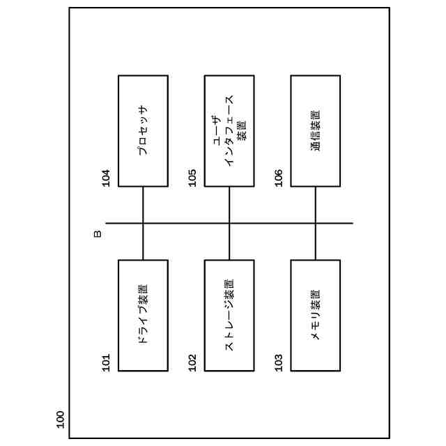
図3は、本開示の一実施例による情報処理装置のハードウェア構成を示すブロック図である。
図4は、本開示の一実施例による情報処理装置の機能構成を示すブロック図である。
図5A及び5Bは、本開示の一実施例によるプロンプトデータ及び出力結果を示す図である。
図6は、本開示の一実施例による重複分析対象の文章ペアを示す図である。
図7は、本開示の一実施例による各文章の類似度を示す図である。
図8は、本開示の一実施例による重複分析処理を示すフローチャートである。
【発明を実施するための形態】
(【0011】以降は省略されています)
この特許をJ-PlatPat(特許庁公式サイト)で参照する
関連特許
大日本印刷株式会社
印刷物
2日前
大日本印刷株式会社
印刷物
2日前
大日本印刷株式会社
床構成体
11日前
大日本印刷株式会社
積層シート
9日前
大日本印刷株式会社
床用化粧材
5日前
大日本印刷株式会社
パネルの固定方法
17日前
大日本印刷株式会社
積層体及び包装容器
18日前
大日本印刷株式会社
積層体および包装容器
5日前
大日本印刷株式会社
積層体および包装容器
9日前
大日本印刷株式会社
加飾シート及び樹脂成形品
5日前
大日本印刷株式会社
再配線層及びその製造方法
4日前
大日本印刷株式会社
学習支援装置及びプログラム
11日前
大日本印刷株式会社
情報処理装置及びプログラム
10日前
大日本印刷株式会社
作業装置、作業システム、作業方法
16日前
大日本印刷株式会社
水素センサおよび水素検知システム
10日前
大日本印刷株式会社
ウェブ搬送装置及びウェブ搬送方法
16日前
大日本除蟲菊株式会社
薬剤揮散装置
12日前
大日本印刷株式会社
位相差板、光学部材、及び、表示装置
5日前
大日本印刷株式会社
熱転写シートと中間転写媒体との組合せ
9日前
大日本印刷株式会社
情報処理装置、情報処理方法及びプログラム
10日前
大日本印刷株式会社
情報処理装置、情報処理方法及びプログラム
10日前
大日本印刷株式会社
転写シート、成形品の製造方法および成形品
16日前
大日本印刷株式会社
プログラム、情報処理方法、及び情報処理装置
12日前
大日本印刷株式会社
加飾シート、外装部材の製造方法および外装部材
9日前
大日本印刷株式会社
加飾積層体、転写シート、加飾部材、及び移動体
9日前
大日本印刷株式会社
測定システム、測定方法、測定プログラム、物体
3日前
大日本印刷株式会社
化粧シート、化粧材、及び、化粧シートの製造方法
5日前
大日本印刷株式会社
化粧シート、化粧材、及び、化粧シートの製造方法
5日前
大日本印刷株式会社
化粧シート、化粧シートの製造方法および化粧部材
12日前
大日本印刷株式会社
熱転写シートの洗浄方法およびリサイクル原料の製造方法
9日前
大日本印刷株式会社
熱転写シートの洗浄方法およびリサイクル原料の製造方法
9日前
大日本印刷株式会社
デュアルインターフェースICカードおよびICモジュール
12日前
大日本印刷株式会社
デュアルインターフェースICカードおよびICモジュール
12日前
大日本印刷株式会社
動画再生装置、装着装置、動画再生システム及びプログラム
2日前
大日本印刷株式会社
光学素子、前記光学素子を含む装置、及び光学素子の製造方法
17日前
大日本印刷株式会社
積層体及び包装材料
2日前
続きを見る
他の特許を見る