TOP
|
特許
|
意匠
|
商標
特許ウォッチ
Twitter
他の特許を見る
10個以上の画像は省略されています。
公開番号
2025145301
公報種別
公開特許公報(A)
公開日
2025-10-03
出願番号
2024045405
出願日
2024-03-21
発明の名称
ウェブ搬送装置及びウェブ搬送方法
出願人
大日本印刷株式会社
代理人
個人
,
個人
,
個人
主分類
B41J
11/70 20060101AFI20250926BHJP(印刷;線画機;タイプライター;スタンプ)
要約
【課題】本開示は、低コストでウェブ上の除去対象位置を正確に特定可能なウェブ搬送装置及びウェブ搬送方法を提供する。
【解決手段】ウェブ搬送装置1は、除去対象部分Bを示すマークMが付与されたウェブWを搬送する搬送機構10と、マークMを検出する検出器45と、検出器45がマークMを検出したことに基づいて、ウェブWのうちマークMの周辺部分を除去する除去装置6と、を備えている。
【選択図】図1
特許請求の範囲
【請求項1】
除去対象部分を示すマークが付与されたウェブを搬送する搬送機構と、
前記マークを検出する検出器と、
前記検出器が前記マークを検出したことに基づいて、前記ウェブのうち前記マークの周辺部分を除去する除去装置と、を備えた、ウェブ搬送装置。
続きを表示(約 720 文字)
【請求項2】
前記除去装置は、
前記ウェブの搬送経路を第1搬送経路と第2搬送経路とに切り替える切替装置と、
前記搬送経路において前記ウェブを挟持して保持する保持機構とを有し、
前記保持機構は、前記第1搬送経路において前記ウェブを挟持して保持する第1保持機構と、前記第2搬送経路において前記ウェブを挟持して保持する第2保持機構と、を含む、請求項1に記載のウェブ搬送装置。
【請求項3】
前記除去対象部分を含む前記マークは、前記第2搬送経路に送られ、前記第2搬送経路に前記マークを撮影する撮影装置が設けられる、請求項2に記載のウェブ搬送装置。
【請求項4】
前記除去装置は、前記ウェブを切断する切断装置と、前記ウェブを接合する第1接合装置とを含む、請求項1に記載のウェブ搬送装置。
【請求項5】
前記マークは、前記ウェブに貼付されたラベルである、請求項1に記載のウェブ搬送装置。
【請求項6】
前記ラベルに、磁気が付与されている、請求項5に記載のウェブ搬送装置。
【請求項7】
前記マークは、前記ウェブに印字されている、請求項1に記載のウェブ搬送装置。
【請求項8】
前記マークは、除去対象部分を含む領域の前後にそれぞれ付与されている、請求項1に記載のウェブ搬送装置。
【請求項9】
除去対象部分を示すマークが付与されたウェブを搬送する工程と、
前記マークを検出する工程と、
前記マークを検出したことに基づいて、前記ウェブのうち前記マークの周辺部分を除去する工程と、を備えた、ウェブ搬送方法。
発明の詳細な説明
【技術分野】
【0001】
本開示は、ウェブ搬送装置及びウェブ搬送方法に関する。
続きを表示(約 1,100 文字)
【背景技術】
【0002】
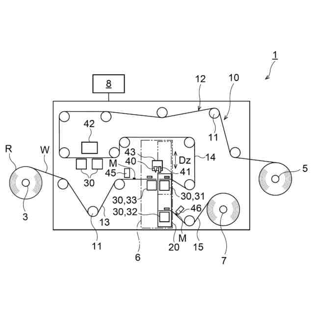
原反ロールから繰り出されたウェブを搬送するウェブ搬送装置が知られている。ウェブ搬送装置は、例えば、プラスチックフィルムや金属フィルム等のウェブから不良部分を除去する不良除去装置を含む。
【先行技術文献】
【特許文献】
【0003】
特開2006-27814号公報
特開2004-244200号公報
特許第3108193号公報
特開平2-95658号公報
【発明の概要】
【発明が解決しようとする課題】
【0004】
従来の不良除去装置においては、不良除去を行う工程中に目視で不良位置を特定したり、別途設置した検査機により不良位置を特定したりしている。あるいは、不良除去装置の前工程で不良発生範囲を特定し、等ピッチに印刷されたマークに基づいて不良位置を検出している。しかしながら、従来の不良除去装置においては、目視で不良位置を特定する手間がかかったり、高価な検査機を導入したりすることが必要となる。また等ピッチにマークを印刷する場合、マークのピッチのカウントがずれてしまうおそれがある。
【0005】
本開示は、低コストでウェブ上の除去対象位置を正確に特定可能なウェブ搬送装置及びウェブ搬送方法を提供する。
【課題を解決するための手段】
【0006】
本開示の実施形態は、以下の[1]~[9]に関する。
【0007】
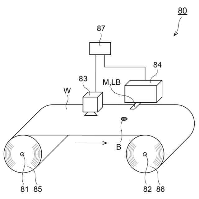
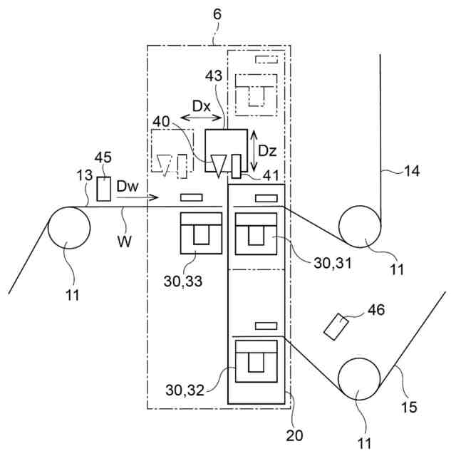
[1]除去対象部分を示すマークが付与されたウェブを搬送する搬送機構と、前記マークを検出する検出器と、前記検出器が前記マークを検出したことに基づいて、前記ウェブのうち前記マークの周辺部分を除去する除去装置と、を備えた、ウェブ搬送装置。
【0008】
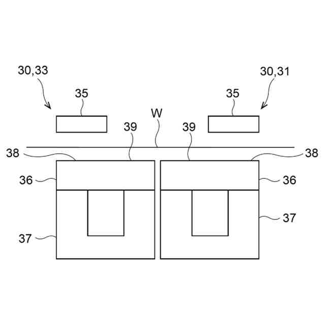
[2]前記除去装置は、前記ウェブの搬送経路を第1搬送経路と第2搬送経路とに切り替える切替装置と、前記搬送経路において前記ウェブを挟持して保持する保持機構とを有し、前記保持機構は、前記第1搬送経路において前記ウェブを挟持して保持する第1保持機構と、前記第2搬送経路において前記ウェブを挟持して保持する第2保持機構と、を含む、[1]に記載のウェブ搬送装置。
【0009】
[3]前記除去対象部分を含む前記マークは、前記第2搬送経路に送られ、前記第2搬送経路に前記マークを撮影する撮影装置が設けられる、[2]に記載のウェブ搬送装置。
【0010】
[4]前記除去装置は、前記ウェブを切断する切断装置と、前記ウェブを接合する第1接合装置とを含む、[1]乃至[3]のいずれか1つに記載のウェブ搬送装置。
(【0011】以降は省略されています)
この特許をJ-PlatPat(特許庁公式サイト)で参照する
関連特許
大日本印刷株式会社
移動体
18日前
大日本印刷株式会社
移動体
18日前
大日本印刷株式会社
写真撮影装置
19日前
大日本印刷株式会社
発電モジュール
8日前
大日本印刷株式会社
パネルの固定方法
5日前
大日本印刷株式会社
積層体及び包装容器
6日前
大日本印刷株式会社
積層体および包装容器
8日前
大日本印刷株式会社
積層体および包装容器
8日前
大日本印刷株式会社
積層体および包装容器
8日前
大日本印刷株式会社
積層体および包装容器
8日前
大日本印刷株式会社
情報処理装置及びプログラム
8日前
大日本印刷株式会社
クランプ装置及びウェブ搬送装置
8日前
大日本印刷株式会社
ポリエステルフィルム及び積層体
18日前
大日本印刷株式会社
作業装置、作業システム、作業方法
4日前
大日本印刷株式会社
ウェブ搬送装置及びウェブ搬送方法
4日前
大日本除蟲菊株式会社
薬剤揮散装置
今日
大日本印刷株式会社
バリア性フィルム、積層体および包装容器
8日前
大日本印刷株式会社
バリア性フィルム、積層体および包装容器
8日前
大日本印刷株式会社
サーバ装置、動画配信方法及びプログラム
8日前
大日本印刷株式会社
バリア性フィルム、積層体および包装容器
8日前
大日本印刷株式会社
サーバ装置、注目度算出方法及びプログラム
18日前
大日本印刷株式会社
転写シート、成形品の製造方法および成形品
4日前
大日本印刷株式会社
サーバ装置、仮想空間制御方法及びプログラム
18日前
大日本印刷株式会社
プログラム、情報処理方法、及び情報処理装置
今日
大日本印刷株式会社
ボビン、熱転写シートリボン及び熱転写印画装置
8日前
大日本印刷株式会社
化粧シート、化粧シートの製造方法および化粧部材
今日
大日本印刷株式会社
デュアルインターフェースICカードおよびICモジュール
今日
大日本印刷株式会社
デュアルインターフェースICカードおよびICモジュール
今日
大日本印刷株式会社
光学素子、前記光学素子を含む装置、及び光学素子の製造方法
5日前
大日本印刷株式会社
ゴルフボールスタンド、ゴルフボールパッケージおよびブランクシート
18日前
大日本印刷株式会社
包装材料並びに袋及び包装体
4日前
大日本印刷株式会社
投射型表示装置及び作業装置
12日前
大日本印刷株式会社
ベーパーチャンバおよび電子機器
4日前
大日本印刷株式会社
蓄電デバイス、蓋体、蓄電デバイスの製造方法
12日前
大日本印刷株式会社
マスク装置、マスク積層体、フレーム積層体、マスクの交換方法、及び、有機デバイスの製造方法
18日前
大日本印刷株式会社
蓄電デバイス、蓋体、被覆体、蓄電デバイスの製造方法
20日前
続きを見る
他の特許を見る