TOP
|
特許
|
意匠
|
商標
特許ウォッチ
Twitter
他の特許を見る
公開番号
2025146288
公報種別
公開特許公報(A)
公開日
2025-10-03
出願番号
2024046974
出願日
2024-03-22
発明の名称
作業装置、作業システム、作業方法
出願人
大日本印刷株式会社
代理人
個人
,
個人
,
個人
主分類
B05C
11/10 20060101AFI20250926BHJP(霧化または噴霧一般;液体または他の流動性材料の表面への適用一般)
要約
【課題】路面に線を引くラインマーカーのような作業装置等に関して、環境光が明るくても、照射装置による光を確認して作業位置を特定することができる作業装置、作業システム、作業方法を提供する。
【解決手段】作業装置20は、作業を行う作業部21を備える。作業装置20は、外部から光を照射される被照射部30を備える。被照射部30は、指向性拡散板を含む。作業は、指向性拡散板で拡散された光によって位置を確認しながら行われる。
【選択図】図1
特許請求の範囲
【請求項1】
作業を行う作業部を備える作業装置であって、
外部から光を照射される被照射部をさらに備え、
前記被照射部は、指向性拡散板を含み、
前記作業は、前記指向性拡散板で拡散された光によって位置を確認しながら行われる、
作業装置。
続きを表示(約 590 文字)
【請求項2】
前記指向性拡散板は、光を透過しながら拡散する、請求項1に記載の作業装置。
【請求項3】
前記指向性拡散板は、光を反射しながら拡散する、請求項1に記載の作業装置。
【請求項4】
作業員が乗り込み可能な乗り込み部をさらに備え、
前記乗り込み部には、前記作業員の視点位置が位置する、
前記指向性拡散板がその板面の法線方向から入射する光を拡散する範囲は、前記視点位置を含む、請求項1に記載の作業装置。
【請求項5】
前記被照射部は、再帰反射部を含む、請求項1に記載の作業装置。
【請求項6】
前記被照射部に設けられた日除け部をさらに備える、請求項1に記載の作業装置。
【請求項7】
前記作業部は、吐出物を吐出する吐出部である、請求項1に記載の作業装置。
【請求項8】
前記被照射部は、前記作業部に設けられている、請求項7に記載の作業装置。
【請求項9】
前記作業部から離れたインジケータをさらに備え、
前記被照射部は、前記インジケータに設けられている、請求項7に記載の作業装置。
【請求項10】
前記被照射部を撮影する撮影装置をさらに備える、請求項1に記載の作業装置。
(【請求項11】以降は省略されています)
発明の詳細な説明
【技術分野】
【0001】
本開示は、作業装置、作業システム、作業方法に関する。
続きを表示(約 1,200 文字)
【背景技術】
【0002】
路面に線を引くラインマーカーのような作業装置が知られている。作業装置は、特定の位置で所定の作業をする。例えば、ラインマーカーは、路面の特定の位置に着色剤を吐出するという作業をして、路面に線を引く。
【先行技術文献】
【特許文献】
【0003】
特開2023-137161号公報
【発明の概要】
【発明が解決しようとする課題】
【0004】
作業装置が作業をする位置を特定するために、照射装置で路面等の作業対象の一部を明るくすることが考えられている。照射装置の光を確認することで、作業装置が作業をする位置を特定できる。しかしながら、日中等の環境光が明るい時間や場所では、照射装置の光を目視で容易に確認できない。本開示は、環境光が明るくても、照射装置による光を確認可能な作業装置を提供することを目的とする。
【課題を解決するための手段】
【0005】
本開示の作業装置は、作業を行う作業部を備える作業装置であって、
外部から光を照射される被照射部をさらに備え、
前記被照射部は、指向性拡散板を含み、
前記作業は、前記指向性拡散板で拡散された光によって位置を確認しながら行われる。
【発明の効果】
【0006】
本開示によれば、環境光が明るくても、照射装置による光を確認できる。
【図面の簡単な説明】
【0007】
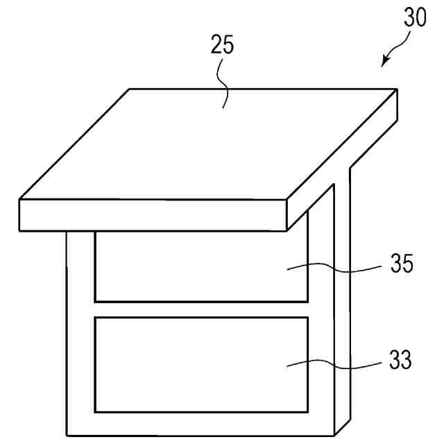
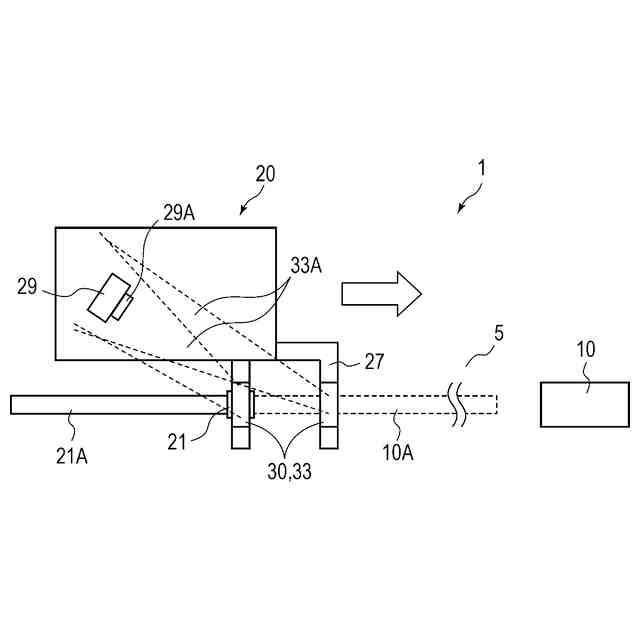
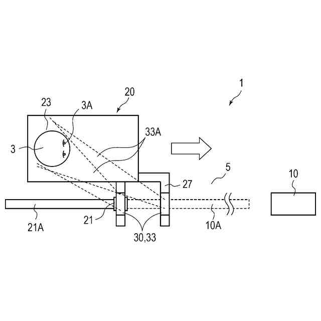
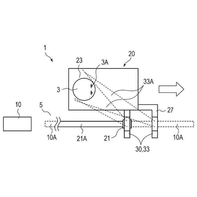
図1は、本開示の一実施の形態の作業システム及び作業装置を概略的に示す斜視図である。
図2は、照射装置の一例を示す斜視図である。
図3は、作業装置が含む被照射部の斜視図である。
図4は、作業システムの一例を示す上面図である。
図5は、作業システムの他の例を示す上面図である。
図6は、作業システムの一変形例を示す上面図である。
【発明を実施するための形態】
【0008】
本件明細書に添付する図面においては、図示と理解のしやすさの便宜上、適宜縮尺および縦横の寸法比等を、実物のそれらから変更し誇張してある。一部の図において示された構成等が、他の図において省略されていることもある。
【0009】
本明細書において、形状や幾何学的条件ならびにそれらの程度を特定する、例えば、「平行」、「直交」、「同一」等の用語や長さや角度の値等は、厳密な意味に限定されることなく、同様の機能を期待し得る程度の範囲を含めて解釈される。
【0010】
本明細書において、シート状の部材の法線方向とは、対象となるシート状の部材のシート面への法線方向のことを指す。また、「シート面」とは、対象となるシート状の部材を全体的且つ大局的に見た場合において対象となるシート状部材と一致する面のことを指す。
(【0011】以降は省略されています)
この特許をJ-PlatPat(特許庁公式サイト)で参照する
関連特許
大日本印刷株式会社
額縁
28日前
大日本印刷株式会社
移動体
19日前
大日本印刷株式会社
移動体
19日前
大日本印刷株式会社
床構成体
今日
大日本印刷株式会社
写真撮影装置
20日前
大日本印刷株式会社
熱転写システム
29日前
大日本印刷株式会社
熱転写システム
29日前
大日本印刷株式会社
発電モジュール
9日前
大日本印刷株式会社
パネルの固定方法
6日前
大日本印刷株式会社
積層体及び包装容器
7日前
大日本印刷株式会社
積層体および包装容器
9日前
大日本印刷株式会社
積層体および包装容器
9日前
大日本印刷株式会社
積層体および包装容器
9日前
大日本印刷株式会社
積層体および包装容器
9日前
大日本印刷株式会社
包装装置および包装方法
21日前
大日本印刷株式会社
シール型熱転写受像シート
27日前
大日本印刷株式会社
シール型熱転写受像シート
27日前
大日本印刷株式会社
レンズアレイ及び表示装置
29日前
大日本印刷株式会社
シール型熱転写受像シート
27日前
大日本印刷株式会社
情報処理装置及びプログラム
9日前
大日本印刷株式会社
学習支援装置及びプログラム
今日
大日本印刷株式会社
熱転写シートおよび中間転写媒体
27日前
大日本印刷株式会社
類似文書検索装置及びプログラム
28日前
大日本印刷株式会社
クランプ装置及びウェブ搬送装置
9日前
大日本印刷株式会社
ポリエステルフィルム及び積層体
19日前
大日本印刷株式会社
リードフレーム及びその製造方法
21日前
大日本印刷株式会社
リードフレーム及びその製造方法
21日前
大日本印刷株式会社
作業装置、作業システム、作業方法
5日前
大日本印刷株式会社
ウェブ搬送装置及びウェブ搬送方法
5日前
大日本除蟲菊株式会社
薬剤揮散装置
1日前
大日本印刷株式会社
光学部材、ヘッドマウントディスプレイ
28日前
大日本印刷株式会社
バリア性フィルム、積層体および包装容器
9日前
大日本印刷株式会社
バリア性フィルム、積層体および包装容器
9日前
大日本印刷株式会社
バリア性フィルム、積層体および包装容器
9日前
大日本印刷株式会社
サーバ装置、動画配信方法及びプログラム
9日前
大日本印刷株式会社
サーバ装置、注目度算出方法及びプログラム
19日前
続きを見る
他の特許を見る