TOP
|
特許
|
意匠
|
商標
特許ウォッチ
Twitter
他の特許を見る
10個以上の画像は省略されています。
公開番号
2025149138
公報種別
公開特許公報(A)
公開日
2025-10-08
出願番号
2024049598
出願日
2024-03-26
発明の名称
床構成体
出願人
大日本印刷株式会社
代理人
弁理士法人WisePlus
主分類
E04F
15/02 20060101AFI20251001BHJP(建築物)
要約
【課題】専門技能を必要とせずに増し貼り施工が可能であり、段差に対応する密着力を持つことで外観品質を担保することができ、補修や解体等の必要に応じて剥離が可能であり、かつ、騒音を抑制することができる床構成体を提供する。
【解決手段】床材と、下地材とが粘着剤を介して積層された構成を有する床構成体であって、上記床材は、化粧材と基材とを少なくとも含み、上記床材は、剛性が1.00N/mm以上であり、上記粘着剤の密着力は、0.20N/mm
2
以上0.50N/mm
2
以下であり、上記床材の上記下地材側の面の面積に対する上記粘着剤の面積の割合(占有率)は、25%以上であり、上記床材の上記下地材側の面の少なくとも一辺は、上記粘着剤が存在しない部分を有することを特徴とする床構成体。
【選択図】図1
特許請求の範囲
【請求項1】
床材と、下地材とが粘着剤を介して積層された構成を有する床構成体であって、
前記床材は、化粧材と基材とを少なくとも含み、
前記床材は、剛性が1.00N/mm以上であり、
前記粘着剤の密着力は、0.20N/mm
2
以上0.50N/mm
2
以下であり、
前記床材の前記下地材側の面の面積に対する前記粘着剤の面積の割合(占有率)は、25%以上であり、
前記床材の前記下地材側の面の少なくとも一辺は、前記粘着剤が存在しない部分を有する
ことを特徴とする床構成体。
続きを表示(約 350 文字)
【請求項2】
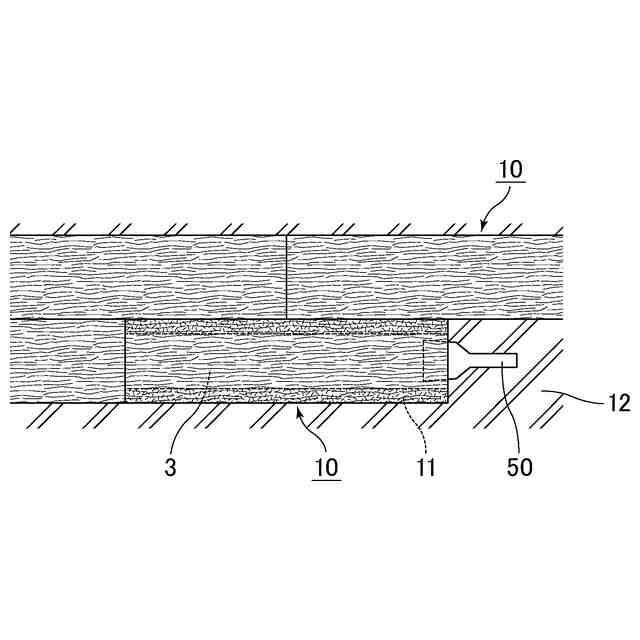
前記床材は、前記下地材側に防湿層を含む請求項1に記載の床構成体。
【請求項3】
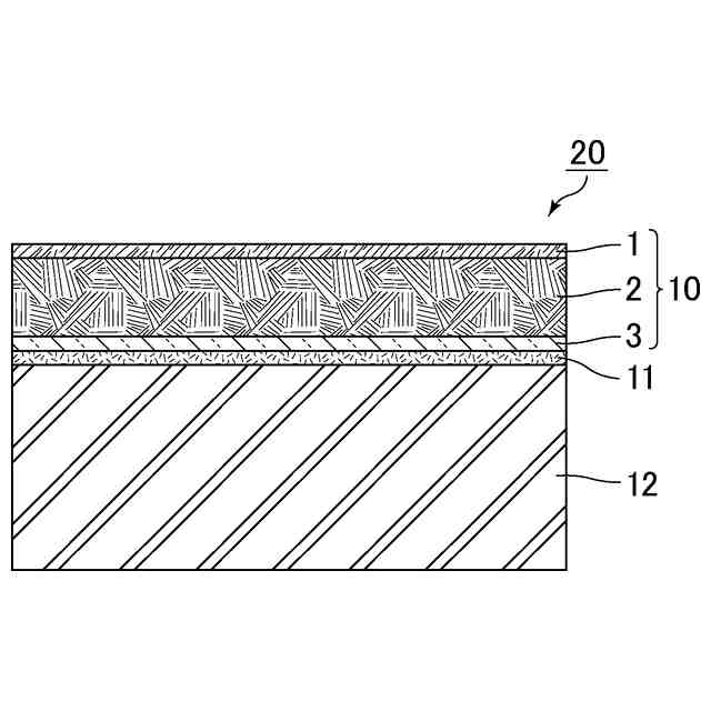
前記床材は、厚みが4.0mm以下である請求項1又は2に記載の床構成体。
【請求項4】
前記基材は、木質基材である請求項1又は2に記載の床構成体。
【請求項5】
前記防湿層の透湿度が7g/m
2
・24時間以下である請求項1又は2に記載の床構成体。
【請求項6】
前記粘着剤は、厚みが0.10mm以上0.5mm以下である請求項1又は2に記載の床構成体。
【請求項7】
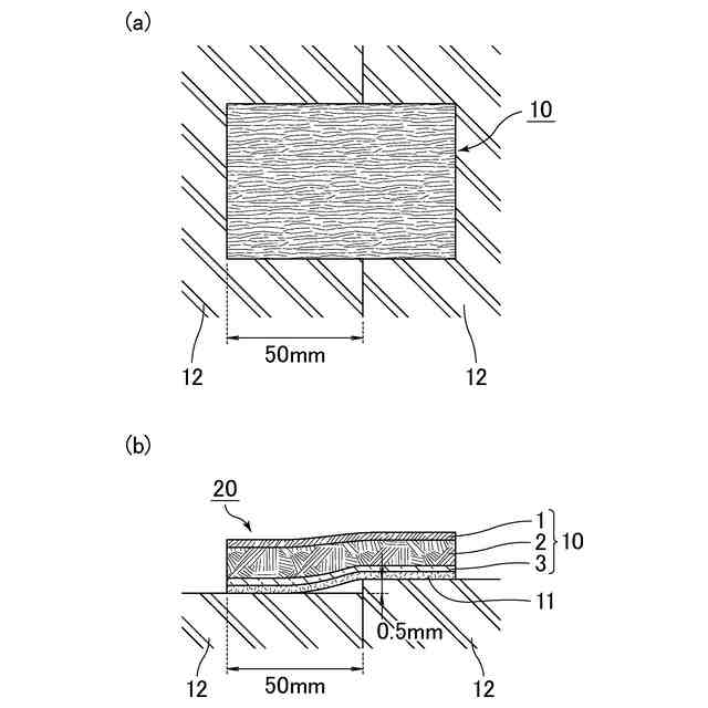
前記床材は、長さが900mm以上1200mm以下、かつ、巾が145mm以上455mm以下である請求項1又は2に記載の床構成体。
発明の詳細な説明
【技術分野】
【0001】
本開示は、床構成体に関する。
続きを表示(約 1,500 文字)
【背景技術】
【0002】
日本における住宅の寿命は、約30年と言われており、欧米諸国と比較すると短い傾向にある。基礎や下地材、内装材等の老朽化に伴い、解体される場合もあるが、住宅構造の進化に伴い、耐震性や構造上の耐久性が向上しており、中古住宅市場の成長も相まって、メンテナンスやリフォームによる住宅の延命が求められている。
また、昨今の脱炭素社会や循環型社会を実現する観点からも、住宅の長寿命化は重要である。
【0003】
現状、水廻り等の設備改善が市場の大きな割合を占めるが、内装の模様替えをする場合も多い。特に床材は、内装の中で最も使用時の負荷が大きい部位であるが、壁紙の貼り替えや、建具の交換のように、簡単に交換することは難しい。
解体工事を伴う床材の貼り替えは、作業負荷が大きいため作業者の体力消耗が激しく、作業時間も長くなる傾向にある。加えて、建築廃材の発生による環境負荷も大きい。
【0004】
そのため、このような貼り替えに代わり、増し貼り(床材を既設床の上に重ね貼りする工事)が広まりを見せている。
【0005】
特許文献1では、木質基材の表面側に化粧材が設けられ、裏面側に密着層が設けられてなる木質床材であって、密着層の裏面は条溝が形成されない略平面であり、且つ、密着層の平面引張り試験による密着力が0.12N/mm
2
以上であることを特徴とする木質床材が開示されている。
【先行技術文献】
【特許文献】
【0006】
特開2019-218732号公報
【発明の概要】
【発明が解決しようとする課題】
【0007】
このような床材では、以下の項目が要求されている。
(1)職人不足が深刻化する中で大工(職人)のような専門技能が必要となれば、現場の作業負荷やリフォーム価格の高騰にもつながる懸念があるので、専門技能なしで施工が可能できる。
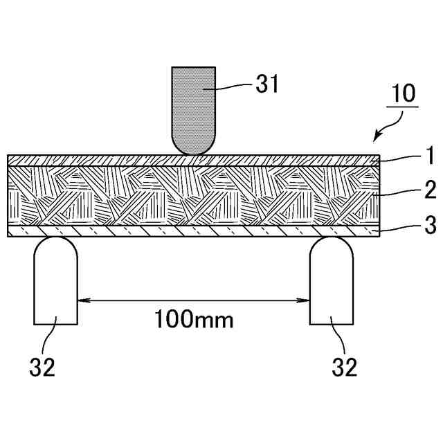
(2)施工品質を担保するために段差に対応する密着力を持ちながら補修や解体等の必要に応じて剥離が可能である。
(3)既存床材の段差による変形が小さく、外観品質を損なわない。
(4)施工に伴う騒音が発生しない。
【0008】
しかしながら、従来の床材(床構成体)では、上述した要求の全てを満たすものは無く、更なる改善の余地があった。
【0009】
本発明の床構成体は、上記課題を鑑みたものであり、専門技能を必要とせずに増し貼り施工が可能であり、段差に対応する密着力を持つことで外観品質を担保することができ、補修や解体等の必要に応じて剥離が可能であり、かつ、専用工具を用いずに裁断が可能(カッター等で裁断が可能)であるため騒音を抑制することができる床構成体を提供することを目的とする。
【課題を解決するための手段】
【0010】
本開示は、床材と、下地材とが粘着剤を介して積層された構成を有する床構成体であって、上記床材は、化粧材と基材とを少なくとも含み、上記床材は、剛性が1.00N/mm以上であり、上記粘着剤の密着力は、0.20N/mm
2
以上0.50N/mm
2
以下であり、上記床材の上記下地材側の面の面積に対する上記粘着剤の面積の割合(占有率)は、25%以上であり、上記床材の上記下地材側の面の少なくとも一辺は、上記粘着剤が存在しない部分を有することを特徴とする床構成体である。
(【0011】以降は省略されています)
この特許をJ-PlatPat(特許庁公式サイト)で参照する
関連特許
大日本印刷株式会社
床構成体
3日前
大日本印刷株式会社
積層シート
1日前
大日本印刷株式会社
発電モジュール
12日前
大日本印刷株式会社
パネルの固定方法
9日前
大日本印刷株式会社
積層体及び包装容器
10日前
大日本印刷株式会社
積層体および包装容器
12日前
大日本印刷株式会社
積層体および包装容器
12日前
大日本印刷株式会社
積層体および包装容器
12日前
大日本印刷株式会社
積層体および包装容器
12日前
大日本印刷株式会社
積層体および包装容器
1日前
大日本印刷株式会社
学習支援装置及びプログラム
3日前
大日本印刷株式会社
情報処理装置及びプログラム
2日前
大日本印刷株式会社
情報処理装置及びプログラム
12日前
大日本印刷株式会社
クランプ装置及びウェブ搬送装置
12日前
大日本印刷株式会社
ウェブ搬送装置及びウェブ搬送方法
8日前
大日本印刷株式会社
水素センサおよび水素検知システム
2日前
大日本印刷株式会社
作業装置、作業システム、作業方法
8日前
大日本除蟲菊株式会社
薬剤揮散装置
4日前
大日本印刷株式会社
熱転写シートと中間転写媒体との組合せ
1日前
大日本印刷株式会社
バリア性フィルム、積層体および包装容器
12日前
大日本印刷株式会社
サーバ装置、動画配信方法及びプログラム
12日前
大日本印刷株式会社
バリア性フィルム、積層体および包装容器
12日前
大日本印刷株式会社
バリア性フィルム、積層体および包装容器
12日前
大日本印刷株式会社
情報処理装置、情報処理方法及びプログラム
2日前
大日本印刷株式会社
転写シート、成形品の製造方法および成形品
8日前
大日本印刷株式会社
情報処理装置、情報処理方法及びプログラム
2日前
大日本印刷株式会社
プログラム、情報処理方法、及び情報処理装置
4日前
大日本印刷株式会社
加飾シート、外装部材の製造方法および外装部材
1日前
大日本印刷株式会社
加飾積層体、転写シート、加飾部材、及び移動体
1日前
大日本印刷株式会社
化粧シート、化粧シートの製造方法および化粧部材
4日前
大日本印刷株式会社
熱転写シートの洗浄方法およびリサイクル原料の製造方法
1日前
大日本印刷株式会社
熱転写シートの洗浄方法およびリサイクル原料の製造方法
1日前
大日本印刷株式会社
デュアルインターフェースICカードおよびICモジュール
4日前
大日本印刷株式会社
デュアルインターフェースICカードおよびICモジュール
4日前
大日本印刷株式会社
光学素子、前記光学素子を含む装置、及び光学素子の製造方法
9日前
大日本印刷株式会社
薬剤一包化外部委託システム,分包管理装置およびその制御プログラム
2日前
続きを見る
他の特許を見る