TOP
|
特許
|
意匠
|
商標
特許ウォッチ
Twitter
他の特許を見る
10個以上の画像は省略されています。
公開番号
2025153161
公報種別
公開特許公報(A)
公開日
2025-10-10
出願番号
2024055482
出願日
2024-03-29
発明の名称
液体吐出ヘッドの製造方法
出願人
セイコーエプソン株式会社
代理人
弁理士法人明成国際特許事務所
主分類
B41J
2/16 20060101AFI20251002BHJP(印刷;線画機;タイプライター;スタンプ)
要約
【課題】複数のヘッドチップを組み込んで構成される液体吐出ヘッドでは、1つのヘッドチップが劣化すると、液体吐出ヘッド全体が交換され廃棄されていた。
【解決手段】本件の液体吐出ヘッドの製造方法では、配列された複数のヘッドチップにおける第1位置に第1ヘッドチップが配置され、第2位置に第1ヘッドチップより劣化の程度が高い第2ヘッドチップ配置された第1液体吐出ヘッドを準備し、第1液体吐出ヘッドから第1ヘッドチップおよび第2ヘッドチップを取り外し、第1位置に滞欧する対応第1位置に配置されるヘッドチップの使用頻度が、第2位置に対応する対応第2位置に配置されるヘッドチップの使用頻度よりも低い第2液体吐出ヘッドにおいて、対応第1位置に第2ヘッドチップを組み込み、対応第2位置に第1ヘッドチップを組み込む。
【選択図】図11
特許請求の範囲
【請求項1】
液体吐出ヘッドを製造する方法であって、
配列された複数のヘッドチップにおける第1位置に第1ヘッドチップが配置され、第2位置に前記第1ヘッドチップより劣化の程度が高い第2ヘッドチップが配置された第1液体吐出ヘッドを準備する準備工程と、
前記第1液体吐出ヘッドから前記第1ヘッドチップおよび前記第2ヘッドチップを取り外す取外工程と、
前記第1液体吐出ヘッドの前記第1位置に対応する対応第1位置に配置されるヘッドチップの使用頻度が、前記第1液体吐出ヘッドの前記第2位置に対応する対応第2位置に配置されるヘッドチップの使用頻度よりも低い第2液体吐出ヘッドにおいて、前記対応第1位置に前記第2ヘッドチップを組み込み、前記対応第2位置に前記第1ヘッドチップを組み込む組換工程と、
を備える液体吐出ヘッドの製造方法。
続きを表示(約 1,700 文字)
【請求項2】
前記第1液体吐出ヘッドの前記第2位置におけるヘッドチップの使用頻度は、前記第1液体吐出ヘッドの前記第1位置におけるヘッドチップの使用頻度より高い、請求項1に記載の液体吐出ヘッドの製造方法。
【請求項3】
前記第1液体吐出ヘッドの前記複数のヘッドチップは、印刷動作において液体のインクを吐出可能な複数のノズルを備え、
前記第1液体吐出ヘッドの前記第1位置に配置されていた前記第1ヘッドチップは、前記複数のノズルの少なくとも一部を、前記印刷動作において使用していない、請求項2に記載の液体吐出ヘッドの製造方法。
【請求項4】
前記第2ヘッドチップは、前記インクが正常に吐出されない不良ノズルを含む、請求項3に記載の液体吐出ヘッドの製造方法。
【請求項5】
前記第1液体吐出ヘッドと前記第2液体吐出ヘッドとは、液体が吐出される媒体の幅方向である第1方向に相対的に移動する主走査と、前記媒体の搬送方向である第2方向に相対的に移動する副走査とを行なうキュリッジに搭載して用いられ、
前記第1液体吐出ヘッドは、前記配列された複数のヘッドチップに、第3ヘッドチップと、前記第3ヘッドチップより劣化の程度が高い第4ヘッドチップとを含み、
前記第1位置と前記第2位置とは、前記第2方向に関して異なる位置であり、 前記第1ヘッドチップと前記第2ヘッドチップとは、同じ種類の液体を吐出し、
前記第3ヘッドチップと前記第4ヘッドチップとは、同じ種類の液体を吐出し、
前記第2液体吐出ヘッドにおいて、前記第4ヘッドチップは、前記対応第1位置に組み込まれた前記第2ヘッドチップと前記第2方向に関して同じ位置に配置され、前記第3ヘッドチップは、前記対応第2位置に組み込まれた前記第1ヘッドチップと前記第2方向に関して同じ位置に配置され、
前記液体の吐出は、前記第2液体吐出ヘッドの前記第1ヘッドチップと前記第3ヘッドチップにより行なわれる、
請求項1に記載の液体吐出ヘッドの製造方法。
【請求項6】
前記第1ヘッドチップと前記第2ヘッドチップとは、同じ種類の液体を吐出する、請求項1に記載の液体吐出ヘッドの製造方法。
【請求項7】
前記第1ヘッドチップと前記第2ヘッドチップとは、異なる種類の液体を吐出し、
前記組換工程より前に、前記第1ヘッドチップ内の流路および前記第2ヘッドチップ内の流路をそれぞれ洗浄する洗浄工程を、更に備える、
請求項1に記載の液体吐出ヘッドの製造方法。
【請求項8】
前記第1液体吐出ヘッドは、前記複数のヘッドチップが、液体が吐出される媒体の搬送方向と交差する方向を長手方向として配列されたラインヘッドであり、
前記第1ヘッドチップは、前記第1液体吐出ヘッドの前記複数のヘッドチップのうち前記長手方向の端部領域に配置されたヘッドチップであり、
前記第2ヘッドチップは、前記第1液体吐出ヘッドの前記複数のヘッドチップのうち前記長手方向における中央領域に配置されたヘッドチップである、
請求項1に記載の液体吐出ヘッドの製造方法。
【請求項9】
前記第1液体吐出ヘッドは、前記複数のヘッドチップが液体が吐出される媒体の搬送方向と交差する方向を長手方向として配列されたラインヘッドであり、
前記第1ヘッドチップは、前記第1液体吐出ヘッドの前記複数のヘッドチップのうち前記長手方向の一方の端部領域に配置されたヘッドチップであり、
前記第2ヘッドチップは、前記第1液体吐出ヘッドの前記複数のヘッドチップのうち前記長手方向における他方の端部領域に配置されたヘッドチップである、
請求項1に記載の液体吐出ヘッドの製造方法。
【請求項10】
前記第1液体吐出ヘッドが有する前記複数のヘッドチップの使用履歴に基づいて、前記組換工程で組み込む前記第1ヘッドチップおよび前記第2ヘッドチップを選択する選択工程を備える、
請求項1に記載の液体吐出ヘッドの製造方法。
発明の詳細な説明
【技術分野】
【0001】
本開示は、液体吐出ヘッドの製造方法やヘッドチップの管理方法に関する。
続きを表示(約 2,800 文字)
【背景技術】
【0002】
インクなどの液体を吐出する複数のヘッドチップを搭載する液体吐出ヘッドを備える液体噴射装置が知られている(例えば、特許文献1参照)。
【先行技術文献】
【特許文献】
【0003】
特開2015-39804号公報
【発明の概要】
【発明が解決しようとする課題】
【0004】
こうした従来技術では、液体吐出装置が備える液体吐出ヘッドが、故障したり、使用による劣化によって寿命を迎えそうになったりした際に、液体吐出ヘッドを交換することで液体噴射装置の修理を行なっていた。1つの液体吐出ヘッドは、複数のヘッドチップを搭載している。このため、それぞれのヘッドチップ毎に劣化や故障の現われ方が異なるのに、一部のヘッドチップが使用不可又は寿命が近いと判断された場合、液体吐出ヘッドごと交換されており、使用可能なヘッドチップや劣化の程度の低いヘッドチップでも廃棄の対象となってしまうという問題があった。
【課題を解決するための手段】
【0005】
本開示は、以下の形態又は適用例として実現することが可能である。本開示の液体吐出ヘッドの製造方法は、配列された複数のヘッドチップにおける第1位置に第1ヘッドチップが配置され、第2位置に前記第1ヘッドチップより劣化の程度が高い第2ヘッドチップ配置された第1液体吐出ヘッドを準備する準備工程と、前記第1液体吐出ヘッドから前記第1ヘッドチップおよび前記第2ヘッドチップを取り外す取外工程と、前記第1液体吐出ヘッドの前記第1位置に対応する対応第1位置に配置されるヘッドチップの使用頻度が、前記第1液体吐出ヘッドの前記第2位置に対応する対応第2位置に配置されるヘッドチップの使用頻度よりも低い第2液体吐出ヘッドにおいて、前記対応第1位置に前記第2ヘッドチップを組み込み、前記対応第2位置に前記第1ヘッドチップを組み込む組換工程とを備える。
【図面の簡単な説明】
【0006】
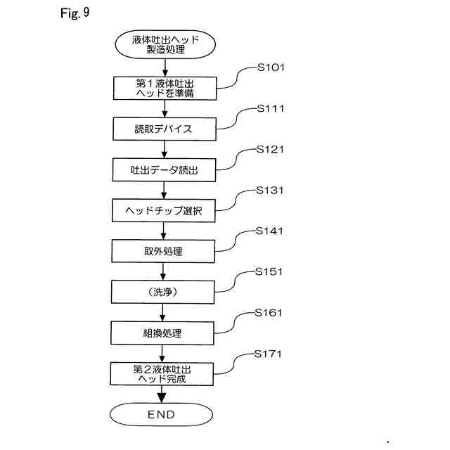
第1実施形態の液体吐出ヘッドの製造方法で用いられる液体吐出装置の概略構成を示す上面図。
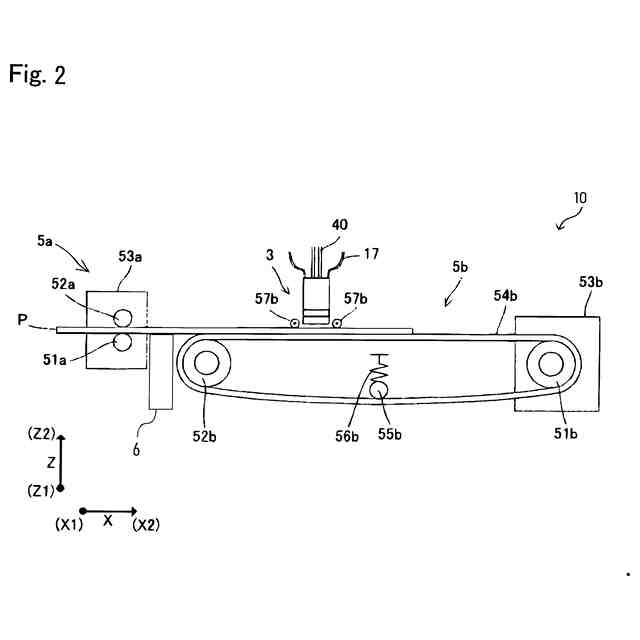
液体吐出装置の概略構成を示す側面図。
プリントヘッドの構造を示す分解斜視図。
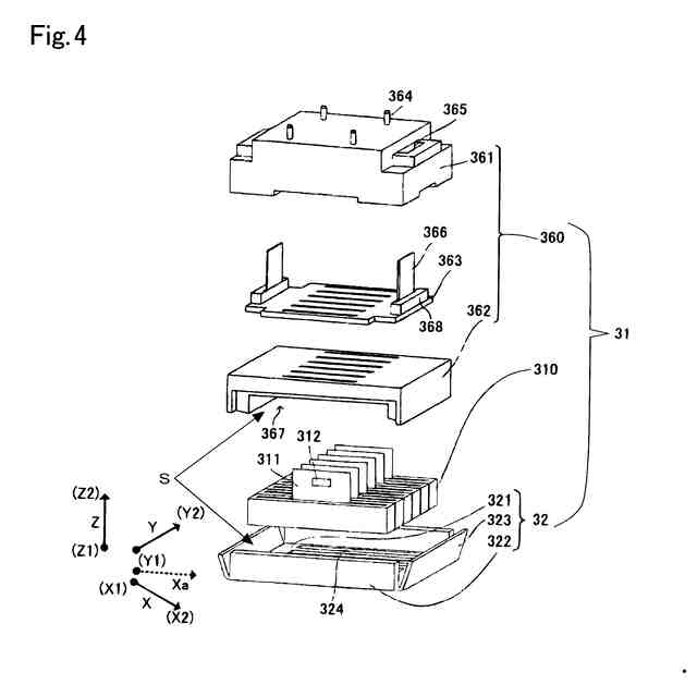
ヘッド本体の分解斜視図。
ヘッド本体が有するヘッドチップの断面図。
液体吐出装置の機能的構成を示す説明図。
駆動信号を示す説明図。
第1実施形態でヘッドチップの組み換えを行なう第1液体吐出ヘッドの構成を例示する説明図。
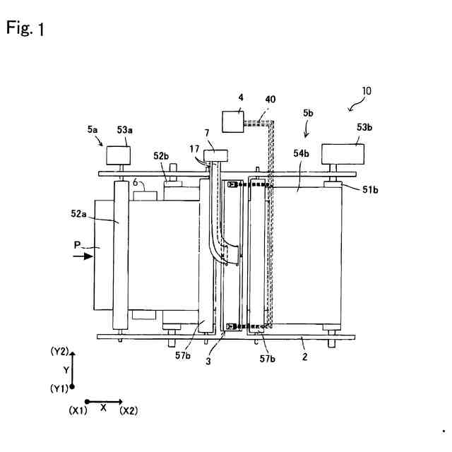
第1実施形態の液体吐出ヘッドの製造工程を示す工程図。
プリントヘッドの中継基板と読取デバイスとの接続の様子を示す説明図。
ヘッドチップの吐出性能とその後の経時変化の様子を模式的に示す説明図。
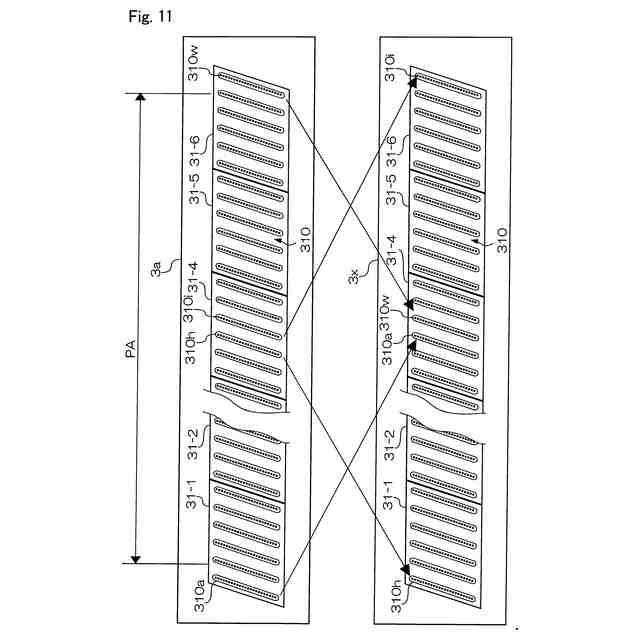
第1実施形態における第2液体吐出ヘッドの製造の様子を模式的に示す説明図。
第2実施形態の製造方法で用いたプリンターの概略構成図。
第2実施形態で用いたプリンターの吐出ヘッド周りの構成を例示する説明図。
第2実施形態の製造方法の対象となった液体吐出ヘッドの構成を例示する説明図。
第2実施形態における製造工程を説明する説明図。
第3実施形態の製造方法の対象となる液体吐出ヘッドを模式的に示す説明図。
第3実施形態で扱う液体吐出ヘッドの一例を示す説明図。
第3実施形態の製造方法の対象となった液体吐出ヘッドの構成を例示する説明図。
【発明を実施するための形態】
【0007】
以下、液体吐出ヘッドの製造方法の実施形態について図面を用いて説明する。用いる図面は説明の便宜上のものである。以下に説明する実施形態は、実施形態の例示に過ぎず、本開示の内容を限定するものではない。また、以下で説明される構成は必須の構成要件と記載されているものを除いて、必須のものと解釈してはならない。
【0008】
A.第1実施形態
(A1)液体吐出装置の概要:
第1実施形態の液体吐出ヘッドの製造方法について、以下説明する。第1実施形態の製造方法は、1又は複数の第1液体吐出ヘッドが備える複数のヘッドチップの一部を再利用して、第2液体吐出ヘッドを製造するものである。ここで第1液体吐出ヘッドは、液体吐出装置などに組み込まれて使用されたことがある液体吐出ヘッドである。第2液体吐出ヘッドは、第1液体吐出ヘッドが備える複数のヘッドチップの少なくとも一部を再利用して製造される液体吐出ヘッドである。そこで、液体吐出ヘッドの製造方法の説明に先立って、まず第1液体吐出ヘッドに相当するヘッド本体とこれを組み込んだプリントヘッド、更にはこのプリントヘッドを用いる液体吐出装置の構成について説明する。なお、本明細書では、液体をノズル等から外部に向けて送り出すことを「吐出」と呼ぶ。吐出には、液体の種類、出力時間、回数などを問わず、噴射、噴出、噴霧や排出、間欠的流出など、所定量の液体が外部に出力される各種の態様が含まれる。
【0009】
図1は、液体吐出装置10の概略構成を示す上面図である。図2は、液体吐出装置10の概略構成を示す側面図である。これらの図に示すように、本実施形態で扱う液体吐出装置10は、インクが吐出される媒体Pを搬送するだけで印刷を行なう、所謂ライン式のインクジェットプリンターを例示して説明を行なう。なお、液体吐出装置10は、ライン式のインクジェットプリンターに限られるのもではなく、媒体Pの搬送に同期してプリントヘッドが移動する所謂シリアル式のインクジェットプリンターであってもよい。
【0010】
以下の説明において媒体Pが搬送される搬送方向を方向Xと称し、媒体Pが搬送される上流をX1側、下流をX2側として説明する。また、媒体Pにインクが着弾する着弾面の面内方向において、方向Xに直交する方向を方向Yと称し、方向Yにおける液体吐出装置10の一端をY1側、他端をY2側として説明する。さらに、方向X、及び方向Yの双方に直交する方向であって、プリントヘッド3から媒体Pに吐出されるインクが吐出される方向を方向Zと称し、プリントヘッド3から吐出されるインクは、方向ZのZ2側からZ1側に向かって吐出されるとして説明する。本実施形態において方向X、方向Y、及び方向Zは、互いに直交する軸として説明を行なうが、液体吐出装置10が備える構成が互いに直交して配置されていることに限定されるものではない。これらの方向X,Y,Zは、他の図にも適宜示した。
(【0011】以降は省略されています)
この特許をJ-PlatPat(特許庁公式サイト)で参照する
関連特許
個人
箔熱転写装置
1か月前
シヤチハタ株式会社
印判
4か月前
東レ株式会社
凸版印刷版原版
10か月前
三菱製紙株式会社
感熱記録材料
10か月前
シヤチハタ株式会社
反転式印判
9か月前
三光株式会社
感熱記録材料
6か月前
キヤノン株式会社
記録装置
25日前
独立行政法人 国立印刷局
印刷物
7か月前
株式会社リコー
液体吐出装置
6か月前
株式会社リコー
画像形成装置
1か月前
株式会社リコー
液体吐出装置
7か月前
株式会社リコー
印刷システム
13日前
日本製紙株式会社
感熱記録体
7か月前
株式会社リコー
液体吐出装置
7か月前
株式会社リコー
液体吐出装置
8か月前
独立行政法人 国立印刷局
貼付装置
1か月前
独立行政法人 国立印刷局
記録媒体
8か月前
株式会社リコー
画像形成装置
13日前
独立行政法人 国立印刷局
貼付機構
1か月前
株式会社リコー
液体吐出装置
4か月前
株式会社リコー
液体吐出装置
5か月前
株式会社リコー
画像形成装置
9日前
株式会社リコー
液体吐出装置
4か月前
株式会社リコー
液体吐出装置
2か月前
ブラザー工業株式会社
プリンタ
8か月前
キヤノン株式会社
画像形成装置
10か月前
ブラザー工業株式会社
プリンタ
8か月前
キヤノン株式会社
画像形成装置
6か月前
キヤノン株式会社
印刷制御装置
10か月前
ブラザー工業株式会社
プリンタ
4か月前
フジコピアン株式会社
中間転写シート
9か月前
独立行政法人 国立印刷局
潜像形成体
9日前
キヤノン株式会社
画像記録装置
25日前
キヤノン株式会社
画像形成装置
3か月前
キヤノン株式会社
画像形成装置
8か月前
キヤノン株式会社
画像形成装置
8か月前
続きを見る
他の特許を見る