TOP
|
特許
|
意匠
|
商標
特許ウォッチ
Twitter
他の特許を見る
10個以上の画像は省略されています。
公開番号
2025153281
公報種別
公開特許公報(A)
公開日
2025-10-10
出願番号
2024055671
出願日
2024-03-29
発明の名称
治療選択支援装置、治療選択支援方法、および治療選択支援プログラム
出願人
株式会社日立製作所
代理人
藤央弁理士法人
主分類
G16H
20/00 20180101AFI20251002BHJP(特定の用途分野に特に適合した情報通信技術)
要約
【課題】治療選択肢の信頼性の向上を図ること。
【解決手段】プログラムを実行するプロセッサと、前記プログラムを記憶する記憶デバイスと、を有する治療選択支援装置は、患者の傷病種に関する治療法を含む治療選択肢と、他の患者の前記傷病種の治療実績および推定治療効果に基づく分析結果と、に基づいて、前記治療選択肢の妥当性を検証する検証処理と、前記検証処理による検証結果を出力する出力処理と、を実行する。
【選択図】図8
特許請求の範囲
【請求項1】
プログラムを実行するプロセッサと、前記プログラムを記憶する記憶デバイスと、を有する治療選択支援装置であって、
前記プロセッサは、
患者の傷病種に関する治療法を含む治療選択肢と、他の患者の前記傷病種の治療実績および推定治療効果に基づく分析結果と、に基づいて、前記治療選択肢の妥当性を検証する検証処理と、
前記検証処理による検証結果を出力する出力処理と、
を実行することを特徴とする治療選択支援装置。
続きを表示(約 2,000 文字)
【請求項2】
請求項1に記載の治療選択支援装置であって、
傷病の治療法を記述した文章データ群を記憶する第1データベースにアクセス可能であり、
前記検証処理では、前記プロセッサは、前記第1データベースの前記文章データ群における前記治療選択肢の有無に基づいて、前記治療選択肢の信頼度を示す信頼度スコアを算出し、前記治療実績の数を評価する症例数スコアを算出し、前記推定治療効果を評価する推定治療効果スコアを算出し、前記信頼度スコアと、前記症例数スコアと、前記推定治療効果スコアと、に基づいて、前記治療選択肢の妥当性を検証する、
ことを特徴とする治療選択支援装置。
【請求項3】
請求項1に記載の治療選択支援装置であって、
傷病の治療法を記述した文章データ群を記憶する第1データベースにアクセス可能であり、
前記プロセッサは、
前記患者の前記傷病種を含む病態に関する検索クエリに該当する前記治療選択肢を前記第1データベースから抽出する抽出処理と、
を実行することを特徴とする治療選択支援装置。
【請求項4】
請求項3に記載の治療選択支援装置であって、
前記第1データベースは、前記治療法および前記治療法の推奨レベルを記述した文章データ群を記憶する第1データベースにアクセス可能であり、
前記抽出処理では、前記プロセッサは、前記検索クエリに該当し、かつ、前記治療法および前記治療法の推奨レベルを含む治療選択肢を、前記第1データベースから抽出する、
ことを特徴とする治療選択支援装置。
【請求項5】
請求項3に記載の治療選択支援装置であって、
前記第1データベースは、前記治療法、前記治療法の推奨レベル、および前記治療法を適応可能な傷病種を示す適応情報を記述した文章データ群を記憶する第1データベースにアクセス可能であり、
前記抽出処理では、前記プロセッサは、前記検索クエリに該当し、かつ、前記患者の前記傷病種に対して適応可能な治療法が記述された前記適応情報を含む特定の文章データを、前記第1データベースから抽出し、前記特定の文章データの前記治療法および前記推奨レベルを前記治療選択肢として抽出する、
ことを特徴とする治療選択支援装置。
【請求項6】
請求項3に記載の治療選択支援装置であって、
前記第1データベースは、前記治療法、前記治療法の推奨レベル、および前記治療法を適応してはいけない傷病種を示す禁忌情報を記述した文章データ群を記憶する第1データベースにアクセス可能であり、
前記抽出処理では、前記プロセッサは、前記検索クエリに該当し、かつ、前記患者の前記傷病種に適応してはいけない治療法が記述された前記禁忌情報を含まない特定の文章データを、前記第1データベースから抽出し、前記特定の文章データの前記治療法および前記推奨レベルを前記治療選択肢として抽出する、
ことを特徴とする治療選択支援装置。
【請求項7】
請求項6に記載の治療選択支援装置であって、
前記患者の前記病態を記憶する第2データベースにアクセス可能であり、
前記プロセッサは、前記第2データベースから前記患者の前記病態に基づいて、前記検索クエリを生成する生成処理と、
実行することを特徴とする治療選択支援装置。
【請求項8】
請求項1に記載の治療選択支援装置であって、
傷病種ごとに分析観点を記憶する第3データベースにアクセス可能であり、
前記プロセッサは、前記患者の前記傷病種に関する特定の分析観点を前記第3データベースから抽出し、前記分析観点に基づいて、前記分析結果を要求する分析リクエストを取得する取得処理と、
実行することを特徴とする治療選択支援装置。
【請求項9】
請求項8に記載の治療選択支援装置であって、
傷病種ごとに治療法を記述した文章データ群を記憶する第1データベースにアクセス可能であり、
前記取得処理では、前記プロセッサは、前記患者の前記傷病種に関する治療法を記述した特定の文章データを前記第1データベースから抽出し、前記特定の文章データから病状指標またはバイオマーカーを、治療選択に考慮すべき特定の項目として抽出し、前記特定の項目を含む前記特定の分析観点に基づいて、前記分析リクエストを取得する、
ことを特徴とする治療選択支援装置。
【請求項10】
請求項9に記載の治療選択支援装置であって、
前記取得処理では、前記プロセッサは、前記特定の項目を含む前記特定の分析観点を言語モデルに入力した結果、前記言語モデルから前記分析リクエストを取得する、
ことを特徴とする治療選択支援装置。
(【請求項11】以降は省略されています)
発明の詳細な説明
【技術分野】
【0001】
本発明は、治療の選択を支援する治療選択支援装置、治療選択支援方法、および治療選択支援プログラムに関する。
続きを表示(約 2,700 文字)
【背景技術】
【0002】
大規模言語モデルの医療応用が注目されている。しかし、大規模言語モデルはハルシネーションと呼ばれる誤った情報提示をする可能性がある。ハルシネーションの対策のため、信頼できる情報のみを学習させる方法やガードレールの設置、医師等の専門家監修の元、RLHF(Reinforcement Learning from Human Feedback、人間からのフィードバックを用いた強化学習)などが行われるが、労力とコストがかかる。
【0003】
特許文献1は、医療診断および治療のための意思決定支援システムを開示する。この意思決定支援システムは、コンピュータ可読媒体上に具体化されたソフトウェアモジュールを備え、ソフトウェアモジュールは入出力モジュールおよび質問応答モジュールを備える。この意思決定支援システムは、入出力モジュールを使用して患者症例情報を受信し、患者症例情報に基づいて医療診断または治療クエリを生成し、また、質問応答モジュールを使用してクエリに対する複数の医療診断または治療回答を生成する。この意思決定支援システムはまた、質問応答モジュールを使用して、各回答について医療証拠ソースから複数の医療証拠の次元の数値を計算し、また、質問応答モジュールを使用して、各証拠の次元の数値に基づいて、各回答に対応する信頼値を計算する。この意思決定支援システムはさらに、入出力モジュールを使用して、医療診断または治療の回答、対応する信頼値、および1つまたは複数の選択された医療診断または治療の回答に対する各医療証拠の次元の数値を出力する。
【先行技術文献】
【特許文献】
【0004】
米国特許特開2012-0078062号公報
【発明の概要】
【発明が解決しようとする課題】
【0005】
大規模言語モデルの医療応用、特に治療選択支援においては、大規模言語モデルからの出力の信頼性の確保に問題がある。たとえば、特許文献1では、クエリから生成された診断や治療に関する内容が誤った情報である場合、情報の正誤を判断することができない。また一方で、診療実績のみでは過去データの参照範囲の設定が難しく、ガイドラインの改定に対応できない。
【0006】
本発明は、治療選択肢の信頼性の向上を図ることを目的とする。
【課題を解決するための手段】
【0007】
本願において開示される発明の一側面となる治療選択支援装置は、プログラムを実行するプロセッサと、前記プログラムを記憶する記憶デバイスと、を有する治療選択支援装置であって、前記プロセッサは、患者の傷病種に関する治療法を含む治療選択肢と、他の患者の前記傷病種の治療実績および推定治療効果に基づく分析結果と、に基づいて、前記治療選択肢の妥当性を検証する検証処理と、前記検証処理による検証結果を出力する出力処理と、を実行することを特徴とする。
【発明の効果】
【0008】
本発明の代表的な実施の形態によれば、治療選択肢の信頼性の向上を図ることができる。前述した以外の課題、構成及び効果は、以下の実施例の説明により明らかにされる。
【図面の簡単な説明】
【0009】
図1は、実施例1にかかる治療選択支援装置のハードウェア構成例を示すブロック図である。
図2は、患者情報DBの一例を示す説明図である。
図3は、ガイドラインDBの一例を示す説明図である。
図4は、フォーミュラリDBの一例を示す説明図である。
図5は、診療DBの一例を示す説明図である。
図6は、分析観点DBの一例を示す説明図である。
図7は、医学辞書の一例を示す説明図である。
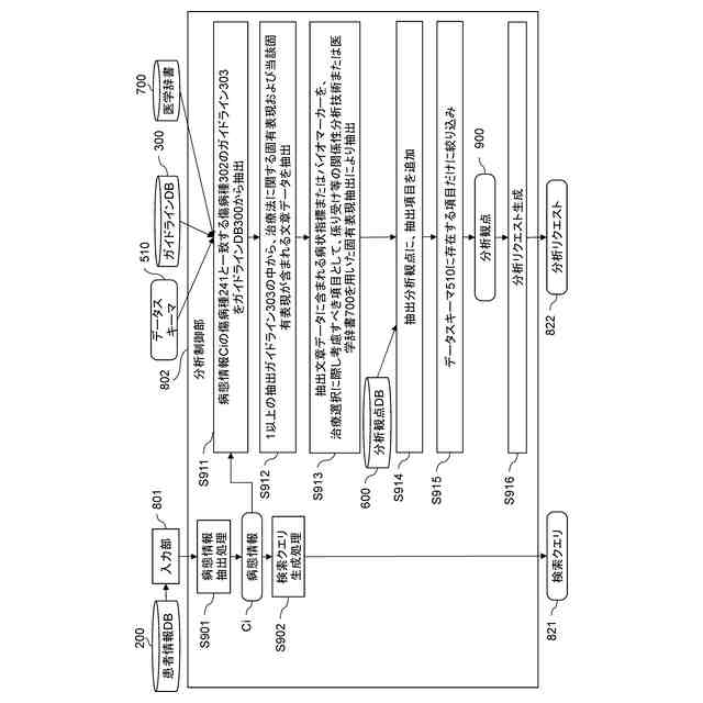
図8は、実施例1にかかる治療選択支援装置の機能的構成例を示すブロック図である。
図9は、実施例1にかかる分析制御部による分析制御処理例を示すフローチャートである。
図10は、検索クエリの一例を示す説明図である。
図11は、分析リクエストの一例を示す説明図である。
図12は、抽出部による抽出処理手順例を示すフローチャートである。
図13は、検証部による検証処理手順例を示すフローチャートである。
図14は、信頼度スコアテーブルの一例を示す説明図である。
図15は、症例数スコアテーブルの一例を示す説明図である。
図16は、推定治療効果スコアテーブルの一例を示す説明図である。
図17は、出力情報決定テーブルの一例を示す説明図である。
図18は、入力画面の一例を示す説明図である。
図19は、出力画面の一例を示す説明図である。
図20は、実施例2にかかる治療選択支援装置の機能的構成例を示すブロック図である。
図21は、実施例2にかかる分析制御部による分析制御処理例を示すフローチャートである。
【発明を実施するための形態】
【実施例】
【0010】
<図1 治療選択支援装置のハードウェア構成例>
図1は、実施例1にかかる治療選択支援装置のハードウェア構成例を示すブロック図である。治療選択支援装置100は、プロセッサ101と、記憶デバイス102と、入力デバイス103と、出力デバイス104と、通信インターフェース(通信IF)105と、を有する。プロセッサ101、記憶デバイス102、入力デバイス103、出力デバイス104、および通信IF105は、バス106により接続される。プロセッサ101は、治療選択支援装置100を制御する。記憶デバイス102は、プロセッサ101の作業エリアとなる。また、記憶デバイス102は、各種プログラムやデータを記憶する非一時的なまたは一時的な記録媒体である。記憶デバイス102としては、たとえば、ROM(Read Only Memory)、RAM(Random Access Memory)、HDD(Hard Disk Drive)、フラッシュメモリがある。入力デバイス103は、データを入力する。入力デバイス103としては、たとえば、キーボード、マウス、タッチパネル、テンキー、スキャナ、マイク、センサがある。出力デバイス104は、データを出力する。出力デバイス104としては、たとえば、ディスプレイ、プリンタ、スピーカがある。通信IF105は、ネットワークと接続し、データを送受信する。
(【0011】以降は省略されています)
この特許をJ-PlatPat(特許庁公式サイト)で参照する
関連特許
個人
支援システム
5か月前
個人
医療のAI化
1か月前
個人
管理装置
4か月前
個人
対話システム
4か月前
個人
通知ぬいぐるみAIシステム
1か月前
個人
情報システムおよび方法
6か月前
株式会社タカゾノ
薬剤秤量装置
2か月前
株式会社タカゾノ
薬剤秤量装置
4か月前
株式会社タカゾノ
薬剤秤量装置
2か月前
株式会社タカゾノ
薬剤秤量装置
2か月前
株式会社タカゾノ
薬剤秤量装置
2か月前
株式会社タカゾノ
薬剤秤量装置
2か月前
株式会社リコー
投薬管理システム
1か月前
TOTO株式会社
健康管理システム
9日前
個人
診療の管理装置及び診療システム
2か月前
株式会社M-INT
情報処理システム
6か月前
ゾーン株式会社
コンピュータシステム
5か月前
大王製紙株式会社
作業管理システム
6か月前
株式会社サンクスネット
情報提供システム
4か月前
株式会社CureApp
プログラム
3か月前
株式会社 137
健康観察管理システム
4か月前
株式会社ミラボ
情報処理装置、及びプログラム
2か月前
西川株式会社
サービス出力システム
4か月前
合同会社フォース
オンライン診療システム
6か月前
大和ハウス工業株式会社
服薬推定システム
9日前
歯っぴー株式会社
口内状態の画像診断方法
2か月前
株式会社タカゾノ
薬剤秤量装置及び調剤システム
4か月前
株式会社エフアンドエフ
在宅健康チェックシステム
5か月前
HITOTSU株式会社
手術管理システム1
5か月前
キラル株式会社
プログラムの提供システムおよびその方法
12日前
株式会社サンクスネット
健康医療情報管理システム
2か月前
株式会社SECRET MEDICINE
管理装置
1か月前
二九精密機械工業株式会社
健康管理要素評価支援システム
4か月前
株式会社ジーシー
予測方法および予測システム
4か月前
日本光電工業株式会社
医療支援装置
6か月前
日本光電工業株式会社
医療支援装置
6か月前
続きを見る
他の特許を見る