TOP
|
特許
|
意匠
|
商標
特許ウォッチ
Twitter
他の特許を見る
10個以上の画像は省略されています。
公開番号
2025153491
公報種別
公開特許公報(A)
公開日
2025-10-10
出願番号
2024056003
出願日
2024-03-29
発明の名称
シート処理装置及び画像形成システム
出願人
キヤノンファインテックニスカ株式会社
代理人
弁理士法人中川国際特許事務所
主分類
B31B
70/04 20170101AFI20251002BHJP(紙,板紙または紙と同様の方法で加工される材料からなる物品の製造;紙,板紙または紙と同様の方法で加工される材料の加工)
要約
【課題】封入シートを折り処理して封筒シートに折り込み収納するにあたり、封入シートと封筒シートを同じ折りユニットで折り処理することが可能なシート処理装置及びこれを備えた画像形成システムを提供する。
【解決手段】封入シートと前記封入シートを収納可能な封筒シートとに折り処理を施して排出することが可能なシート処理装置において、シートに対して折り目を形成する折りローラ対22と、前記折りローラ対で折られる前のシートに対して接着剤を塗布可能な接着剤塗布ユニットGとを備え、前記封筒シートに対して前記接着剤塗布ユニットにより所定位置に接着剤を塗布するとともに、前記封入シートと重ねて前記折りローラ対により折り処理を実行する。
【選択図】図23
特許請求の範囲
【請求項1】
封入シートと封筒シートに対して折り処理を施すシート処理装置であって、
前記封入シートと前記封筒シートを搬送方向に搬送する搬送部と、
前記搬送部によって搬送された前記封入シートと前記封筒シートを挟持することで前記封入シートと前記封筒シートに折り目を形成する折りローラ対と、
前記折りローラ対で折られる前の前記封筒シートに対して接着剤を塗布する接着剤塗布ユニットと、を備え、
前記封筒シートは前記搬送方向及び前記搬送方向と交差する幅方向に関して前記封入シートよりも大きいシートであって、
前記封入シートと前記封筒シートを重ねた場合に前記封筒シートの前記幅方向に関して重ならない両側エリアに前記接着剤塗布ユニットにより接着剤が塗布され、
前記封入シートと前記接着剤が塗布された前記封筒シートを重ねた状態で前記折りローラ対に挟持させて搬送し、
前記折りローラ対による前記封入シート及び前記封筒シートへの折り目の形成と、前記封筒シートの前記接着剤が塗布された前記両側エリアの圧接をすることで、前記封筒シートを収納した封筒を作成可能なシート処理装置。
続きを表示(約 680 文字)
【請求項2】
さらに、前記封入シート及び前記封筒シートを前記折りローラ対のニップ部に向けて突き出す突き出し手段を備え、
前記突き出し手段と前記折りローラ対の前記ニップ部との間に、前記突き出し手段の側から前記ニップ部へ向かう方向へ前記封入シート、前記封筒シートの順に重ねた状態で前記突き出し手段により前記封入シート及び前記封筒シートを突き出し、前記折りローラ対により折り処理を実行することを特徴とする請求項1に記載のシート処理装置。
【請求項3】
前記封入シートに対して1回目の折り処理を施し、その後、前記1回目の折り処理によって形成された折り目とは異なる位置に2回目の折り処理を施すときに前記封入シートに前記封筒シートを重ねて前記折り処理を実行することを特徴とする請求項1に記載のシート処理装置。
【請求項4】
さらに、前記封入シートと前記封筒シートを前記幅方向に関して整合する整合部と、前記封入シートの前記搬送方向下流端を把持する把持部と、を備え、
前記整合部で前記封入シートを整合し、その後、前記把持部で前記封入シートを把持した状態で前記整合部で前記封入シートと重ねた状態の前記封筒シートを整合することを特徴とする請求項1に記載のシート処理装置。
【請求項5】
シートに画像を形成する画像形成装置と、
前記画像形成装置によって画像が形成された前記封入シートと前記封筒シートに折り処理を施す請求項1乃至4のいずれか一項に記載のシート折り装置と、
を備えた画像形成システム。
発明の詳細な説明
【技術分野】
【0001】
本発明は、例えば画像形成装置から送られたシートを折り処理するためのシート処理装置及びこれを備えた画像形成システムに関する。
続きを表示(約 2,000 文字)
【背景技術】
【0002】
従来、シートを折る装置を用いて封筒を作成するにあたり、第1折りユニットで封入シートを折り、折られた封入シートをセットして封筒に包み込むために封筒シートを第2折りユニットで折り込んで封入シートを収納した封筒を作成可能とした封書作成システムが提案されている(特許文献1)。
【先行技術文献】
【特許文献】
【0003】
特開2013-094973
【発明の概要】
【発明が解決しようとする課題】
【0004】
しかしながら、特許文献1のような封書作成システムにあっては封入シートを折る第1折りユニットと封筒シートを折る第2折りユニットが用いられているため、複数の折りユニットを設ける必要がある。このため、構成が複雑化していた。
【0005】
本発明は上記課題を解決するものであり、その目的は、簡易な構成で封入シートを収納した封筒を作成可能なシート処理装置及びこれを備えた画像形成システムを提供するものである。
【課題を解決するための手段】
【0006】
上記目的を達成するための本発明に係る代表的な構成は、封入シートと封筒シートに対して折り処理を施すシート処理装置であって、前記封入シートと前記封筒シートを搬送方向に搬送する搬送部と、前記搬送部によって搬送された前記封入シートと前記封筒シートを挟持することで前記封入シートと前記封筒シートに折り目を形成する折りローラ対と、前記折りローラ対で折られる前の前記封筒シートに対して接着剤を塗布する接着剤塗布ユニットと、を備え、前記封筒シートは前記搬送方向及び前記搬送方向と交差する幅方向に関して前記封入シートよりも大きいシートであって、前記封入シートと前記封筒シートを重ねた場合に前記封筒シートの前記幅方向に関して重ならない両側エリアに前記接着剤塗布ユニットにより接着剤が塗布され、前記封入シートと前記接着剤が塗布された前記封筒シートを重ねた状態で前記折りローラ対に挟持させて搬送し、前記折りローラ対による前記封入シート及び前記封筒シートへの折り目の形成と、前記封筒シートの前記接着剤が塗布された前記両側エリアの圧接をすることで、前記封筒シートを収納した封筒を作成可能なシート処理装置である。
【発明の効果】
【0007】
本発明にあっては、簡易な構成で封筒シートを収納した封筒の作成が可能となる。
【図面の簡単な説明】
【0008】
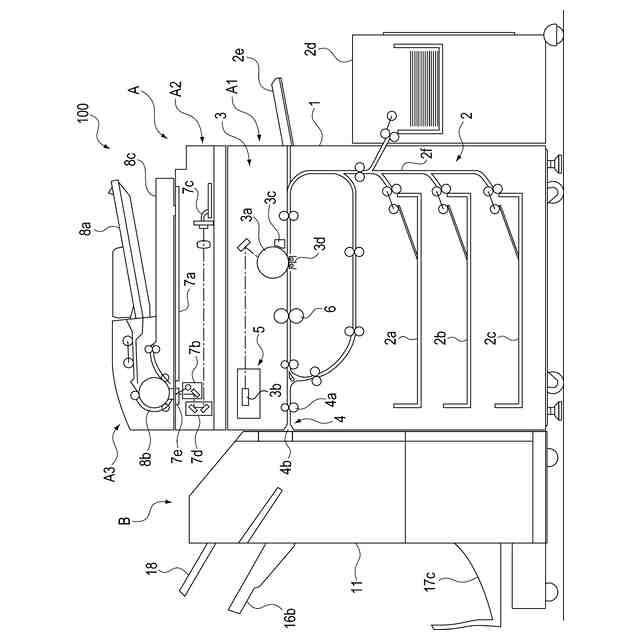
本実施形態の画像形成システムの全体構成の説明図
画像形成システムにおけるシート処理装置の全体構成の説明図
シート処理装置の折り処理装置を示す断面図
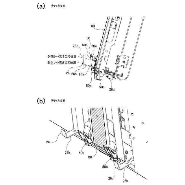
(a)はグリップ手段のグリップ状態を示す断面図、(b)はその斜視図
(a)はグリップ手段のグリップ解除状態を示す断面図、(b)はその斜視図
シート折り処理装置を示す平面図
接着剤塗布ユニットの斜視説明図
糊保持部の斜視説明図
(a)糊保持部と糊移動カムの斜視説明図、(b)糊移動カムのカム溝の説明図
糊移動カムの移動と糊保持部材の移動関係の説明図
制御構成のブロック図
シート折り処理の手順を示すフローチャート
シート折り処理の手順を示すフローチャート
シート折り処理の手順を示すフローチャート
シートの内三つ折り動作の断面説明図
シートの内三つ折り動作の断面説明図
シートの内三つ折り動作の断面説明図
シートの内三つ折り動作の断面説明図
シートの内三つ折り動作の断面説明図
シートの内三つ折り動作の断面説明図
封入シートと封筒シートの折り動作の断面説明図
封入シートと封筒シートの折り動作の断面説明図
封入シートと封筒シートの折り動作の断面説明図
封入シートと封筒シートの関係を示す説明図
【発明を実施するための形態】
【0009】
〔第1実施形態〕
次に図面を参照しつつ本発明の好適な実施形態に係るシート処理装置及びこれを備えた画像形成システムについて説明する。図1は、本発明の実施形態に係るシート処理装置を備えた画像形成システムの全体構成を概略的に示している。同図に示すように、画像形成システム100は、画像形成装置Aと、これに併設されるシート処理装置Bとから構成される。
【0010】
<画像形成装置>
画像形成装置Aは、画像形成ユニットA1とスキャナユニットA2とフィーダーユニットA3とで構成される。画像形成ユニットA1は、装置ハウジング1の内部に給送部2と画像形成部3と排出部4とデータ処理部5とを備えている。
(【0011】以降は省略されています)
この特許をJ-PlatPat(特許庁公式サイト)で参照する
関連特許
個人
高剛性段ボール
7か月前
個人
紙製ダンボールの加工器具、成形方法
3か月前
株式会社メタルクリエイション
貼合機
1日前
エントラスト株式会社
袋体の製造方法
5か月前
株式会社メタルクリエイション
窓貼機
4か月前
東罐興業株式会社
シート状部材搬送装置
9日前
個人
パッケージ箱作成用具およびパッケージ箱作成方法
2か月前
株式会社ユーシン
段ボール部材、
4か月前
サクラパックス株式会社
矯正装置
5か月前
株式会社ユウコス
シート加工装置
5か月前
三菱重工機械システム株式会社
処理装置
6か月前
株式会社ダイワハイテックス
箱型製造装置、及び箱型製造方法
6か月前
東罐興業株式会社
テープ搬送装置およびテープ搬送方法
9日前
株式会社アプリス
カップ容器及び製造方法
2か月前
トヨタ自動車株式会社
フィルム製造装置及びフィルム製造方法
6か月前
株式会社東京自働機械製作所
ジッパ貼り付け装置
4か月前
東洋アルミエコープロダクツ株式会社
保持枠付き容器の組み立て治具
1か月前
三菱重工機械システム株式会社
搬送装置、搬送方法
23日前
エステー産業株式会社
収容容器の製造方法及び製造装置
6か月前
株式会社トーモク
封筒型パッケージの製造方法
3か月前
株式会社トーモク
封筒型パッケージの製造方法
6か月前
王子ホールディングス株式会社
キッチンタオルロール
6か月前
株式会社トーモク
封筒型パッケージの製造方法
3か月前
株式会社トーモク
封筒型パッケージの製造方法
6か月前
株式会社協和製作所
積層段ボールシート及び製造方法
9日前
サクラパックス株式会社
包装用箱の製造方法および包装用箱
3か月前
富士フイルム株式会社
加工装置、及び袋状部材の製造方法
3か月前
東罐興業株式会社
カップ容器製造装置およびカップ容器製造方法
7か月前
株式会社トッパンインフォメディア
ラベル集積治具及びラベル集積装置
5か月前
押尾産業株式会社
注出口具の製造方法
4か月前
富士通フロンテック株式会社
RFIDタグ製造装置、及び、RFIDタグ製造方法
4か月前
三菱重工機械システム株式会社
制御装置、制御方法及びコンピュータプログラム
5か月前
株式会社ショーエイコーポレーション
包装袋の製造方法及び包装袋の製造装置
29日前
キヤノンファインテックニスカ株式会社
シート処理装置及び画像形成システム
8日前
三菱重工機械システム株式会社
シートの切り出し装置
6か月前
アクソン・エルエルシー
管状収縮スリーブ材を対象物に装着するための機械および方法
3か月前
続きを見る
他の特許を見る