TOP
|
特許
|
意匠
|
商標
特許ウォッチ
Twitter
他の特許を見る
公開番号
2025153588
公報種別
公開特許公報(A)
公開日
2025-10-10
出願番号
2024056136
出願日
2024-03-29
発明の名称
電池の処理方法
出願人
本田技研工業株式会社
,
日鉄鉱業株式会社
代理人
弁理士法人クシブチ国際特許事務所
主分類
H01M
10/54 20060101AFI20251002BHJP(基本的電気素子)
要約
【課題】使用済みの二次電池から、ニッケル、コバルト、あるいはマンガンを含む有価金属を回収する工程において、他の金属の混入を抑制することによって回収効率の向上を図る。
【解決手段】正極活物質を含む正極合材を有する正極と、負極と、硫化物系の固体電解質とを有し、銅製部材を用いて構成された全固体電池を対象電池とする電池の処理方法であって、銅製部材の硫化反応を促す条件下で対象電池の内容物を失活させる失活工程と、正極を構成する材料から正極合材を分離させる分離工程と、分離工程で分離された正極合材を含むスラリーを形成させる処理工程と、スラリーから、銅製部材に由来する固形物を浮遊選別により除去する浮遊選別工程と、浮遊選別工程で固形物が除去されたスラリーから正極活物質を回収する回収工程と、を含む、電池の処理方法。
【選択図】図2
特許請求の範囲
【請求項1】
正極活物質を含む正極合材を有する正極と、負極と、硫化物系の固体電解質とを有し、銅製部材を用いて構成された全固体電池を対象電池とする電池の処理方法であって、
前記銅製部材の硫化反応を促す条件下で前記対象電池の内容物を失活させる失活工程と、
前記正極を構成する材料から前記正極合材を分離させる分離工程と、
前記分離工程で分離された前記正極合材を含むスラリーを形成させる処理工程と、
前記スラリーから、前記銅製部材に由来する固形物を浮遊選別により除去する浮遊選別工程と、
前記浮遊選別工程で前記固形物が除去された前記スラリーから前記正極活物質を回収する回収工程と、
を含む、電池の処理方法。
続きを表示(約 330 文字)
【請求項2】
前記失活工程で、水蒸気を含む処理環境に前記対象電池の内容物を配置することにより、前記対象電池の内容物を失活させる、請求項1に記載の電池の処理方法。
【請求項3】
前記回収工程で、前記浮遊選別工程において前記固形物から分離されたテールを乾燥させることにより、前記正極活物質を回収する、請求項1に記載の電池の処理方法。
【請求項4】
前記浮遊選別工程で、前記スラリーに捕収剤及び起泡剤を添加することにより前記固形物を浮遊選別により除去する、請求項1から請求項3のいずれかに記載の電池の処理方法。
【請求項5】
前記銅製部材は前記負極を構成する銅箔である、請求項1に記載の電池の処理方法。
発明の詳細な説明
【技術分野】
【0001】
本発明は、電池の処理方法に関する。
続きを表示(約 1,700 文字)
【背景技術】
【0002】
近年、より多くの人々が手ごろで信頼でき、持続可能かつ先進的なエネルギーへのアクセスを確保できるようにするため、エネルギーの効率化に貢献する二次電池のリサイクルに関する研究開発が行われている。例えば、リチウムイオン電池や全固体電池には、正極板と負極板とがセパレータを介して積層された積層電極を備えるものがある。この種の電池の正極合材には、ニッケル系、コバルト系、及びマンガン系からなる三元系正極材料(NCM)が用いられている。そこで、従来、使用済みの二次電池からNCM等の有価金属を回収する手法が提案されている。
【0003】
例えば、特許文献1には、硫化物系固体電解質材料を含む電池部材を、水を含む処理液に浸漬させることにより、硫化水素を発生させて、硫化物系固体電解質材料に含まれるリチウムを溶解させる方法が開示されている。
【先行技術文献】
【特許文献】
【0004】
国際公開WO2010/106618号
【発明の概要】
【発明が解決しようとする課題】
【0005】
二次電池には、アルミニウムや銅といった金属材料が使用されており、例えば、負極集電体として銅箔が用いられる。これらの金属材料は、二次電池からニッケル、コバルト、マンガン等を含む正極材料を回収する際に、正極材料に混入することがあった。このため、正極材料の回収効率を高める上で、金属材料の混入を抑制することが望まれていた。
本願は上記課題の解決のため、使用済みの二次電池から、ニッケル、コバルト、あるいはマンガンを含む有価金属を回収する工程において、他の金属の混入を抑制することによって回収効率の向上を図ることを目的としたものである。そして、延いてはエネルギーの効率化に寄与するものである。
【課題を解決するための手段】
【0006】
本開示の一態様は、正極活物質を含む正極合材を有する正極と、負極と、硫化物系の固体電解質とを有し、銅製部材を用いて構成された全固体電池を対象電池とする電池の処理方法であって、前記銅製部材の硫化反応を促す条件下で前記対象電池の内容物を失活させる失活工程と、前記正極を構成する材料から前記正極合材を分離させる分離工程と、前記分離工程で分離された前記正極合材を含むスラリーを形成させる処理工程と、前記スラリーから、前記銅製部材に由来する固形物を浮遊選別により除去する浮遊選別工程と、前記浮遊選別工程で前記固形物が除去された前記スラリーから前記正極活物質を回収する回収工程と、を含む、電池の処理方法である。
【発明の効果】
【0007】
本開示の一態様によれば、使用済みの二次電池からニッケル、コバルト、あるいはマンガンを含む有価金属を回収する工程において、電池の銅製部材に由来する金属の混入を抑制し、有価金属の回収効率の向上を図ることができる。
【図面の簡単な説明】
【0008】
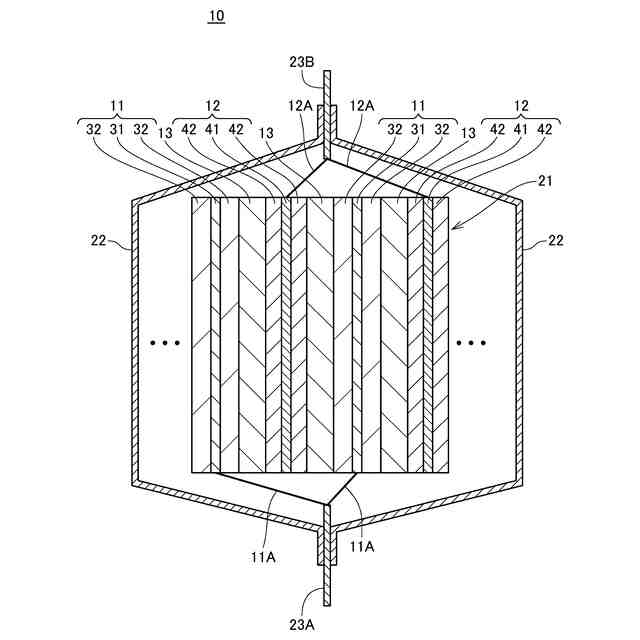
本開示の適用対象の電池の例として対象電池の構成を示す図である。
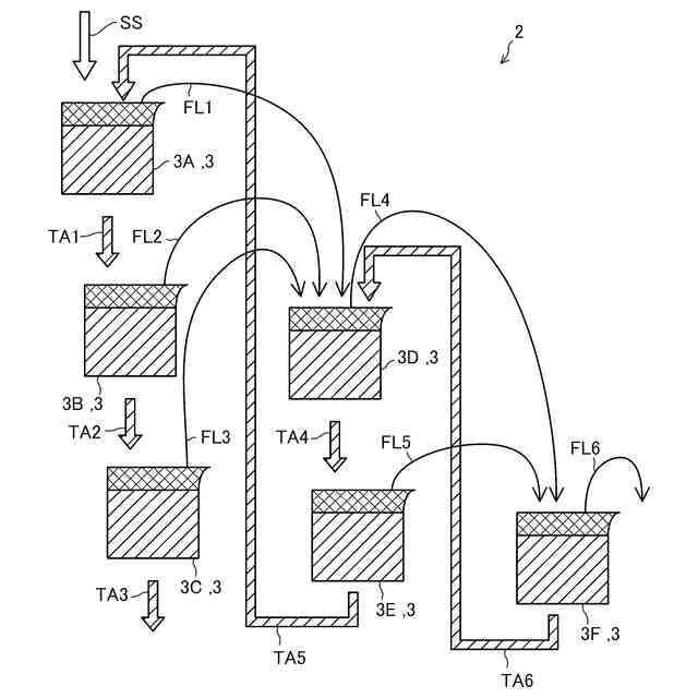
電池の処理方法を示す図である。
浮遊選別工程における処理例を示す模式図である。
【発明を実施するための形態】
【0009】
以下、図面を参照して本発明の実施の形態について説明する。
【0010】
[1.対象電池の構成]
図1は、本開示の適用対象の電池の例として対象電池10の構成を示す図であり、対象電池10の断面を模式的に示す。対象電池10は、充電および放電が可能な二次電池である。本実施形態で説明する対象電池10は、ラミネート材22に電池材料を封入したラミネート型の電池であり、全体として平板形状である。対象電池10は、パウチ型の電池、ラミネート型の電池セル、パウチ型の電池セル、リチウムイオン電池セル、及び、電池モジュール等と言うことができる。
(【0011】以降は省略されています)
この特許をJ-PlatPat(特許庁公式サイト)で参照する
関連特許
本田技研工業株式会社
車両
3日前
本田技研工業株式会社
車両
4日前
本田技研工業株式会社
車両
4日前
本田技研工業株式会社
車両
3日前
本田技研工業株式会社
移動体
5日前
本田技研工業株式会社
飛行体
4日前
本田技研工業株式会社
制御装置
3日前
本田技研工業株式会社
排気装置
3日前
本田技研工業株式会社
電気機器
4日前
本田技研工業株式会社
排気装置
3日前
本田技研工業株式会社
エンジン
4日前
本田技研工業株式会社
電気機器
4日前
本田技研工業株式会社
内燃機関
3日前
本田技研工業株式会社
除草装置
3日前
本田技研工業株式会社
固体電池
3日前
本田技研工業株式会社
電気部品
4日前
本田技研工業株式会社
清掃装置
4日前
本田技研工業株式会社
収容装置
4日前
本田技研工業株式会社
切断装置
10日前
本田技研工業株式会社
内燃機関
4日前
本田技研工業株式会社
電気機器
5日前
本田技研工業株式会社
発電セル
3日前
本田技研工業株式会社
固体電池
5日前
本田技研工業株式会社
排気装置
3日前
本田技研工業株式会社
電気機器
5日前
本田技研工業株式会社
鞍乗型車両
3日前
本田技研工業株式会社
樹脂成型品
4日前
本田技研工業株式会社
電極積層体
3日前
本田技研工業株式会社
全固体電池
5日前
本田技研工業株式会社
鞍乗型車両
3日前
本田技研工業株式会社
リアクトル
3日前
本田技研工業株式会社
鞍乗型車両
3日前
本田技研工業株式会社
全固体電池
5日前
本田技研工業株式会社
車両制御装置
6日前
本田技研工業株式会社
車両制御装置
3日前
本田技研工業株式会社
鞍乗り型車両
10日前
続きを見る
他の特許を見る