TOP
|
特許
|
意匠
|
商標
特許ウォッチ
Twitter
他の特許を見る
公開番号
2025153600
公報種別
公開特許公報(A)
公開日
2025-10-10
出願番号
2024056152
出願日
2024-03-29
発明の名称
作業機械および方法
出願人
株式会社小松製作所
代理人
弁理士法人志賀国際特許事務所
主分類
E02F
9/00 20060101AFI20251002BHJP(水工;基礎;土砂の移送)
要約
【課題】複数の燃料電池モジュールの停止処理によって生じる発電電力を適切に消費する。
【解決手段】制御装置は、第一の燃料電池モジュールまたは燃料電池モジュール群の停止処理を開始させる。制御装置は、第一の燃料電池モジュールまたは燃料電池モジュール群の停止処理の開始後に、第二の燃料電池モジュールまたは燃料電池モジュール群の停止処理を開始させる。
【選択図】図3
特許請求の範囲
【請求項1】
作業機を備える作業機械であって、
複数の燃料電池モジュールと、
制御装置と、
を備え、
前記制御装置は、
前記作業機械を停止させる停止要求信号を受信した場合、前記複数の燃料電池モジュールの一部である第一の燃料電池モジュールまたは燃料電池モジュール群の停止処理を開始させ、
前記第一の燃料電池モジュールまたは燃料電池モジュール群の停止処理の開始後に、前記複数の燃料電池モジュールの一部である第二の燃料電池モジュールまたは燃料電池モジュール群の停止処理を開始させ、
前記第一の燃料電池モジュールまたは燃料電池モジュール群の停止処理により発生する発電電力、および前記第二の燃料電池モジュールまたは燃料電池モジュール群の停止処理により発生する発電電力を、負荷または蓄電装置に供給する、
作業機械。
続きを表示(約 1,200 文字)
【請求項2】
前記制御装置は、前記第一の燃料電池モジュールまたは燃料電池モジュール群の停止処理を開始させた後、前記第二の燃料電池モジュールまたは燃料電池モジュール群の停止処理を開始させるまで、待機時間だけ待機する、
請求項1に記載の作業機械。
【請求項3】
前記待機時間は、前記複数の燃料電池モジュールが発電する電力がゼロにならない時間である
請求項2に記載の作業機械。
【請求項4】
前記待機時間は、前記複数の燃料電池モジュールに残存する水素および酸素の反応が完了するまでの時間の計算によって決定された時間である
請求項3に記載の作業機械。
【請求項5】
前記待機時間は、前記複数の燃料電池モジュールの出力電圧の検出値に基づいて決定された時間である
請求項4に記載の作業機械。
【請求項6】
前記第一の燃料電池モジュールまたは燃料電池モジュール群の停止処理により発生する発電電力、および前記第二の燃料電池モジュールまたは燃料電池モジュール群の停止処理により発生する発電電力は、いずれも前記負荷または前記蓄電装置の許容電力の上限より低い、
請求項1に記載の作業機械。
【請求項7】
前記制御装置は、
前記第一の燃料電池モジュールまたは燃料電池モジュール群の停止処理を開始させる前に、前記燃料電池モジュールの出力電力をゼロとする指令を出力する
請求項1に記載の作業機械。
【請求項8】
前記作業機械は、前記作業機を動作させるための作動油を圧送する油圧ポンプを前記負荷として備え、
前記制御装置は、
前記油圧ポンプを動作させることで、前記第一の燃料電池モジュールまたは燃料電池モジュール群の停止処理により発生する発電電力、および前記第二の燃料電池モジュールまたは燃料電池モジュール群の停止処理により発生する発電電力を消費させる、
請求項1または請求項6に記載の作業機械。
【請求項9】
前記制御装置は、
前記負荷または前記蓄電装置の許容電力の上限に基づいて、前記第一の燃料電池モジュールまたは燃料電池モジュール群、および前記第二の燃料電池モジュールまたは燃料電池モジュール群を構成する燃料電池モジュールの数を決定する
請求項6に記載の作業機械。
【請求項10】
作業機を備える作業機械であって、
複数の燃料電池モジュールと、
制御装置と、
を備え、
前記複数の燃料電池モジュールは少なくとも1つの前記燃料電池モジュールからなる燃料電池モジュールの組を複数有し、
制御装置は、
それぞれの前記燃料電池モジュールの組を異なるタイミングで停止させる、
作業機械。
(【請求項11】以降は省略されています)
発明の詳細な説明
【技術分野】
【0001】
本開示は、作業機械および方法に関する。
続きを表示(約 1,600 文字)
【背景技術】
【0002】
作業機械に係る技術分野において、燃料電池モジュールを搭載した作業機械が知られている。燃料電池は、水素と酸素との化学反応により電気エネルギーを生成する。燃料である水素は水素ガスを充填したタンクから供給される。また、酸素は大気から供給される。
【0003】
燃料電池の停止処理において、アノードに水素が残存し、カソードに空気が残存する場合、燃料電池の停止中に空気と水素とが結合し、望まない電位が生じて酸化や腐食が生じる可能性がある。このため、燃料電池に残存する水素と酸素とを反応させきることが望ましい。このとき、燃料電池に残存する水素と酸素とを反応させると余剰電力が発生する。
特許文献1には、エネルギー効率を高めるために、燃料電池の停止時における余剰電力を、蓄電器に充電させる技術が開示されている。
【先行技術文献】
【特許文献】
【0004】
特開2018-006125号公報
【発明の概要】
【発明が解決しようとする課題】
【0005】
しかしながら、作業機械に搭載された蓄電装置の残容量は、必ずしも十分な容量であるとは限らず、すべての余剰電力を蓄電装置の充電することができない可能性がある。特許文献1では、蓄電装置の残容量がなくなった場合に、蓄電装置の電力と燃料電池の発電電力とを負荷に消費させることが開示されている。一方で、作業機械が複数の燃料電池モジュールを搭載する場合などには、停止処理時の発電電力が負荷の消費電力の上限を超える可能性がある。この場合、母線電圧が母線の許容電圧を超えてしまう。
【0006】
本開示の目的は、複数の燃料電池モジュールの停止処理によって生じる発電電力を適切に消費することができる作業機械および方法を提供することにある。
【課題を解決するための手段】
【0007】
本発明の一態様によれば、作業機械は、作業機を備える作業機械であって、複数の燃料電池モジュールと、制御装置と、を備え、前記制御装置は、前記複数の燃料電池モジュールの一部である第一の燃料電池モジュールまたは燃料電池モジュール群の停止処理を開始させ、前記第一の燃料電池モジュールまたは燃料電池モジュール群の停止処理の開始後に、前記複数の燃料電池モジュールの一部である第二の燃料電池モジュールまたは燃料電池モジュール群の停止処理を開始させ、前記第一の燃料電池モジュールまたは燃料電池モジュール群の停止処理により発生する発電電力、および前記第二の燃料電池モジュールまたは燃料電池モジュール群の停止処理により発生する発電電力を、負荷または蓄電装置に供給する。
【発明の効果】
【0008】
上記態様によれば、作業機械は、複数の燃料電池モジュールの停止処理によって生じる発電電力を適切に消費することができる。
【図面の簡単な説明】
【0009】
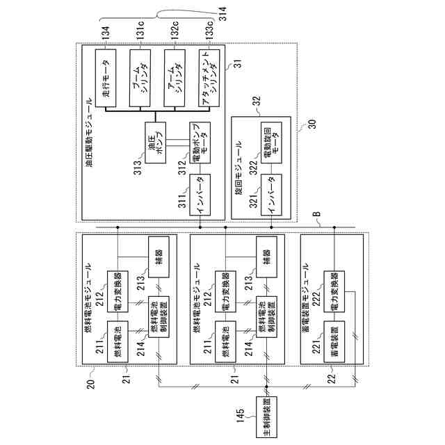
第一実施形態に係る作業機械の斜視図である。
第一実施形態に係る作業機械の構成を示す概略ブロック図である。
第一実施形態に係る作業機械が備える制御系の構成を示す概略ブロック図である。
第一実施形態に係る作業機械の停止処理を示すフローチャートである。
実施形態に係るコンピュータの構成を示す概略ブロック図である。
【発明を実施するための形態】
【0010】
〈第一実施形態〉
《作業機械1の構成》
図1は、第一実施形態に係る作業機械1の斜視図である。第一実施形態に係る作業機械1は、例えば油圧ショベルである。作業機械1は、走行体110、旋回体120、作業機130、運転室140、機械室150を備える。油圧ショベルである作業機械1は、作業現場等において土砂などを掘削、整地する。走行体110と旋回体120とは、車体を構成する。
(【0011】以降は省略されています)
特許ウォッチbot のツイートを見る
この特許をJ-PlatPat(特許庁公式サイト)で参照する
関連特許
株式会社小松製作所
作業車両
19日前
株式会社小松製作所
作業機械および方法
8日前
株式会社小松製作所
作業機械および方法
8日前
株式会社小松製作所
作業機械および方法
8日前
株式会社小松製作所
作業機械および方法
9日前
株式会社小松製作所
発注システムおよび発注方法
10日前
株式会社小松製作所
発注システムおよび発注方法
10日前
株式会社小松製作所
作業車両および作業車両の制御方法
8日前
株式会社小松製作所
作業機械および作業機械の制御方法
8日前
株式会社小松製作所
作業車両用作動油タンク及び作業車両
16日前
株式会社小松製作所
油圧駆動システムおよび油圧駆動方法
9日前
株式会社小松製作所
システム、作業機械、および制御方法
8日前
株式会社小松製作所
作業車両の制御システム及び作業車両
8日前
株式会社小松製作所
作業機械システムおよび作業機械の制御方法
9日前
株式会社小松製作所
作業機械システムおよび作業機械の制御方法
9日前
株式会社小松製作所
作業機械の点検支援システム及び点検支援方法
8日前
株式会社小松製作所
作業機械、及び、作業機械を制御するための方法
11日前
株式会社小松製作所
散水システム、散水機械および散水装置の制御方法
10日前
株式会社小松製作所
散水システム、作業機械および散水装置の制御方法
10日前
株式会社小松製作所
感情推定装置、感情推定方法および遠隔操作システム
11日前
株式会社小松製作所
認証情報表示システム、情報端末、及び認証情報表示方法
8日前
株式会社小松製作所
作業機械、作業機械のシステムおよび作業機械の制御方法
10日前
株式会社小松製作所
作業機械、作業機械のシステムおよび作業機械の制御方法
10日前
株式会社小松製作所
作業機械の画像表示システムおよび作業機械の画像表示方法
17日前
株式会社小松製作所
作業機械の暖房装置、および作業機械の暖房装置の制御方法
9日前
株式会社小松製作所
作業機械の表示システム、作業機械、及び作業機械の表示方法
10日前
株式会社小松製作所
故障した作業機械の故障原因を診断するためのシステム及び方法
19日前
株式会社小松製作所
表示制御装置、情報端末、表示制御方法、及び表示制御システム
8日前
株式会社小松製作所
作業機械、作業機械を含むシステム、および作業機械の制御方法
8日前
株式会社小松製作所
作業機械を含むシステム、作業機械、および作業機械の自動走行制御方法
8日前
株式会社小松製作所
作業機械の制御システム、作業機械、作業機械の遠隔操作システム、及び作業機械の制御方法
9日前
株式会社小松製作所
作業機械の制御システム、作業機械、作業機械の遠隔操作システム、及び作業機械の制御方法
9日前
株式会社小松製作所
作業機械の制御システム、作業機械、作業機械の遠隔操作システム、及び作業機械の制御方法
9日前
株式会社小松製作所
作業機械の制御システム、作業機械、作業機械の遠隔操作システム、及び作業機械の制御方法
9日前
株式会社小松製作所
作業機械の制御システム、作業機械、作業機械の遠隔操作システム、及び作業機械の制御方法
9日前
FKS株式会社
擁壁
19日前
続きを見る
他の特許を見る