TOP
|
特許
|
意匠
|
商標
特許ウォッチ
Twitter
他の特許を見る
公開番号
2025142720
公報種別
公開特許公報(A)
公開日
2025-10-01
出願番号
2024042234
出願日
2024-03-18
発明の名称
作業機械の画像表示システムおよび作業機械の画像表示方法
出願人
株式会社小松製作所
代理人
弁理士法人深見特許事務所
主分類
E02F
9/24 20060101AFI20250924BHJP(水工;基礎;土砂の移送)
要約
【課題】周囲の状況を認識したうえでアタッチメントの特性の設定の確認ができる作業機械の画像表示システムおよび作業機械の画像表示方法を提供する。
【解決手段】周囲カメラ32は、作業機械100の周囲を撮像する。コントローラ20は、アタッチメント8の特性の設定変更に関する設定画像50Bと、周囲カメラ32により撮像された作業機械100の周囲画像50Aとを同時にモニタ21に表示する用制御する。
【選択図】図4
特許請求の範囲
【請求項1】
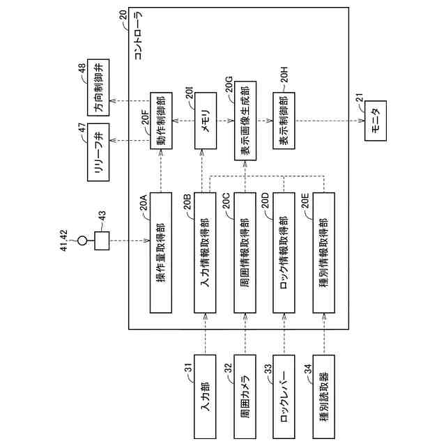
アタッチメントを取り付け可能な作業機械の画像表示システムであって、
前記作業機械の周囲を撮像する周囲カメラと、
モニタと、
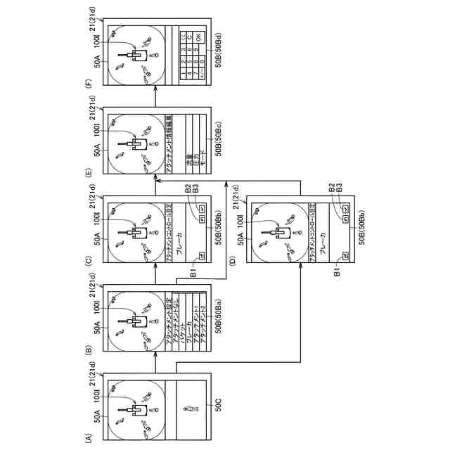
前記アタッチメントの特性の設定変更に関する設定画像と、前記周囲カメラにより撮像された前記作業機械の周囲画像とを同時に前記モニタに表示するコントローラと、を備え、
前記コントローラは、前記アタッチメントの前記特性の設定変更要否を確認する画像を前記設定画像として前記周囲画像と同時に前記モニタに表示する、作業機械の画像表示システム。
続きを表示(約 1,400 文字)
【請求項2】
前記アタッチメントの前記特性の設定変更要否を確認する前記画像は、前記アタッチメントの前記特性の変更を完了する操作部を有する、請求項1に記載の作業機械の画像表示システム。
【請求項3】
前記コントローラは、前記アタッチメントの前記特性を入力する画像を前記設定画像として前記周囲画像と同時に前記モニタに表示する、請求項1に記載の作業機械の画像表示システム。
【請求項4】
ロック状態とロック解除状態とを切り替え可能なロックレバーをさらに備え、
前記コントローラは、前記ロックレバーにおける前記ロック状態から前記ロック解除状態への切り替えに基づいて前記周囲画像を前記モニタに表示する、請求項1に記載の作業機械の画像表示システム。
【請求項5】
ロック状態とロック解除状態とを切り替え可能なロックレバーをさらに備え、
前記コントローラは、前記ロックレバーを前記ロック状態から前記ロック解除状態へ切り替える前後において前記設定画像を前記モニタに継続的に表示する、請求項1に記載の作業機械の画像表示システム。
【請求項6】
前記周囲画像は、前記作業機械と前記作業機械の周囲を上方から下方に向けて俯瞰した俯瞰画像である、請求項1に記載の作業機械の画像表示システム。
【請求項7】
アタッチメントを取り付け可能な作業機械の画像表示システムであって、
前記作業機械の周囲を撮像する周囲カメラと、
モニタと、
前記アタッチメントの種別を読み取る種別読取器と、
前記種別読取器により読み取られた前記アタッチメントの種別に応じた前記アタッチメントの特性の設定変更要否を確認するための表示画像と、前記周囲カメラにより撮像された前記作業機械の周囲画像とを同時に前記モニタに表示するコントローラと、を備えた、作業機械の画像表示システム。
【請求項8】
前記アタッチメントの前記特性の設定変更要否を確認する前記画像は、前記アタッチメントの前記特性の変更を完了する操作部を有する、請求項7に記載の作業機械の画像表示システム。
【請求項9】
アタッチメントを取り付け可能な作業機械の画像表示方法であって、
前記作業機械の周囲を撮像した周囲撮像情報を取得するステップと、
前記周囲撮像情報に基づいて前記作業機械の周囲画像を生成するステップと、
前記アタッチメントの特性の設定変更要否を確認するための設定画像と、前記周囲画像とを同時にモニタに表示するステップと、を備えた、作業機械の画像表示方法。
【請求項10】
アタッチメントを取り付け可能な作業機械の画像表示方法であって、
前記作業機械の周囲を撮像した周囲撮像情報を取得するステップと、
前記アタッチメントの種別を読み取る種別読取器から前記アタッチメントの前記種別を取得するステップと、
前記周囲撮像情報に基づいて前記作業機械の周囲画像を生成するステップと、
取得された前記アタッチメントの前記種別に応じた前記アタッチメントの特性の設定変更要否を確認するための表示画像と、前記周囲画像とを同時にモニタに表示するステップと、を備えた、作業機械の画像表示方法。
発明の詳細な説明
【技術分野】
【0001】
本開示は、作業機械の画像表示システムおよび作業機械の画像表示方法に関する。
続きを表示(約 1,200 文字)
【背景技術】
【0002】
油圧ショベルなどの作業機械においてアタッチメントを交換する際に、アタッチメント用流体圧回路の設定をアタッチメントに応じて切り替える技術が、たとえば特開2008-266975号公報(特許文献1)に記載されている。
【先行技術文献】
【特許文献】
【0003】
特開2008-266975号公報
【発明の概要】
【発明が解決しようとする課題】
【0004】
特許文献1に記載のようにアタッチメントを交換する際には交換後のアタッチメントに応じてアタッチメントの特性を設定する必要があるが、アタッチメントの特性の設定時における手間を減らしたいとの要望がある。
【0005】
本開示の目的は、周囲の状況を認識したうえでアタッチメントの特性の設定の確認ができる作業機械の画像表示システムおよび作業機械の画像表示方法を提供することである。
【課題を解決するための手段】
【0006】
本開示の一の作業機械の画像表示システムは、アタッチメントを取り付け可能な作業機械の画像表示システムであって、周囲カメラと、モニタと、コントローラとを備える。周囲カメラは、作業機械の周囲を撮像する。コントローラは、アタッチメントの特性の設定変更に関する設定画像と、周囲カメラにより撮像された作業機械の周囲画像とを同時にモニタに表示する。コントローラは、アタッチメントの特性の設定変更要否を確認する画像を設定画像として周囲画像と同時にモニタに表示する。
【0007】
本開示の他の作業機械の画像表示システムは、アタッチメントを取り付け可能な作業機械の画像表示システムであって、周囲カメラと、モニタと、種別読取器と、コントローラとを備える。周囲カメラは、作業機械の周囲を撮像する。種別読取器は、アタッチメントの種別を読み取る。コントローラは、種別読取器により読み取られたアタッチメントの種別に応じたアタッチメントの特性の設定変更要否を確認するための表示画像と、周囲カメラにより撮像された作業機械の周囲画像とを同時にモニタに表示する。
【0008】
本開示の一の作業機械の画像表示方法は、アタッチメントを取り付け可能な作業機械の画像表示方法であって以下のステップを備える。
【0009】
作業機械の周囲を撮像した周囲撮像情報が取得される。周囲撮像情報に基づいて作業機械の周囲画像が生成される。アタッチメントの特性の設定変更要否を確認するための設定画像と、周囲画像とが同時にモニタに表示される。
【0010】
本開示の他の作業機械の画像表示方法は、アタッチメントを取り付け可能な作業機械の画像表示方法であって以下のステップを備える。
(【0011】以降は省略されています)
この特許をJ-PlatPat(特許庁公式サイト)で参照する
関連特許
株式会社小松製作所
作業車両
3日前
株式会社小松製作所
作業車両
3日前
株式会社小松製作所
作業車両用作動油タンク及び作業車両
今日
トヨタ自動車株式会社
運行管理装置
6日前
トヨタ自動車株式会社
運行管理装置
6日前
トヨタ自動車株式会社
車両走行管理装置
6日前
株式会社小松製作所
作業機械の操作システム、および作業機械の操作方法
6日前
株式会社小松製作所
作業機械を制御するためのシステム、方法、及び作業機械
3日前
株式会社小松製作所
作業機械の画像表示システムおよび作業機械の画像表示方法
1日前
株式会社小松製作所
モータグレーダおよびモータグレーダのドローバ姿勢算出方法
15日前
株式会社小松製作所
故障した作業機械の故障原因を診断するためのシステム及び方法
3日前
株式会社小松製作所
作業機械および作業機械の制御方法
13日前
個人
鋼管
14日前
FKS株式会社
擁壁
3日前
株式会社クボタ
作業車
1日前
株式会社クボタ
作業車
1日前
株式会社奥村組
ケーソン工法
6日前
個人
擁壁用ブロックおよび擁壁
今日
株式会社奥村組
ケーソン刃口金物
6日前
株式会社大林組
建物の構造
今日
株式会社武井工業所
積みブロック
23日前
株式会社大林組
袋体付き排水パイプ
13日前
株式会社熊谷組
密度計測方法
1日前
株式会社大林組
袋体付き排水パイプ
13日前
ヤマト発動機株式会社
浮遊型消波装置
3日前
日立建機株式会社
作業機械
21日前
大和ハウス工業株式会社
杭抜き先端具
7日前
日立建機株式会社
作業機械
3日前
ゼニヤ海洋サービス株式会社
通船ゲート
13日前
株式会社フジタ
掘削機
22日前
鹿島建設株式会社
接続方法および接続構造
13日前
JFEスチール株式会社
鋼管矢板の継手構造
15日前
JFEスチール株式会社
鋼管矢板の継手構造
3日前
株式会社フジタ
建築物とその施工方法
13日前
JFEスチール株式会社
鋼管矢板の継手構造
15日前
株式会社大林組
建物の構築方法及び建物
13日前
続きを見る
他の特許を見る