TOP
|
特許
|
意匠
|
商標
特許ウォッチ
Twitter
他の特許を見る
公開番号
2025153768
公報種別
公開特許公報(A)
公開日
2025-10-10
出願番号
2024056395
出願日
2024-03-29
発明の名称
運転支援装置
出願人
マツダ株式会社
代理人
個人
,
個人
主分類
B60W
50/08 20200101AFI20251002BHJP(車両一般)
要約
【課題】 ドライバの脳内モデル(ドライバ内部モデル)を考慮することにより、個々のドライバにとって最適化された的確な運転支援を行い得る運転支援装置を提供する。
【解決手段】 運転支援装置において、走行シーン認識手段31と、運転操作検出手段32と、ドライバモニタリング手段33と、走行シーンを運転中にドライバモニタリング手段33による検出結果が基準変動幅を超えて変動した操作要素を相互作用関連操作に特定する相互作用関連操作特定手段と、相互作用関連操作を含む走行シーンにおいて相互作用関連操作に関するガイダンスを報知するようにHMI26を制御する運転支援制御手段35とを備えた。
【選択図】 図2
特許請求の範囲
【請求項1】
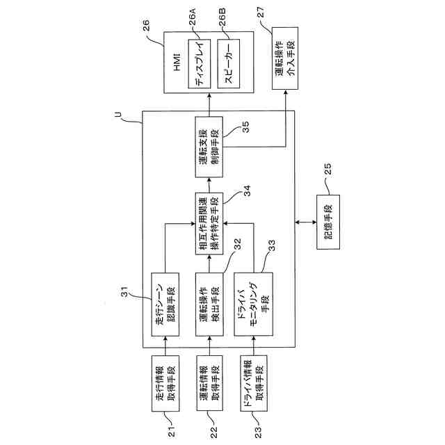
車両のドライバの運転を支援する運転支援装置において、
前記車両の走行シーンを認識する走行シーン認識手段と、
前記ドライバの生理情報及び/又は挙動を検出するドライバモニタリング手段と、
前記ドライバの運転操作を検出する運転操作検出手段と、
前記ドライバに運転に関する情報を報知するインターフェース手段と、
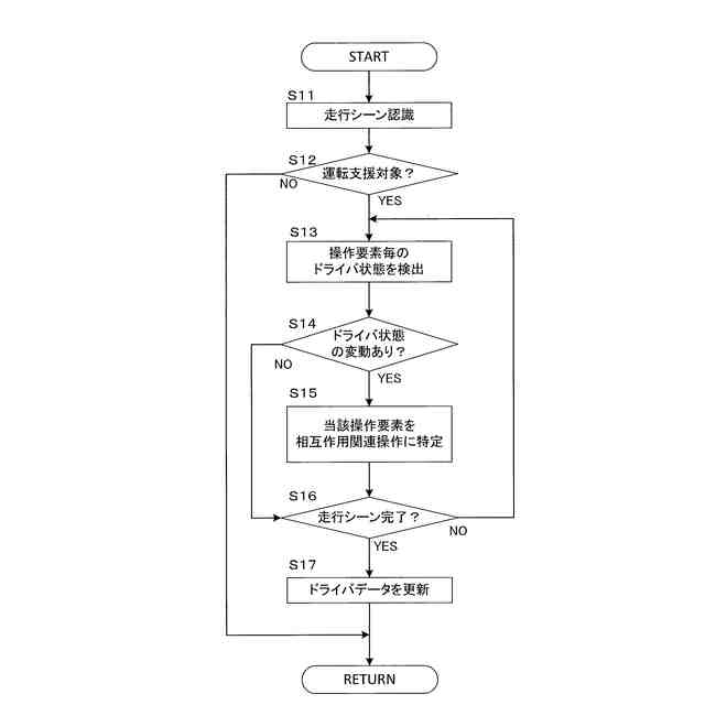
前記車両の走行シーンにおいて必要となる運転操作を複数の操作要素に分解するとともに、前記ドライバの運転操作中に前記ドライバモニタリング部により検出された検出結果が所定の基準変動幅を超えて変動した操作要素を相互作用関連操作に特定する相互作用関連操作特定手段と、
前記相互作用関連操作を含む走行シーンにおいて、前記相互作用関連操作に関するガイダンスを報知するように前記インターフェース手段を制御する運転支援制御手段と
を備えた運転支援装置。
続きを表示(約 300 文字)
【請求項2】
請求項1に記載の運転支援装置において、
前記運転支援制御手段は、前記相互作用関連操作を含む走行シーンの直前又は前記前記相互作用関連操作を含む走行シーンを走行中に前記ガイダンスを報知するように、インターフェース手段を制御する運転支援装置。
【請求項3】
請求項1に記載の運転支援装置において、
前記ガイダンスは、前記相互作用関連操作の実行タイミング及び/又は操作量に関する情報である運転支援装置。
【請求項4】
請求項1に記載の運転支援装置において、
前記ドライバの生理情報は、ドライバの心拍数及び/又は発汗量である運転支援装置。
発明の詳細な説明
【技術分野】
【0001】
本発明は、自動車等の車両のドライバの運転を支援する運転支援装置に関し、特に、ドライバの脳内モデル(ドライバ内部モデル)を考慮した運転支援を行うことにより、個々のドライバに最適化された支援を提供できるようにした改良に関するものである。
続きを表示(約 2,100 文字)
【背景技術】
【0002】
近年、自動車等の車両には、ドライバの運転を支援する運転支援装置(例えば、先進運転支援システム(ADAS))が搭載されるようになってきており、このような運転支援装置に関して、様々な技術が提案されてきている。
【0003】
例えば、特許文献1(特開2022-178816号公報)には、車両制御装置において、ドライバの運転(運転性能)を認知・判断・操作に分けて観察し、不足すると判断された運転性能について、最適なタイミングで運転支援(コーチング)を行うことにより、ドライバの運転技能を向上させることのできる技術が提案されている。また、特許文献2(特許第6428748号)には、運転支援システムにおいて、感覚刺激の適切な付与(視覚及び聴覚刺激の付与や、アクセル感度やステアリングハンドルの感度の変更等)によって、車両の運転者を目標感情状態(例えば快状態)に向けて誘導する技術が提案されている。更に、特許文献3(特許第6221776号)には、運転評価装置において、運転操作を評価し、運転者にこの評価結果を報知することにより、運転者に自身が行った運転操作が適切であったか否かを認識させることができるようにした技術が提案されている。
【先行技術文献】
【特許文献】
【0004】
特開2022-178816号公報
特許第6428748号
特許第6221776号
【発明の概要】
【発明が解決しようとする課題】
【0005】
このように、従来の運転支援装置においても、HMI(ヒューマン・マシン・インターフェース)において、ドライバが運転支援を受容し易くした技術の提案はなされてきている。しかしながら、従来技術においては、個々のドライバの脳内における処理を考慮(モデル化)することにより、運転支援を各ドライバに対して最適化していくという着想は存在していなかった。例えば、車両の1つの走行シーン(例えば本線合流やバック駐車等)に含まれる一連の運転操作の中で苦手な運転操作は、個々のドライバで異なると考えられるが、各ドライバの苦手な運転操作を克服できるように、そのドライバにとって最適化された運転支援を行うような技術は存在していなかった。
【0006】
本発明は、このような課題に着目してなされたもので、ドライバの脳内モデル(ドライバ内部モデル)を考慮することにより、個々のドライバにとって最適化された的確な運転支援を行い得る運転支援装置を提供することを目的とする。
【課題を解決するための手段】
【0007】
前記目的を達成するため、本発明にあっては、次のような解決方法を採択している。すなわち、請求項1に記載のように、車両のドライバの運転を支援する運転支援装置において、前記車両の走行シーンを認識する走行シーン認識手段と、前記ドライバの生理情報及び/又は挙動を検出するドライバモニタリング手段と、前記ドライバの運転操作を検出する運転操作検出手段と、前記ドライバに運転に関する情報を報知するインターフェース手段と、前記車両の走行シーンにおいて必要となる運転操作を複数の操作要素に分解するとともに、前記ドライバの運転操作中に前記ドライバモニタリング部により検出された検出結果が所定の基準変動幅を超えて変動した操作要素を相互作用関連操作に特定する相互作用関連操作特定手段と、前記相互作用関連操作を含む走行シーンにおいて、前記相互作用関連操作に関するガイダンスを報知するように前記インターフェース手段を制御する運転支援制御手段とを備えた。
【0008】
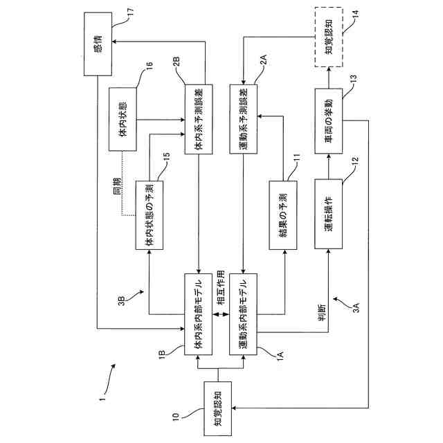
上記解決手法によれば、走行シーンを構成する一連の操作要素の中から、ドライバが苦手とする操作要素が相互作用関連操作として的確に特定されるので、この相互作用関連操作に関するガイダンスにより、運転における予測誤差(運動系予測誤差2A)を効果的に低減でき、ドライバの運転技術の向上と感情の良好化を達成できる。
【0009】
上記解決手法を前提とした好ましい態様は、特許請求の範囲における請求項2以下に記載の通りである。すなわち、前記運転支援制御手段は、前記相互作用関連操作を含む走行シーンの直前又は前記前記相互作用関連操作を含む走行シーンを走行中に前記ガイダンスを報知するように、インターフェース手段を制御する(請求項2対応)。この場合、インターフェース手段(例えば、HMI26)からの報知は適切なタイミングでなされるので、効果的な運転支援を行うことができる。
【0010】
前記ガイダンスは、前記相互作用関連操作の実行タイミング及び/又は操作量に関する情報である(請求項3対応)。この場合、相互作用関連操作の実行タイミングや操作量に関する情報が提供されるので、ドライバは、苦手とする相互作用関連操作を適切に実行できる。
(【0011】以降は省略されています)
この特許をJ-PlatPat(特許庁公式サイト)で参照する
関連特許
マツダ株式会社
エンジン
3日前
マツダ株式会社
二次電池
2日前
マツダ株式会社
車載機器
2日前
マツダ株式会社
二次電池
2日前
マツダ株式会社
運転支援装置
2日前
マツダ株式会社
運転支援装置
2日前
マツダ株式会社
運転支援装置
2日前
マツダ株式会社
排気システム
4日前
マツダ株式会社
排気システム
4日前
マツダ株式会社
インバータ装置
3日前
マツダ株式会社
インバータ装置
3日前
マツダ株式会社
インバータ装置
3日前
マツダ株式会社
車両の前部構造
2日前
マツダ株式会社
インバータ装置
3日前
マツダ株式会社
車両の下部車体構造
5日前
マツダ株式会社
バッテリの制御装置
5日前
マツダ株式会社
エンジンの制御装置
3日前
マツダ株式会社
車両の下部車体構造
9日前
マツダ株式会社
車両の下部車体構造
9日前
マツダ株式会社
二次電池の制御装置
4日前
マツダ株式会社
車両の下部車体構造
9日前
マツダ株式会社
車両の下部車体構造
13日前
マツダ株式会社
車両の下部車体構造
9日前
マツダ株式会社
二次電池の制御装置
2日前
マツダ株式会社
被覆金属材の試験方法
3日前
マツダ株式会社
自動変速機の油路構造
3日前
マツダ株式会社
車両運転支援システム
9日前
マツダ株式会社
バッテリ状態推定装置
5日前
マツダ株式会社
エンジンの燃焼室構造
3日前
マツダ株式会社
エンジンの燃焼室構造
3日前
マツダ株式会社
車両のパワートレイン構造
3日前
マツダ株式会社
車両のパワートレイン構造
3日前
マツダ株式会社
バッテリ温度制御システム
2日前
マツダ株式会社
車両のパワートレイン構造
2日前
マツダ株式会社
車両のパワートレイン構造
3日前
マツダ株式会社
電気自動車のバッテリ搭載構造
4日前
続きを見る
他の特許を見る