TOP
|
特許
|
意匠
|
商標
特許ウォッチ
Twitter
他の特許を見る
10個以上の画像は省略されています。
公開番号
2025145971
公報種別
公開特許公報(A)
公開日
2025-10-03
出願番号
2024046510
出願日
2024-03-22
発明の名称
車両運転支援システム
出願人
マツダ株式会社
代理人
個人
,
個人
,
個人
,
個人
,
個人
主分類
G08G
1/0968 20060101AFI20250926BHJP(信号)
要約
【課題】ドライバと車両10との間に車両エージェントVを介した良好な関係を構築できる車両運転支援システム1を提供することを目的とする。
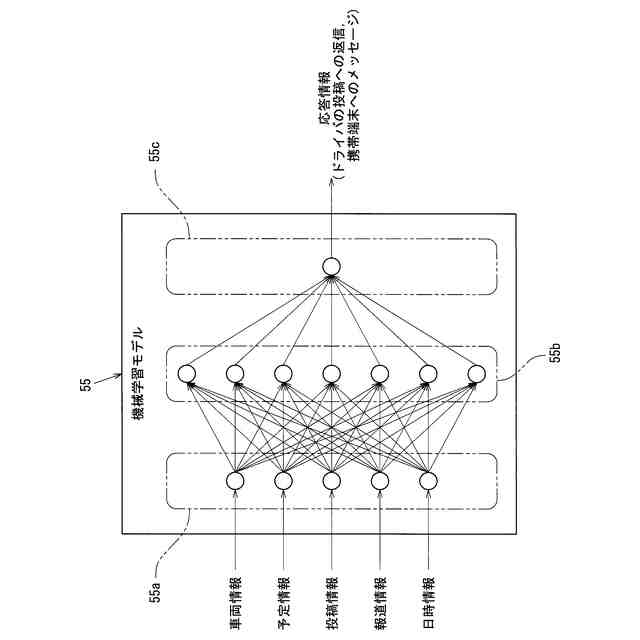
【解決手段】車両エージェントVを介してドライバの運転操作を支援する車両運転支援システム1であって、車両10から取得可能な車両情報、ドライバによって発信される発信情報、及び通信回線4を介して配信される配信情報を収集データ54として通信回線4を介して取得する情報処理サーバー50と、収集データ54に基づく車両エージェントVのコメントを応答情報として生成する応答情報生成手段(情報処理サーバー50の機械学習モデル55)と、ドライバに向けて応答情報を配信する配信手段(情報処理サーバー50のサーバー制御部53)と、配信された応答情報を閲覧可能に出力する表示手段(車両10の表示部15、携帯端末30の操作表示部33)とを備えたことを特徴とする。
【選択図】図2
特許請求の範囲
【請求項1】
車両のドライバとのコミュニケーションを行う車両エージェントを介して、前記ドライバの運転操作を支援する車両運転支援システムであって、
前記車両から取得可能な車両情報、前記ドライバによって発信される発信情報、及び通信回線を介して配信される配信情報を収集情報として前記通信回線を介して取得する情報処理サーバーと、
前記収集情報に基づく前記車両エージェントのコメントを応答情報として生成する応答情報生成手段と、
前記ドライバに向けて前記応答情報を配信する配信手段と、
配信された前記応答情報を閲覧可能に出力する表示手段とを備えた
車両運転支援システム。
続きを表示(約 1,400 文字)
【請求項2】
前記情報処理サーバーは、
前記車両に関する前記発信情報及び前記車両に関わる前記配信情報を収集する構成である
請求項1に記載の車両運転支援システム。
【請求項3】
前記情報処理サーバーは、
前記車両情報、前記発信情報及び前記配信情報のうち、前記ドライバが許可した情報を前記収集情報として収集する構成である
請求項1に記載の車両運転支援システム。
【請求項4】
前記応答情報生成手段は、
前記ドライバの前記車両エージェントに対する親密度を向上させる前記応答情報を生成する構成である
請求項1に記載の車両運転支援システム。
【請求項5】
前記車両に運転席に着座した前記ドライバを検出するドライバ検出手段を備え、
前記配信手段は、
前記ドライバ検出手段によって前記ドライバが検出されている場合、前記車両に前記応答情報を配信し、前記ドライバ検出手段によって前記ドライバが検出されていない場合、前記ドライバが所有する携帯端末に前記応答情報を配信する構成である
請求項1に記載の車両運転支援システム。
【請求項6】
前記車両エージェントを介して前記ドライバの運転操作を支援している場合、前記車両に配信された前記応答情報の出力を制限する出力制限手段を備えた
請求項1に記載の車両運転支援システム。
【請求項7】
前記車両に運転席に着座した前記ドライバを検出するドライバ検出手段を備え、
前記情報処理サーバーは、
前記車両エージェントと前記ドライバとの間における前記コミュニケーションの履歴を前記車両情報として収集する構成であり、
前記応答情報生成手段は、
前記ドライバ検出手段で検出した前記ドライバとの前記コミュニケーションの履歴に基づいて、前記車両エージェントのコメントを前記応答情報として生成する構成である
請求項1に記載の車両運転支援システム。
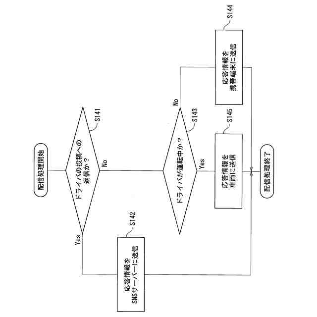
【請求項8】
前記情報処理サーバーは、
ソーシャル・ネットワーキング・サービスに投稿された前記ドライバの投稿を前記発信情報として収集する構成であり、
前記応答情報生成手段は、
前記ドライバの投稿に対する前記車両エージェントのコメントを前記応答情報として生成する構成であり、
前記配信手段は、
前記応答情報を前記ソーシャル・ネットワーキング・サービスに投稿する構成である
請求項1に記載の車両運転支援システム。
【請求項9】
前記情報処理サーバーは、
前記ドライバによって登録された前記車両を用いた前記ドライバの予定を前記発信情報として収集する構成であり、
前記応答情報生成手段は、
前記ドライバの前記予定に基づいて前記車両エージェントのコメントを前記応答情報として生成する構成である
請求項1に記載の車両運転支援システム。
【請求項10】
前記情報処理サーバーは、
前記車両の使用に関わる報道を前記配信情報として収集する構成であり、
前記応答情報生成手段は、
前記車両の使用に関わる報道に基づいて前記車両エージェントのコメントを前記応答情報として生成する構成である
請求項1に記載の車両運転支援システム。
発明の詳細な説明
【技術分野】
【0001】
この発明は、例えば車両の分身である車両エージェントの言動を介して、車両を運転するドライバとの間でコミュニケーションをとりながら、ドライバの運転操作を支援するような車両運転支援システムに関する。
続きを表示(約 1,100 文字)
【背景技術】
【0002】
自動車などの車両では、ドライバの運転操作を支援する車両運転支援システムとして、例えばドライバの運転操作に部分的に介入する先進運転支援システムや、所定条件下においてドライバから運転操作を譲受して自動運転を行う自動運転システムなどが知られている。
【0003】
このような車両運転支援システムでは、例えば車両の周囲の状況に応じた各種案内や、ドライバと車両との間で運転操作の受け渡しを行う案内を、音声や文字だけでなく車両の分身である車両エージェントを介して報知している。
【0004】
ところが、例えば車両エージェントを介した運転支援をドライバが信頼していない場合、車両運転支援システムによる運転支援が運転中のドライバの安全確保に有効に機能しないおそれがある。
そこで、車両エージェントにドライバとのコミュニケーション機能を設けて、車両とドライバとの間に車両エージェントを介した良好な関係を構築することが考えられる。
【0005】
例えば特許文献1には、車両エージェントだけでなく、ドライバが所有する携帯端末にもエージェントを設けたことで、ドライバが車外にいる場合でも携帯端末のエージェントとのコミュニケーションを可能にしている。
【0006】
さらに、特許文献1では、携帯端末のエージェントを介して車外で入手した各種情報を車両エージェントのコミュニケーション機能に反映することで、ドライバに最適な情報を提供可能にしている。
【0007】
しかしながら、特許文献1は、車両の車内だけでなく車外におけるドライバの行動履歴や検索履歴などの情報を蓄積するため、車両エージェントの言動に車両エージェントが知りえない情報が含まれることになる。
【0008】
そうすると、ドライバによっては車両エージェントの言動に違和感を覚える、あるいは自身の行動が常時監視されていると感じるため、ドライバの車両エージェントに対する心証が悪くなるという問題がある。このため、特許文献1では、ドライバと車両との間に良好な関係を構築できないおそれがあり改善の余地があった。
【先行技術文献】
【特許文献】
【0009】
特開2006-195578号公報
【発明の概要】
【発明が解決しようとする課題】
【0010】
本発明は、上述の問題に鑑み、ドライバと車両との間に車両エージェントを介した良好な関係を構築できる車両運転支援システムを提供することを目的とする。
【課題を解決するための手段】
(【0011】以降は省略されています)
この特許をJ-PlatPat(特許庁公式サイト)で参照する
関連特許
マツダ株式会社
二次電池
16日前
マツダ株式会社
塗布装置
2か月前
マツダ株式会社
排気浄化装置
1か月前
マツダ株式会社
排気浄化装置
1か月前
マツダ株式会社
モータシステム
2か月前
マツダ株式会社
モータシステム
2か月前
マツダ株式会社
モータシステム
2か月前
マツダ株式会社
車両用駆動装置
24日前
マツダ株式会社
車両用駆動装置
24日前
マツダ株式会社
車両用駆動装置
24日前
マツダ株式会社
車両用駆動装置
24日前
マツダ株式会社
車両用駆動装置
24日前
マツダ株式会社
モータシステム
2か月前
マツダ株式会社
冷媒循環システム
18日前
マツダ株式会社
冷媒循環システム
18日前
マツダ株式会社
冷媒循環システム
18日前
マツダ株式会社
冷媒循環システム
18日前
マツダ株式会社
エンジンシステム
1か月前
マツダ株式会社
冷媒循環システム
18日前
マツダ株式会社
冷媒循環システム
18日前
マツダ株式会社
水噴射式エンジン
1か月前
マツダ株式会社
エンジンシステム
1か月前
マツダ株式会社
燃料改質システム
1か月前
マツダ株式会社
車両用リッド構造
1か月前
マツダ株式会社
冷媒循環システム
18日前
マツダ株式会社
水噴射式エンジン
1か月前
マツダ株式会社
冷媒循環システム
2か月前
マツダ株式会社
冷媒循環システム
2か月前
マツダ株式会社
冷媒循環システム
2か月前
マツダ株式会社
冷媒循環システム
2か月前
マツダ株式会社
冷媒循環システム
2か月前
マツダ株式会社
車両制御システム
2か月前
マツダ株式会社
冷媒循環システム
18日前
マツダ株式会社
車両の下部車体構造
2か月前
マツダ株式会社
車両の下部車体構造
2か月前
マツダ株式会社
車両の下部車体構造
2か月前
続きを見る
他の特許を見る