TOP
|
特許
|
意匠
|
商標
特許ウォッチ
Twitter
他の特許を見る
公開番号
2025153769
公報種別
公開特許公報(A)
公開日
2025-10-10
出願番号
2024056396
出願日
2024-03-29
発明の名称
運転支援装置
出願人
マツダ株式会社
代理人
個人
,
個人
主分類
B60W
50/08 20200101AFI20251002BHJP(車両一般)
要約
【課題】 ドライバの脳内モデル(ドライバ内部モデル)を考慮することにより、ドライバの内部状態(ドライバ内部モデルの状態)に応じた的確な運転支援を行うことができるようにした運転支援装置を提供する。
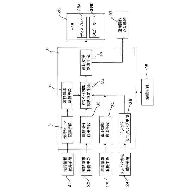
【解決手段】 運転支援装置において、走行シーン認識手段31と、運転目標演算手段32と、運転操作検出手段33と、車両挙動検出手段34と、ドライバモニタリング手段35と、運動系予測誤差2Aと体内系内部モデル1Bの変化を推定するドライバ内部状態推定手段36と、ドライバ内部状態推定手段36による推定結果に基づいて運転支援の態様を設定する運転支援制御手段37を備えた。
【選択図】 図2
特許請求の範囲
【請求項1】
車両のドライバの運転を支援する運転支援装置において、
前記車両の走行シーンを認識する走行シーン認識手段と、
前記ドライバの運転操作及び/又は前記車両の挙動を検出する運転検出手段と、
前記走行シーンに適合する目標運転操作及び/又は目標車両挙動を算出する運転目標演算手段と、
前記ドライバの生理情報及び/又は挙動を検出するドライバモニタリング手段と、
前記ドライバの脳内状態を推定するドライバ内部状態推定手段と、
前記ドライバの運転に対して運転支援を行う運転支援手段と、
前記運転支援手段を制御する運転支援制御手段と
を備え、
前記ドライバ内部状態推定手段は、前記ドライバによる前記車両の挙動予測と前記車両の実際の挙動との間の運動系予測誤差を小さくしていくように機能する運動系内部モデルと、前記ドライバの体内状態を制御する体内系内部モデルとを有するドライバ内部モデルにおいて、前記運動系予測誤差を、前記運転検出手段による検出結果と前記運転目標演算手段による算出結果の差として推定するとともに、同一の走行シーンにおける前記ドライバモニタリング手段による前回の検出結果と今回の検出結果の間に有意な差が生じた場合に、前記体内系内部モデルに変化があったと推定し、
前記運転支援制御手段は、前記ドライバ内部状態推定手段による前記運動系予測誤差の推定と前記体内系内部モデルの変化の推定に基づいて、前記運転支援手段による運転支援の態様を変更する運転支援装置。
続きを表示(約 870 文字)
【請求項2】
請求項1に記載の運転支援装置において、
前記運転支援制御手段は、同一の走行シーンにおいて、前記運動系予測誤差が減少していると推定される場合であって、前記体内系内部モデルが変化していると推定されるときには、当該走行シーンにおける運転支援の程度を低め、前記体内系内部モデルが変化していないと推定されるときには、当該走行シーンにおける運転支援の程度を維持する運転支援装置。
【請求項3】
請求項1に記載の運転支援装置において、
前記支援態様設定手段は、同一の走行シーンにおいて、前記運動系予測誤差に変化がないと推定される場合であって、前記体内系内部モデルが変化していると推定されるときには、当該走行シーンにおける運転支援の程度を維持し、前記体内系内部モデルが変化していないと推定されるときには、当該走行シーンにおける運転支援の程度を高める運転支援装置。
【請求項4】
請求項1に記載の運転支援装置において、
前記支援態様設定手段は、同一の走行シーンにおいて、前記運動系予測誤差が増大していると推定される場合であって、前記体内系内部モデルが変化していると推定されるときには、当該走行シーンにおける現状の運転支援を停止し、前記体内系内部モデルが変化していないと推定されるときには、当該走行シーンにおける運転支援の程度を維持する運転支援装置。
【請求項5】
請求項1に記載の運転支援装置において、
前記運転支援手段は、前記ドライバに運転に関する情報を報知するインターフェース手段を備えた運転支援装置。
【請求項6】
請求項1に記載の運転支援装置において、
前記運転支援手段は、前記ドライバの運転操作に介入する運転操作介入手段を備えた運転支援装置。
【請求項7】
請求項1に記載の運転支援装置において、
前記生理情報は、前記ドライバの心拍数、呼吸数、発汗量、心拍リズムの乱れの少なくとも1つである運転支援装置。
発明の詳細な説明
【技術分野】
【0001】
本発明は、車両のドライバの運転を支援する運転支援装置に関し、特に、ドライバの脳内モデル(ドライバ内部モデル)を考慮することにより、ドライバの状態に応じた的確な運転支援を行えるようにした改良に関するものである。
続きを表示(約 3,200 文字)
【背景技術】
【0002】
近年、自動車等の車両には、ドライバの運転を支援する運転支援装置(例えば、先進運転支援システム(ADAS))が搭載されるようになってきており、このような運転支援装置に関して、様々な技術が提案されてきている。
【0003】
例えば、特許文献1(特開2022-178816号公報)には、車両制御装置において、ドライバの運転(運転性能)を認知・判断・操作に分けて観察し、不足すると判断された運転性能について、最適なタイミングで運転支援(コーチング)を行うことにより、ドライバの運転技能を向上させることのできる技術が提案されている。また、特許文献2(特許第6428748号)には、運転支援システムにおいて、感覚刺激の適切な付与(視覚及び聴覚刺激の付与や、アクセル感度やステアリングハンドルの感度の変更等)によって、車両の運転者を目標感情状態(例えば快状態)に向けて誘導する技術が提案されている。更に、特許文献3(特許第6221776号)には、運転評価装置において、運転操作を評価し、運転者にこの評価結果を報知することにより、運転者に自身が行った運転操作が適切であったか否かを認識させることができるようにした技術が提案されている。
【先行技術文献】
【特許文献】
【0004】
特開2022-178816号公報
特許第6428748号
特許第6221776号
【発明の概要】
【発明が解決しようとする課題】
【0005】
このように、従来の運転支援装置においても、支援のための報知タイミングを工夫した技術(上記特許文献1)や、擬人化キャラクタがドライバ感情に作用する技術(上記特許文献2)は提案されてきている。しかしながら、従来技術においては、個々のドライバの脳内における処理を考慮(モデル化)することにより、運転支援をドライバの脳内モデルから見て最適化なものとするという着想は存在していなかった。すなわち、従来の運転支援装置は、ドライバへの報知(警報等)や運転操作への介入を行うにしても、ドライバの脳内状態(ドライバ内部モデル)によらずに画一的であり、運転支援の対象となるドライバの運転技能向上や感情良好化のために最適化されたものとは言えなかった。
【0006】
本発明は、このような課題に着目してなされたもので、ドライバの脳内モデル(ドライバ内部モデル)を考慮することにより、ドライバの内部状態(ドライバ内部モデルの状態)に応じた的確な運転支援を行うことができるようにした運転支援装置を提供することを目的とする。
【課題を解決するための手段】
【0007】
前記目的を達成するため、本発明にあっては、次のような解決方法を採択している。すなわち、請求項1に記載のように、車両のドライバの運転を支援する運転支援装置において、前記車両の走行シーンを認識する走行シーン認識手段と、前記ドライバの運転操作及び/又は前記車両の挙動を検出する運転検出手段と、前記走行シーンに適合する目標運転操作及び/又は目標車両挙動を算出する運転目標演算手段と、前記ドライバの生理情報及び/又は挙動を検出するドライバモニタリング手段と、前記ドライバの脳内状態を推定するドライバ内部状態推定手段と、前記ドライバの運転に対して運転支援を行う運転支援手段と、前記運転支援手段を制御する運転支援制御手段とを備え、前記ドライバ内部状態推定手段は、前記ドライバによる前記車両の挙動予測と前記車両の実際の挙動との間の運動系予測誤差を小さくしていくように機能する運動系内部モデルと、前記ドライバの体内状態を制御する体内系内部モデルとを有するドライバ内部モデルにおいて、前記運動系予測誤差を、前記運転検出手段による検出結果と前記運転目標演算手段による算出結果の差として推定するとともに、同一の走行シーンにおける前記ドライバモニタリング手段による前回の検出結果と今回の検出結果の間に有意な差が生じた場合に、前記体内系内部モデルに変化があったと推定し、前記運転支援制御手段は、前記ドライバ内部状態推定手段による前記運動系予測誤差の推定と前記体内系内部モデルの変化の推定に基づいて、前記運転支援手段による運転支援の態様を変更する。
【0008】
上記解決手法によれば、運転支援手段(例えば、HMI26、運転操作介入手段27)による運転支援の態様は、運動系予測誤差の推定と、体内系内部モデルの変化の推定とに基づいて設定される。すなわち、運転支援の態様は、運動系予測誤差とともに、体内系内部モデルの変化の有無を判断指標として、より適切なものに設定されるので、運転支援をドライバの内部状態(ドライバ内部モデルの状態)に、より適合した適切なものとでき、ドライバの運転技術向上とともに感情の良好化を効果的に達成できる。
【0009】
上記解決手法を前提とした好ましい態様は、特許請求の範囲における請求項2以下に記載の通りである。すなわち、前記運転支援制御手段は、同一の走行シーンにおいて、前記運動系予測誤差が減少していると推定される場合であって、前記体内系内部モデルが変化していると推定されるときには、当該走行シーンにおける運転支援の程度を低め、前記体内系内部モデルが変化していないと推定されるときには、当該走行シーンにおける運転支援の程度を維持する(請求項2対応)。この場合、運動系予測誤差が減少しており、体内系内部モデルにも変化がある場合には、運動系内部モデルと体内系内部モデルがともに改善されており、運転支援の必要性が小さくなっていると判断されるので、運転支援の程度を低めて、ドライバの自律的な運転を促す。一方、運動系予測誤差が減少しているが、体内系内部モデルには変化が無い場合には、運動系内部モデルの改善の影響が体内系内部モデルには及んでいないと考えられるので、その効果自体は確認できている現状の運転支援の程度を維持して、体内系内部モデルのポジティブな変化を促すようにする。したがって、運転支援の態様は、ドライバの内部状態(ドライバ内部モデルの状態)に応じて適切に設定されるので、ドライバの運動系内部モデルと体内系内部モデルの改善が促進され、ドライバの運転技術の向上とともに感情の良好化を効果的に達成できる。
【0010】
前記支援態様設定手段は、同一の走行シーンにおいて、前記運動系予測誤差に変化がないと推定される場合であって、前記体内系内部モデルが変化していると推定されるときには、当該走行シーンにおける運転支援の程度を維持し、前記体内系内部モデルが変化していないと推定されるときには、当該走行シーンにおける運転支援の程度を高める(請求項3対応)。この場合、運動系予測誤差に変化が無く、体内系内部モデルの変化もない場合には、現状の運転支援の程度では効果が得られないと予想されるので、運転支援の程度を高めて、運転支援の効果の増大を図る。一方、運動系予測誤差に変化が無いが、体内系内部モデルには変化がある場合には、運転支援がドライバに何らかの影響を与えている可能性があるので、現状の運転支援の程度を維持して、運転支援がドライバの運転技術向上に繋がっていくのを待つ。したがって、運転支援の態様は、ドライバの内部状態(ドライバ内部モデルの状態)に応じて適切に設定されるので、ドライバの運動系内部モデルと体内系内部モデルの改善が促進され、ドライバの運転技術の向上とともに感情の良好化を効果的に達成できる。
(【0011】以降は省略されています)
この特許をJ-PlatPat(特許庁公式サイト)で参照する
関連特許
マツダ株式会社
エンジン
2日前
マツダ株式会社
二次電池
22日前
マツダ株式会社
二次電池
1日前
マツダ株式会社
二次電池
1日前
マツダ株式会社
車載機器
1日前
マツダ株式会社
運転支援装置
1日前
マツダ株式会社
運転支援装置
1日前
マツダ株式会社
運転支援装置
1日前
マツダ株式会社
排気システム
3日前
マツダ株式会社
排気システム
3日前
マツダ株式会社
インバータ装置
2日前
マツダ株式会社
インバータ装置
2日前
マツダ株式会社
インバータ装置
2日前
マツダ株式会社
インバータ装置
2日前
マツダ株式会社
車両の前部構造
1日前
マツダ株式会社
冷媒循環システム
24日前
マツダ株式会社
冷媒循環システム
24日前
マツダ株式会社
冷媒循環システム
24日前
マツダ株式会社
車両の下部車体構造
8日前
マツダ株式会社
車両の下部車体構造
8日前
マツダ株式会社
車両の下部車体構造
8日前
マツダ株式会社
モータ軸受システム
12日前
マツダ株式会社
モータ軸受システム
12日前
マツダ株式会社
バッテリの制御装置
4日前
マツダ株式会社
車両の下部車体構造
4日前
マツダ株式会社
車両の下部車体構造
12日前
マツダ株式会社
車両の下部車体構造
12日前
マツダ株式会社
二次電池の制御装置
3日前
マツダ株式会社
車両の下部車体構造
12日前
マツダ株式会社
車両の下部車体構造
8日前
マツダ株式会社
エンジンの制御装置
2日前
マツダ株式会社
二次電池の制御装置
1日前
マツダ株式会社
エンジンの燃焼室構造
2日前
マツダ株式会社
エンジンの燃焼室構造
2日前
マツダ株式会社
樹脂発泡体及びシート
23日前
マツダ株式会社
車両運転支援システム
22日前
続きを見る
他の特許を見る