TOP
|
特許
|
意匠
|
商標
特許ウォッチ
Twitter
他の特許を見る
公開番号
2025152750
公報種別
公開特許公報(A)
公開日
2025-10-10
出願番号
2024054805
出願日
2024-03-28
発明の名称
二次電池
出願人
マツダ株式会社
代理人
弁理士法人前田特許事務所
主分類
H01M
10/04 20060101AFI20251002BHJP(基本的電気素子)
要約
【課題】二次電池の反応部位の均一化を図る。
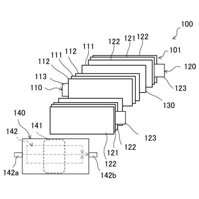
【解決手段】正極タブ113(集電用タブ)を有する平板状の正電極110と、負極タブ123(集電用タブ)を有する平板状の負電極120と、電解質を保持するセパレータ130とが積層された積層体101を有する二次電池100は、さらに、積層体101に垂直な方向の熱流によって積層体101を冷却する冷却部140を備え、正極タブ113および負極タブ123の近傍よりも、正極タブ113および負極タブ123から離れた領域の方が、冷却部140による冷却能力が低くなる冷却能力分布が形成されている。
【選択図】図1
特許請求の範囲
【請求項1】
集電用タブを有する平板状の正電極と、
集電用タブを有する平板状の負電極と、
電解質を保持するセパレータと、が積層された積層体を有する二次電池であって、さらに、
前記積層体に垂直な方向の熱流によって前記積層体を冷却する冷却部を備え、
前記集電用タブの近傍よりも、前記集電用タブから離れた領域の方が、前記冷却部による冷却能力が低くなる冷却能力分布が形成されていることを特徴とする二次電池。
続きを表示(約 250 文字)
【請求項2】
請求項1の二次電池であって、
前記冷却能力分布は、前記正電極の集電用タブと、前記負電極の集電用タブとの間の領域における、前記積層体と前記冷却部との間に、熱抵抗体が設けられることによって形成されていることを特徴とする二次電池。
【請求項3】
請求項1の二次電池であって、
前記正電極、および負電極は、それぞれ矩形の平板状に形成され、
前記正電極の集電用タブと、前記負電極の集電用タブとは、互いに反対方向に延設されていることを特徴とする二次電池。
発明の詳細な説明
【技術分野】
【0001】
本発明は、二次電池に関するものである。
続きを表示(約 1,200 文字)
【背景技術】
【0002】
特許文献1には、低温始動時に電池内を均一に温めるとともに、高温使用時には電池間を均一に冷却し、電池内の温度のバラツキを改善する技術として、幅広面と幅狭面を有する扁平状の電池を、幅広面同士を対向して複数積層した積層体と、幅広面と対向して積層体の外側から設けられた加熱手段と、幅狭面と対向して積層体の外側から設けられた冷却手段とを備える電池パックが開示されている。
【先行技術文献】
【特許文献】
【0003】
国際公開第2019/039116号パンフレット
【発明の概要】
【発明が解決しようとする課題】
【0004】
しかしながら、特許文献1のように幅広面と対向して設けられた加熱手段と、幅狭面と対向して設けられた冷却手段とを設けても、電池内での反応を均一化することは必ずしも容易ではなかった。これは、電池セル内では、電流密度分布は一様ではなく、しかも、電流密度が大きい部分で局所的に温度が上昇すると、その部分では電気抵抗が低下するために、さらに電流密度が増大する正のフィードバックが働くことが要因であると考えられる。
【0005】
本発明は、上記の点に鑑みてなされたものであり、反応部位の均一化を容易に図り得るようにすることを目的としている。
【課題を解決するための手段】
【0006】
上記の目的を達成するために、
本発明は、
集電用タブを有する平板状の正電極と、
集電用タブを有する平板状の負電極と、
電解質を保持するセパレータと、が積層された積層体を有する二次電池であって、
前記積層体に垂直な方向の熱流によって前記積層体を冷却する冷却部を備え、
前記集電用タブの近傍よりも、前記集電用タブから離れた領域の方が、前記冷却部による冷却能力が低くなる冷却能力分布が形成されていることを特徴とする。
【0007】
これにより、集電用タブの近傍で温度を低下させて電気抵抗を相対的に大きくし、電流密度を低下させて、均一化させ、反応部位を分散させて温度上昇を均一化させることなどができる。
【発明の効果】
【0008】
本発明では、反応部位の均一化を容易に図ることができる。
【図面の簡単な説明】
【0009】
図1は、実施形態1に係る二次電池100の構成を模式的に示す分解斜視図である。
図2は、実施形態2に係る冷媒流路142の例を示す正面図である。
図3は、実施形態3に係る冷媒流路142の例を示す正面図である。
【発明を実施するための形態】
【0010】
以下、本発明の実施形態を図面に基づいて詳細に説明する。なお、以下の各実施形態や変形例において、他の実施形態等と同様の機能を有する構成要素については同一の符号を付して説明を省略する。
(【0011】以降は省略されています)
この特許をJ-PlatPat(特許庁公式サイト)で参照する
関連特許
マツダ株式会社
二次電池
1日前
マツダ株式会社
車載機器
1日前
マツダ株式会社
二次電池
1日前
マツダ株式会社
エンジン
2日前
マツダ株式会社
二次電池
22日前
マツダ株式会社
運転支援装置
1日前
マツダ株式会社
運転支援装置
1日前
マツダ株式会社
運転支援装置
1日前
マツダ株式会社
排気システム
3日前
マツダ株式会社
排気システム
3日前
マツダ株式会社
インバータ装置
2日前
マツダ株式会社
インバータ装置
2日前
マツダ株式会社
インバータ装置
2日前
マツダ株式会社
インバータ装置
2日前
マツダ株式会社
車両の前部構造
1日前
マツダ株式会社
冷媒循環システム
24日前
マツダ株式会社
冷媒循環システム
24日前
マツダ株式会社
冷媒循環システム
24日前
マツダ株式会社
冷媒循環システム
24日前
マツダ株式会社
冷媒循環システム
24日前
マツダ株式会社
冷媒循環システム
24日前
マツダ株式会社
冷媒循環システム
24日前
マツダ株式会社
冷媒循環システム
24日前
マツダ株式会社
モータ軸受システム
12日前
マツダ株式会社
バッテリの制御装置
4日前
マツダ株式会社
車両の下部車体構造
8日前
マツダ株式会社
二次電池の制御装置
3日前
マツダ株式会社
車両の下部車体構造
8日前
マツダ株式会社
車両の下部車体構造
8日前
マツダ株式会社
車両の下部車体構造
8日前
マツダ株式会社
車両の下部車体構造
12日前
マツダ株式会社
車両の下部車体構造
12日前
マツダ株式会社
モータ軸受システム
12日前
マツダ株式会社
車両の下部車体構造
12日前
マツダ株式会社
車両の下部車体構造
4日前
マツダ株式会社
エンジンの制御装置
2日前
続きを見る
他の特許を見る