TOP
|
特許
|
意匠
|
商標
特許ウォッチ
Twitter
他の特許を見る
公開番号
2025149673
公報種別
公開特許公報(A)
公開日
2025-10-08
出願番号
2024050454
出願日
2024-03-26
発明の名称
二次電池の制御装置
出願人
マツダ株式会社
代理人
弁理士法人前田特許事務所
主分類
H02J
7/00 20060101AFI20251001BHJP(電力の発電,変換,配電)
要約
【課題】負極活物質の剥離に起因した二次電池の性能劣化を抑制する。
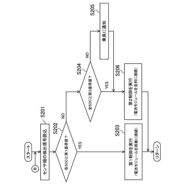
【解決手段】二次電池9の制御装置1は、SOCセンサ121と、コントローラ100とを備える。コントローラ100は、複数の電池モジュール90のうちの少なくとも1つにおいて、SOCが所定の第1基準値以上であるか否かを判定し、SOCが第1基準値以上の場合、複数の電池モジュール90を各々順番にモータ31に接続するとともに、複数の電池モジュール90を、各々のSOCが第1基準値に低下するまで順番に放電させる第1制御を実行する。
【選択図】図10B
特許請求の範囲
【請求項1】
それぞれ負極活物質を含んだ負極を有する1つ又は複数の電池セルと、該1つ又は複数の電池セルによってそれぞれ構成され、車両の駆動源に接続される複数の電池モジュールと、を備え、該複数の電池モジュールから前記駆動源に電力を供給する二次電池の制御装置であって、
前記複数の電池モジュールそれぞれのSOCを示すパラメータを検出する状態センサと、
前記状態センサの検出信号に基づいて、前記複数の電池モジュールと、前記駆動源との間の電気的な接続を切り替えるコントローラと、を備え、
前記コントローラは、
前記SOCセンサの検出信号に基づいて、前記複数の電池モジュールのうちの少なくとも1つにおいて、前記SOCが所定の第1基準値以上であるか否かを判定し、
前記SOCが前記第1基準値以上の場合、前記複数の電池モジュールを各々順番に前記駆動源に接続するとともに、前記複数の電池モジュールを、各々の前記SOCが前記第1基準値に低下するまで順番に放電させる第1制御を実行する
ことを特徴とする二次電池の制御装置。
続きを表示(約 1,700 文字)
【請求項2】
請求項1に記載された二次電池の制御装置において、
前記コントローラは、
前記状態センサの検出信号に基づいて、前記複数の電池モジュールの全てにおいて、前記SOCが前記第1基準値未満であるか否かを判定し、
前記SOCが前記第1基準値未満の場合、前記複数の電池モジュールを前記駆動源に並列に接続するとともに、前記複数の電池モジュールを同時に放電させる第2制御を実行する
ことを特徴とする二次電池の制御装置。
【請求項3】
請求項2に記載された二次電池の制御装置において、
前記コントローラは、
前記電気的な接続に対応して設定された複数の放電モードの中から、前記車両の乗員による設定入力に基づいて1つの放電モードを選択し、
選択された前記1つの放電モードを実現するように、前記状態センサの検出信号に基づいて前記第1制御及び前記第2制御のうちの一方を選択して実行し、
前記複数の放電モードは、
前記第1基準値を下限としたSOC範囲内での放電を許容することで、前記SOCセンサの検出信号にかかわらず前記第1制御を継続する第1モードと、
前記第1基準値未満に設定された第2基準値を下限としたSOC範囲内での放電を許容することで、前記SOCセンサの検出信号に応じて前記第1制御と前記第2制御を使い分ける第2モードと、を含む
ことを特徴とする二次電池の制御装置。
【請求項4】
請求項3に記載された二次電池の制御装置において、
前記コントローラは、前記駆動源の始動後、
前記第1モードにおける前記車両の走行可能距離を示す第1距離と、前記第2モードにおける前記車両の走行可能距離を示す第2距離と、前記第1距離の走破時における、前記二次電池の最大容量の劣化度合いを示す第1劣化指標と、前記第2距離の走破時における前記劣化度合いを示す第2劣化指標と、を含んで構成される第1情報を前記乗員に通知し、
前記乗員の設定入力に基づいた、前記第1モード又は前記第2モードの選択を受け付ける
ことを特徴とする二次電池の制御装置。
【請求項5】
請求項4に記載された二次電池の制御装置において、
前記コントローラは、前記第1劣化指標及び前記第2劣化指標に基づいて、前記第1距離の走破時における、前記二次電池の経済的価値を示す第1残価指標と、前記第2距離の走破時における前記経済的価値を示す第2残価指標と、をそれぞれ推定し、
前記第1情報は、前記第1残価指標と、前記第2残価指標と、を双方とも含んで構成される
ことを特徴とする二次電池の制御装置。
【請求項6】
請求項3に記載された二次電池の制御装置において、
前記コントローラは、前記第1モード選択時における前記車両の走行中、
前記第1モードから前記第2モードに切り替えた場合における、前記走行可能距離の延伸量と、該延伸量の走破時における、前記二次電池の最大容量の劣化度合いを示す第3劣化指標と、を含んで構成される第2情報を前記乗員に通知し、
前記乗員の設定入力に基づいた、前記第1モードから前記第2モードへの変更を受け付ける
ことを特徴とする二次電池の制御装置。
【請求項7】
請求項6に記載された二次電池の制御装置において、
前記第1基準値よりも高くかつ満充電状態よりも低く設定された所定値を中間基準値とすると、
前記コントローラは、
前記SOCセンサの検出信号に基づいて、前記複数の電池モジュール全体の前記SOCが前記中間基準値まで低下した否かを判定し、
前記SOCが前記中間基準値まで低下した場合に、前記第2情報の通知を実行する
ことを特徴とする二次電池の制御装置。
【請求項8】
請求項1から7のいずれか1項に記載された二次電池の制御装置において、
前記負極活物質は、Siを含む
ことを特徴とする二次電池の制御装置。
発明の詳細な説明
【技術分野】
【0001】
本開示は、二次電池の制御装置に関する。
続きを表示(約 1,600 文字)
【背景技術】
【0002】
例えば特許文献1には、Siを含有したリチウムイオン電池用の負極活物質が開示されている。この負極活物質は、Si合金又は純Siと、微粒子状の炭素材料とが複合化されたSi含有造粒体を含んでいる。この特許文献1によると、負極にSiを用いることで、リチウムイオン電池の放電容量を高めることができる。
【先行技術文献】
【特許文献】
【0003】
特開2023-134205号公報
【発明の概要】
【発明が解決しようとする課題】
【0004】
ところで、前記特許文献1に開示されているような負極活物質は、充放電に伴って膨張と収縮を繰り返すことで、集電体から剥離する可能性がある。負極活物質が剥離してしまうと、負極の機能が損なわれるため不都合である。
【0005】
本開示は、かかる点に鑑みてなされたものであり、その目的とするところは、負極活物質の剥離に起因した二次電池の性能劣化を抑制することにある。
【課題を解決するための手段】
【0006】
本開示の第1の態様は、それぞれ負極活物質を含んだ負極を有する1つ又は複数の電池セルと、該1つ又は複数の電池セルによってそれぞれ構成され、車両の駆動源に接続される複数の電池モジュールと、を備え、該複数の電池モジュールから前記駆動源に電力を供給する二次電池の制御装置に係る。
【0007】
前記第1の態様によれば、前記制御装置は。前記複数の電池モジュールそれぞれのSOCを示すパラメータを検出する状態センサと、前記SOCセンサの検出信号に基づいて、前記複数の電池モジュールと、前記駆動源との間の電気的な接続を切り替えるコントローラと、を備え、前記コントローラは、前記状態センサの検出信号に基づいて、前記複数の電池モジュールのうちの少なくとも1つにおいて、前記SOCが所定の第1基準値以上であるか否かを判定し、前記SOCが前記第1基準値以上の場合、前記複数の電池モジュールを各々順番に前記駆動源に接続するとともに、前記複数の電池モジュールを、各々の前記SOCが前記第1基準値に低下するまで順番に放電させる第1制御を実行する。
【0008】
ここで、「SOCを示すパラメータ」の語は、広義で用いる。このパラメータは、SOCそのものであってもよいし、二次電池の現充電量等、SOCの増減に応じて変化するパラメータであってもよい。第1基準値と比較されるパラメータについても、SOCの代わりに、現充電量等の他のパラメータを用いてもよい。すなわち「前記SOCが前記第1基準値以上の場合」とは、SOCと第1基準値を直に比較した場合であってもよいし、SOCを示すパラメータと第1基準値を比較した場合のように、SOCと第1基準値を間接的に比較した場合であってもよい。
【0009】
前記第1の態様によると、コントローラは、SOCが第1基準値以上の場合に第1制御を実行する。第1制御を実行することで、複数の電池モジュールの並列接続時に比べて、充放電の対象となる電池セルの個数を、最小限に留めることができる。これにより、インターカレーション反応等に起因した、各電池セルに膨張と収縮が生じる頻度を抑制し、負極活物質の剥離に起因した二次電池の性能劣化を抑制することができる。
【0010】
また、SOCが第1基準値未満の場合のように、各電池セルの放電深度が深い場合には、Cレートが高レートとなることに起因した、剥離とは別の観点からの性能劣化が懸念される。そこで、前記コントローラは、そうした懸念が考えられる条件下では、第1制御を実行しない。こうすることで、二次電池の性能劣化を抑制する上で、取り分け有利なものとなる。
(【0011】以降は省略されています)
この特許をJ-PlatPat(特許庁公式サイト)で参照する
関連特許
マツダ株式会社
車載機器
3日前
マツダ株式会社
二次電池
24日前
マツダ株式会社
二次電池
3日前
マツダ株式会社
二次電池
3日前
マツダ株式会社
エンジン
4日前
マツダ株式会社
排気浄化装置
1か月前
マツダ株式会社
運転支援装置
3日前
マツダ株式会社
運転支援装置
3日前
マツダ株式会社
運転支援装置
3日前
マツダ株式会社
排気システム
5日前
マツダ株式会社
排気システム
5日前
マツダ株式会社
排気浄化装置
1か月前
マツダ株式会社
インバータ装置
4日前
マツダ株式会社
インバータ装置
4日前
マツダ株式会社
インバータ装置
4日前
マツダ株式会社
車両の前部構造
3日前
マツダ株式会社
インバータ装置
4日前
マツダ株式会社
車両用駆動装置
1か月前
マツダ株式会社
車両用駆動装置
1か月前
マツダ株式会社
車両用駆動装置
1か月前
マツダ株式会社
車両用駆動装置
1か月前
マツダ株式会社
車両用駆動装置
1か月前
マツダ株式会社
冷媒循環システム
26日前
マツダ株式会社
冷媒循環システム
26日前
マツダ株式会社
冷媒循環システム
26日前
マツダ株式会社
冷媒循環システム
26日前
マツダ株式会社
冷媒循環システム
26日前
マツダ株式会社
冷媒循環システム
26日前
マツダ株式会社
冷媒循環システム
26日前
マツダ株式会社
冷媒循環システム
26日前
マツダ株式会社
エンジンシステム
1か月前
マツダ株式会社
エンジンシステム
1か月前
マツダ株式会社
車両の下部車体構造
14日前
マツダ株式会社
モータ軸受システム
14日前
マツダ株式会社
車両の下部車体構造
14日前
マツダ株式会社
車両の下部車体構造
10日前
続きを見る
他の特許を見る