TOP
|
特許
|
意匠
|
商標
特許ウォッチ
Twitter
他の特許を見る
公開番号
2025153806
公報種別
公開特許公報(A)
公開日
2025-10-10
出願番号
2024056446
出願日
2024-03-29
発明の名称
液体吐出装置、その制御方法及びプログラム
出願人
ブラザー工業株式会社
代理人
弁理士法人ATEN
主分類
B41J
2/01 20060101AFI20251002BHJP(印刷;線画機;タイプライター;スタンプ)
要約
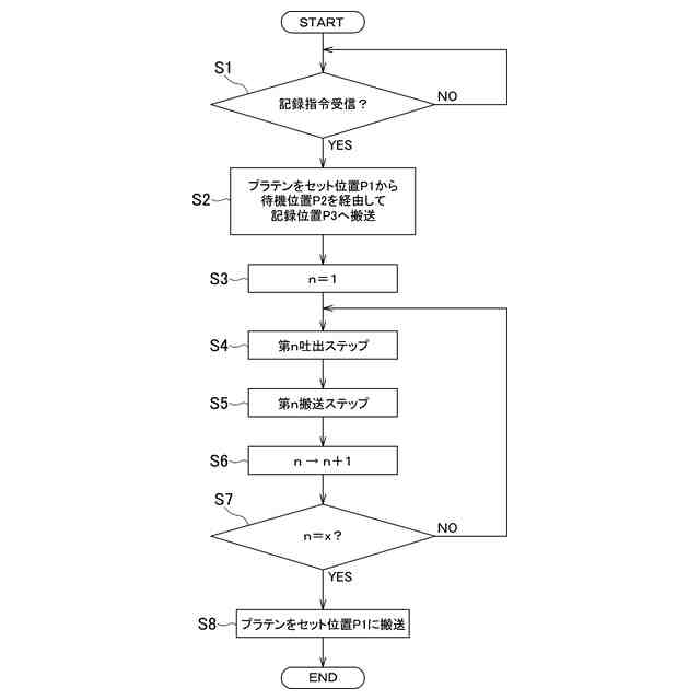
【課題】バンディングの発生を防止する。
【解決手段】プリンタのCPUは、前後方向D1に互いにずれたノズル列N1,N2のノズルからインクを吐出させる吐出ステップと、記録媒体を前方に所定距離搬送させる搬送ステップと、を繰り返し実行する。第1吐出ステップにおけるノズル列N1がノズル列N2と左右方向D2に重なる重複領域である第1領域R1は、第2吐出ステップにおけるノズル列N1の第2領域R2(第1領域R1以外の領域)に含まれる。第1吐出ステップにおけるノズル列N2がノズル列N1と左右方向D2に重なる重複領域以外の非重複領域である第3領域R3(吐出に用いないNo.13~15のノズルを除く)は、第2吐出ステップにおけるノズル列N2の配置領域に含まれず、かつ、第3吐出ステップにおけるノズル列N1の第2領域R2に含まれる。
【選択図】図6
特許請求の範囲
【請求項1】
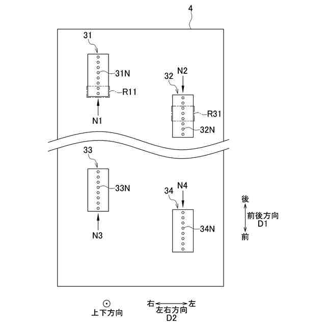
第1方向に並ぶ複数の第1ノズルを含む第1ノズル列と、
前記第1方向に並ぶ複数の第2ノズルを含み、前記第1ノズル列に対して前記第1方向と直交する第2方向に設けられた第2ノズル列であって、前記第1ノズル列に対して前記複数の第2ノズルの少なくとも1つが前記第1方向にずれた第2ノズル列と、
記録媒体を前記第1ノズル列及び前記第2ノズル列に対して前記第1方向に相対的に移動させる移動部と、
制御部と、を備え、
前記制御部は、
前記複数の第1ノズル及び前記複数の第2ノズルから記録媒体に対して液体を吐出させる第1吐出ステップと、
前記第1吐出ステップの後、前記移動部により記録媒体を前記第1ノズル列及び前記第2ノズル列に対して前記第1方向に第1距離相対的に移動させる第1移動ステップと、
前記第1移動ステップの後、前記複数の第1ノズル及び前記複数の第2ノズルから記録媒体に対して液体を吐出させる第2吐出ステップと、
前記第2吐出ステップの後、前記移動部により記録媒体を前記第1ノズル列及び前記第2ノズル列に対して前記第1方向に第2距離相対的に移動させる第2移動ステップと、
前記第2移動ステップの後、前記複数の第1ノズル及び前記複数の第2ノズルから記録媒体に対して液体を吐出させる第3吐出ステップと、を実行し、
前記第1吐出ステップにおける、前記第1ノズル列が前記第2ノズル列と前記第2方向に重なる重複領域又は前記第1ノズル列が前記第2ノズル列と前記第1方向に隣接する隣接領域である第1領域が、前記第2吐出ステップにおける前記第1ノズル列の前記第1領域以外の第2領域に含まれる、前記第1距離で、前記第1移動ステップを実行し、
前記第1吐出ステップにおける、前記第2ノズル列が前記第1ノズル列と前記第2方向に重なる重複領域以外の非重複領域又は前記第2ノズル列が前記第1ノズル列と前記第1方向に隣接する隣接領域以外の非隣接領域である第3領域が、前記第2吐出ステップにおける前記第2ノズル列の配置領域に含まれず、かつ、前記第3吐出ステップにおける前記第1ノズル列の前記第2領域に含まれる、前記第1距離と前記第2距離とで、前記第1移動ステップ及び前記第2移動ステップを実行することを特徴とする、液体吐出装置。
続きを表示(約 2,400 文字)
【請求項2】
前記制御部は、前記第1吐出ステップ、前記第2吐出ステップ及び前記第3吐出ステップのそれぞれにおいて、前記複数の第2ノズルの一部から液体を吐出させ、前記複数の第2ノズルの残りから液体を吐出させないことを特徴とする、請求項1に記載の液体吐出装置。
【請求項3】
前記複数の第2ノズルは、第1群と、前記第1群よりも前記第1方向において前記第1ノズル列から離隔した第2群と、に分類され、
前記一部は前記第1群であり、前記残りは前記第2群であることを特徴とする、請求項2に記載の液体吐出装置。
【請求項4】
前記複数の第1ノズルの数と、前記複数の第2ノズルの数とは、互いに同じであることを特徴とする、請求項1に記載の液体吐出装置。
【請求項5】
前記第1ノズル列と前記第2ノズル列とが前記第2方向に重なる領域において、前記第1ノズル及び前記第2ノズルの前記第1方向の位置が一致していることを特徴とする、請求項1~4のいずれか1項に記載の液体吐出装置。
【請求項6】
第1方向に並ぶ複数の第1ノズルを含む第1ノズル列と、前記第1方向に並ぶ複数の第2ノズルを含み、前記第1ノズル列に対して前記第1方向と直交する第2方向に設けられた第2ノズル列であって、前記第1ノズル列に対して前記複数の第2ノズルの少なくとも1つが前記第1方向にずれた第2ノズル列と、記録媒体を前記第1ノズル列及び前記第2ノズル列に対して前記第1方向に相対的に移動させる移動部と、を備えた液体吐出装置の制御方法であって、
前記複数の第1ノズル及び前記複数の第2ノズルから記録媒体に対して液体を吐出させる第1吐出ステップと、
前記第1吐出ステップの後、前記移動部により記録媒体を前記第1ノズル列及び前記第2ノズル列に対して前記第1方向に第1距離相対的に移動させる第1移動ステップと、
前記第1移動ステップの後、前記複数の第1ノズル及び前記複数の第2ノズルから記録媒体に対して液体を吐出させる第2吐出ステップと、
前記第2吐出ステップの後、前記移動部により記録媒体を前記第1ノズル列及び前記第2ノズル列に対して前記第1方向に第2距離相対的に移動させる第2移動ステップと、
前記第2移動ステップの後、前記複数の第1ノズル及び前記複数の第2ノズルから記録媒体に対して液体を吐出させる第3吐出ステップと、を実行し、
前記第1吐出ステップにおける、前記第1ノズル列が前記第2ノズル列と前記第2方向に重なる重複領域又は前記第1ノズル列が前記第2ノズル列と前記第1方向に隣接する隣接領域である第1領域が、前記第2吐出ステップにおける前記第1ノズル列の前記第1領域以外の第2領域に含まれる、前記第1距離で、前記第1移動ステップを実行し、
前記第1吐出ステップにおける、前記第2ノズル列が前記第1ノズル列と前記第2方向に重なる重複領域以外の非重複領域又は前記第2ノズル列が前記第1ノズル列と前記第1方向に隣接する隣接領域以外の非隣接領域である第3領域が、前記第2吐出ステップにおける前記第2ノズル列の配置領域に含まれず、かつ、前記第3吐出ステップにおける前記第1ノズル列の前記第2領域に含まれる、前記第1距離と前記第2距離とで、前記第1移動ステップ及び前記第2移動ステップを実行することを特徴とする、制御方法。
【請求項7】
第1方向に並ぶ複数の第1ノズルを含む第1ノズル列と、前記第1方向に並ぶ複数の第2ノズルを含み、前記第1ノズル列に対して前記第1方向と直交する第2方向に設けられた第2ノズル列であって、前記第1ノズル列に対して前記複数の第2ノズルの少なくとも1つが前記第1方向にずれた第2ノズル列と、記録媒体を前記第1ノズル列及び前記第2ノズル列に対して前記第1方向に相対的に移動させる移動部と、を備えた液体吐出装置に用いられる制御装置を、
前記複数の第1ノズル及び前記複数の第2ノズルから記録媒体に対して液体を吐出させる第1吐出ステップと、
前記第1吐出ステップの後、前記移動部により記録媒体を前記第1ノズル列及び前記第2ノズル列に対して前記第1方向に第1距離相対的に移動させる第1移動ステップと、
前記第1移動ステップの後、前記複数の第1ノズル及び前記複数の第2ノズルから記録媒体に対して液体を吐出させる第2吐出ステップと、
前記第2吐出ステップの後、前記移動部により記録媒体を前記第1ノズル列及び前記第2ノズル列に対して前記第1方向に第2距離相対的に移動させる第2移動ステップと、
前記第2移動ステップの後、前記複数の第1ノズル及び前記複数の第2ノズルから記録媒体に対して液体を吐出させる第3吐出ステップと、を実行可能な制御手段として機能させるプログラムであって、
前記第1吐出ステップにおける、前記第1ノズル列が前記第2ノズル列と前記第2方向に重なる重複領域又は前記第1ノズル列が前記第2ノズル列と前記第1方向に隣接する隣接領域である第1領域が、前記第2吐出ステップにおける前記第1ノズル列の前記第1領域以外の第2領域に含まれる、前記第1距離で、前記第1移動ステップを実行し、
前記第1吐出ステップにおける、前記第2ノズル列が前記第1ノズル列と前記第2方向に重なる重複領域以外の非重複領域又は前記第2ノズル列が前記第1ノズル列と前記第1方向に隣接する隣接領域以外の非隣接領域である第3領域が、前記第2吐出ステップにおける前記第2ノズル列の配置領域に含まれず、かつ、第3吐出ステップにおける前記第1ノズル列の前記第2領域に含まれる、前記第1距離と前記第2距離とで、前記第1移動ステップ及び前記第2移動ステップを実行することを特徴とする、プログラム。
発明の詳細な説明
【技術分野】
【0001】
本発明は、第1ノズル列及び第2ノズル列を備えた液体吐出装置、その制御方法及びプログラムに関する。
続きを表示(約 3,900 文字)
【背景技術】
【0002】
特許文献1に記載の液体吐出装置は、第1方向に並ぶ複数のノズルを含むノズル列が、第2方向に複数並んだ、ヘッドユニットを備えている。第2方向の一方に配置されたノズル列は、第2方向の他方に配置されたノズル列に対し、第1方向にずれている。液体吐出装置の制御部は、ノズルからインクを吐出させながらヘッドユニットを第2方向に移動させる主走査と、媒体を第1方向に搬送させる副走査と、を交互に繰り返す。これにより、媒体に画像が形成される。
【先行技術文献】
【特許文献】
【0003】
特開2018-122470号公報
【発明の概要】
【発明が解決しようとする課題】
【0004】
第1方向にずれて配置された2つのノズル列における、第2方向に重なる重複領域(特許文献1参照)、又は、第1方向に互いに隣接する隣接領域において、マルチパス記録処理を行うことが知られている。マルチパス記録処理とは、記録媒体上の所定領域に対し、異なるノズルからインク滴を吐出させることをいう。
【0005】
また、副走査における第1方向の搬送量を小さくし、複数の主走査の記録領域を部分的に重複させる、インターレース技術が知られている。これにより、第1方向においてノズルピッチよりも小さいピッチでドットが形成され、高解像度の記録を実現できる。当該インターレース技術においても、上記部分的に重複した記録領域では、マルチパス記録処理が行われ、異なるノズルからインク滴が吐出される。
【0006】
重複領域又は隣接領域においてマルチパス記録処理が行われる領域と、インターレース技術においてマルチパス記録処理が行われる領域とが、重なる領域では、他の領域(マルチパス記録領域が行われない領域、重複領域又は隣接領域におけるマルチパス記録処理のみが行われる領域、及び、インターレース技術におけるマルチパス記録処理のみが行われる領域、のいずれか)と比べ、画像の所定領域に対するインク滴の吐出回数が多い。そのため、画像全体において上記重なる領域と他の領域とで、バンディングが発生したように見える可能性がある。
【0007】
本発明の目的は、バンディングの発生を防止できる液体吐出装置、その制御方法及びプログラムを提供することにある。
【課題を解決するための手段】
【0008】
本発明に係る液体吐出装置は、第1方向に並ぶ複数の第1ノズルを含む第1ノズル列と、前記第1方向に並ぶ複数の第2ノズルを含み、前記第1ノズル列に対して前記第1方向と直交する第2方向に設けられた第2ノズル列であって、前記第1ノズル列に対して前記複数の第2ノズルの少なくとも1つが前記第1方向にずれた第2ノズル列と、記録媒体を前記第1ノズル列及び前記第2ノズル列に対して前記第1方向に相対的に移動させる移動部と、制御部と、を備え、前記制御部は、前記複数の第1ノズル及び前記複数の第2ノズルから記録媒体に対して液体を吐出させる第1吐出ステップと、前記第1吐出ステップの後、前記移動部により記録媒体を前記第1方向に第1距離移動させる第1移動ステップと、前記第1移動ステップの後、前記複数の第1ノズル及び前記複数の第2ノズルから記録媒体に対して液体を吐出させる第2吐出ステップと、前記第2吐出ステップの後、前記移動部により記録媒体を前記第1方向に第2距離移動させる第2移動ステップと、前記第2移動ステップの後、前記複数の第1ノズル及び前記複数の第2ノズルから記録媒体に対して液体を吐出させる第3吐出ステップと、を実行し、前記第1吐出ステップにおける、前記第1ノズル列が前記第2ノズル列と前記第2方向に重なる重複領域又は前記第1ノズル列が前記第2ノズル列と前記第1方向に隣接する隣接領域である第1領域が、前記第2吐出ステップにおける前記第1ノズル列の前記第1領域以外の第2領域に含まれる、前記第1距離で、前記第1移動ステップを実行し、前記第1吐出ステップにおける、前記第2ノズル列が前記第1ノズル列と前記第2方向に重なる重複領域以外の非重複領域又は前記第2ノズル列が前記第1ノズル列と前記第1方向に隣接する隣接領域以外の非隣接領域である第3領域が、前記第2吐出ステップにおける前記第2ノズル列の配置領域に含まれず、かつ、前記第3吐出ステップにおける前記第1ノズル列の前記第2領域に含まれる、前記第1距離と前記第2距離とで、前記第1移動ステップ及び前記第2移動ステップを実行することを特徴とする。
【0009】
本発明に係る制御方法は、第1方向に並ぶ複数の第1ノズルを含む第1ノズル列と、前記第1方向に並ぶ複数の第2ノズルを含み、前記第1ノズル列に対して前記第1方向と直交する第2方向に設けられた第2ノズル列であって、前記第1ノズル列に対して前記複数の第2ノズルの少なくとも1つが前記第1方向にずれた第2ノズル列と、記録媒体を前記第1ノズル列及び前記第2ノズル列に対して前記第1方向に相対的に移動させる移動部と、を備えた液体吐出装置の制御方法であって、前記複数の第1ノズル及び前記複数の第2ノズルから記録媒体に対して液体を吐出させる第1吐出ステップと、前記第1吐出ステップの後、前記移動部により記録媒体を前記第1ノズル列及び前記第2ノズル列に対して前記第1方向に第1距離相対的に移動させる第1移動ステップと、前記第1移動ステップの後、前記複数の第1ノズル及び前記複数の第2ノズルから記録媒体に対して液体を吐出させる第2吐出ステップと、前記第2吐出ステップの後、前記移動部により記録媒体を前記第1ノズル列及び前記第2ノズル列に対して前記第1方向に第2距離相対的に移動させる第2移動ステップと、前記第2移動ステップの後、前記複数の第1ノズル及び前記複数の第2ノズルから記録媒体に対して液体を吐出させる第3吐出ステップと、を実行し、前記第1吐出ステップにおける、前記第1ノズル列が前記第2ノズル列と前記第2方向に重なる重複領域又は前記第1ノズル列が前記第2ノズル列と前記第1方向に隣接する隣接領域である第1領域が、前記第2吐出ステップにおける前記第1ノズル列の前記第1領域以外の第2領域に含まれる、前記第1距離で、前記第1移動ステップを実行し、前記第1吐出ステップにおける、前記第2ノズル列が前記第1ノズル列と前記第2方向に重なる重複領域以外の非重複領域又は前記第2ノズル列が前記第1ノズル列と前記第1方向に隣接する隣接領域以外の非隣接領域である第3領域が、前記第2吐出ステップにおける前記第2ノズル列の配置領域に含まれず、かつ、前記第3吐出ステップにおける前記第1ノズル列の前記第2領域に含まれる、前記第1距離と前記第2距離とで、前記第1移動ステップ及び前記第2移動ステップを実行することを特徴とする。
【0010】
本発明に係るプログラムは、第1方向に並ぶ複数の第1ノズルを含む第1ノズル列と、前記第1方向に並ぶ複数の第2ノズルを含み、前記第1ノズル列に対して前記第1方向と直交する第2方向に設けられた第2ノズル列であって、前記第1ノズル列に対して前記複数の第2ノズルの少なくとも1つが前記第1方向にずれた第2ノズル列と、記録媒体を前記第1ノズル列及び前記第2ノズル列に対して前記第1方向に相対的に移動させる移動部と、を備えた液体吐出装置に用いられる制御装置を、前記複数の第1ノズル及び前記複数の第2ノズルから記録媒体に対して液体を吐出させる第1吐出ステップと、前記第1吐出ステップの後、前記移動部により記録媒体を前記第1ノズル列及び前記第2ノズル列に対して前記第1方向に第1距離相対的に移動させる第1移動ステップと、前記第1移動ステップの後、前記複数の第1ノズル及び前記複数の第2ノズルから記録媒体に対して液体を吐出させる第2吐出ステップと、前記第2吐出ステップの後、前記移動部により記録媒体を前記第1ノズル列及び前記第2ノズル列に対して前記第1方向に第2距離相対的に移動させる第2移動ステップと、前記第2移動ステップの後、前記複数の第1ノズル及び前記複数の第2ノズルから記録媒体に対して液体を吐出させる第3吐出ステップと、を実行可能な制御手段として機能させるプログラムであって、前記第1吐出ステップにおける、前記第1ノズル列が前記第2ノズル列と前記第2方向に重なる重複領域又は前記第1ノズル列が前記第2ノズル列と前記第1方向に隣接する隣接領域である第1領域が、前記第2吐出ステップにおける前記第1ノズル列の前記第1領域以外の第2領域に含まれる、前記第1距離で、前記第1移動ステップを実行し、前記第1吐出ステップにおける、前記第2ノズル列が前記第1ノズル列と前記第2方向に重なる重複領域以外の非重複領域又は前記第2ノズル列が前記第1ノズル列と前記第1方向に隣接する隣接領域以外の非隣接領域である第3領域が、前記第2吐出ステップにおける前記第2ノズル列の配置領域に含まれず、かつ、第3吐出ステップにおける前記第1ノズル列の前記第2領域に含まれる、前記第1距離と前記第2距離とで、前記第1移動ステップ及び前記第2移動ステップを実行することを特徴とする。
【発明の効果】
(【0011】以降は省略されています)
この特許をJ-PlatPat(特許庁公式サイト)で参照する
関連特許
ブラザー工業株式会社
ホルダ
16日前
ブラザー工業株式会社
印刷装置
9日前
ブラザー工業株式会社
印刷媒体
16日前
ブラザー工業株式会社
印刷媒体
16日前
ブラザー工業株式会社
印刷媒体
16日前
ブラザー工業株式会社
スキャナ
12日前
ブラザー工業株式会社
スキャナ
12日前
ブラザー工業株式会社
静電塗工装置
16日前
ブラザー工業株式会社
画像形成装置
12日前
ブラザー工業株式会社
画像形成装置
12日前
ブラザー工業株式会社
画像形成装置
12日前
ブラザー工業株式会社
ベルトユニットのリサイクル方法
16日前
ブラザー工業株式会社
ベルトユニットのリサイクル方法
16日前
ブラザー工業株式会社
インクジェット記録方法及び印刷物
11日前
ブラザー工業株式会社
サーバ、プログラム、及び印刷管理方法
16日前
ブラザー工業株式会社
画像形成方法及びそれに用いられる液体
12日前
ブラザー工業株式会社
工作機械の数値制御装置及び数値制御方法
16日前
ブラザー工業株式会社
画像形成装置、画像形成システム、消耗品
12日前
ブラザー工業株式会社
工作機械の数値制御装置及び数値制御方法
16日前
ブラザー工業株式会社
加工データ出力システム及び表示プログラム
16日前
ブラザー工業株式会社
液体吐出装置、その制御方法及びプログラム
16日前
ブラザー工業株式会社
液体吐出装置、その制御方法及びプログラム
16日前
ブラザー工業株式会社
カラオケ用プログラム、及び、カラオケ装置
16日前
ブラザー工業株式会社
接着液、画像形成システム、及び画像形成方法
16日前
ブラザー工業株式会社
制御装置、制御方法、及びコンピュータプログラム
16日前
ブラザー工業株式会社
画像形成装置、画像形成プログラム、及び画像形成方法
16日前
ブラザー工業株式会社
プリンタ
11日前
ブラザー工業株式会社
通信システム、サーバ、および、コンピュータプログラム
16日前
ブラザー工業株式会社
通信システム、サーバ、および、コンピュータプログラム
16日前
ブラザー工業株式会社
カセット
12日前
ブラザー工業株式会社
縫製支援方法、縫製支援プログラム、記憶媒体及び縫製装置
16日前
ブラザー工業株式会社
縫製支援方法、縫製支援プログラム、記憶媒体及び縫製装置
16日前
ブラザー工業株式会社
制御装置、工作機械、制御方法及びコンピュータプログラム
16日前
ブラザー工業株式会社
制御装置、工作機械、制御方法及びコンピュータプログラム
16日前
ブラザー工業株式会社
工作機械、工作機械の制御方法、及びコンピュータプログラム
16日前
ブラザー工業株式会社
画像形成装置
2日前
続きを見る
他の特許を見る