TOP
|
特許
|
意匠
|
商標
特許ウォッチ
Twitter
他の特許を見る
10個以上の画像は省略されています。
公開番号
2025138282
公報種別
公開特許公報(A)
公開日
2025-09-25
出願番号
2024037286
出願日
2024-03-11
発明の名称
車両用送風構造
出願人
スズキ株式会社
代理人
個人
,
個人
,
個人
,
個人
,
個人
,
個人
主分類
B60H
1/00 20060101AFI20250917BHJP(車両一般)
要約
【課題】フロアコンソールの前部へのアクセス性を確保しつつ、インストルメントパネルの上部から下方側に効率よく送風できるようにする。
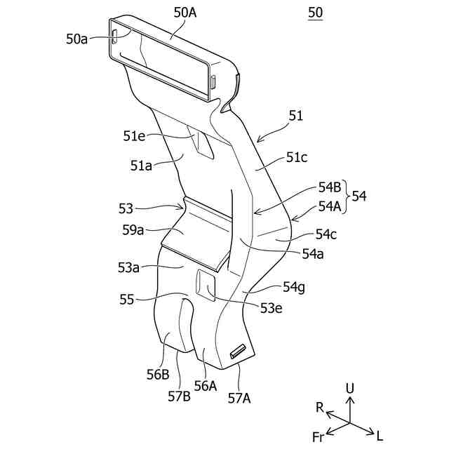
【解決手段】送風構造は、インストルメントパネルの前方側に配置され、上下方向に延びる縦流路部50と、縦流路部50の下部に接続され、車両室のフロア部に沿って、後方に延びる前後方向流路部と、を有し、縦流路部50の上下方向の中間部には、前方に突出するように湾曲する湾曲部53が設けられ、湾曲部53の外側部には、内側部に比べて流路断面が拡張される拡張部54が設けられている。
【選択図】図10
特許請求の範囲
【請求項1】
車両室の前部に配置されるインストルメントパネルの前方側に配置される空調ユニットに接続され、前記インストルメントパネルの前方側に配置され、上下方向に延びる縦流路部と、
前記縦流路部の下部に接続され、前記車両室のフロア部の車幅方向中間部に沿って、車両後方に延びる前後方向流路部と、
を有する車両用空調ダクト構造であって、
前記縦流路部の上下方向の中間部には、車両前方に突出するように湾曲する湾曲部が設けられ、
前記湾曲部の車幅方向外側部には、車幅方向内側部に比べて流路断面が拡張される拡張部が設けられていることを特徴とする、車両用空調ダクト構造。
続きを表示(約 1,000 文字)
【請求項2】
前記拡張部の流路断面は、前記湾曲部の下方に位置する前記縦流路部の流路断面に対して、車幅方向外側に広がるように形成されていることを特徴とする、請求項1に記載の車両用空調ダクト構造。
【請求項3】
前記拡張部の流路断面は、前記湾曲部の下方に位置する前記縦流路部の流路断面に対して、車両前後方向に広がるように形成されていることを特徴とする、請求項1または請求項2に記載の車両用空調ダクト構造。
【請求項4】
前記拡張部は、
前記拡張部の流路断面が、前記湾曲部の下方に位置する前記縦流路部の流路断面に対して、車幅方向外側に広がる幅方向拡張部と、
前記拡張部の流路断面が、前記湾曲部の下方に位置する前記縦流路部の流路断面に対して、車両前後方向に広がる前後方向拡張部と、
を有し、
前記幅方向拡張部及び前記前後方向拡張部は、互いに流体連通可能な連続する1つの流路断面を構成するように接続されていることを特徴とする、請求項1に記載の車両用空調ダクト構造。
【請求項5】
前記空調ユニットは、
前記空調ユニットの上部に設けられ、前記空調ダクトが接続される接続部と、
前記接続部に対して車幅方向の一方側にずれて配置され、前記接続部に空調風を送風する空気導入部と、を有していることを特徴とする、請求項1に記載の車両用空調ダクト構造。
【請求項6】
前記縦流路部の前記拡張部は、前記湾曲部の車幅方向の前記一方側に配置されていることを特徴とする、請求項5に記載の車両用空調ダクト構造。
【請求項7】
前記拡張部は、前記湾曲部から上方に延び、前記接続部に接続されていることを特徴とする、請求項5または請求項6に記載の車両用空調ダクト構造。
【請求項8】
前記湾曲部よりも上方側に位置する前記縦流路部の前側内壁面又は後側内壁面は、車幅方向の一方側から他方側に向かうに従い、流路の前後方向長さが短くなるように傾斜していることを特徴とする、請求項5または請求項6に記載の車両用空調ダクト構造。
【請求項9】
前記湾曲部の下方側に位置する前記縦流路部には、左側流路部と、右側流路部とに分岐する分岐部が設けられており、
前記拡張部は、前記分岐部に向かって下方に延びていることを特徴とする、請求項5または請求項7に記載の車両用空調ダクト構造。
発明の詳細な説明
【技術分野】
【0001】
本発明は、車両用送風構造に関する。
続きを表示(約 1,700 文字)
【背景技術】
【0002】
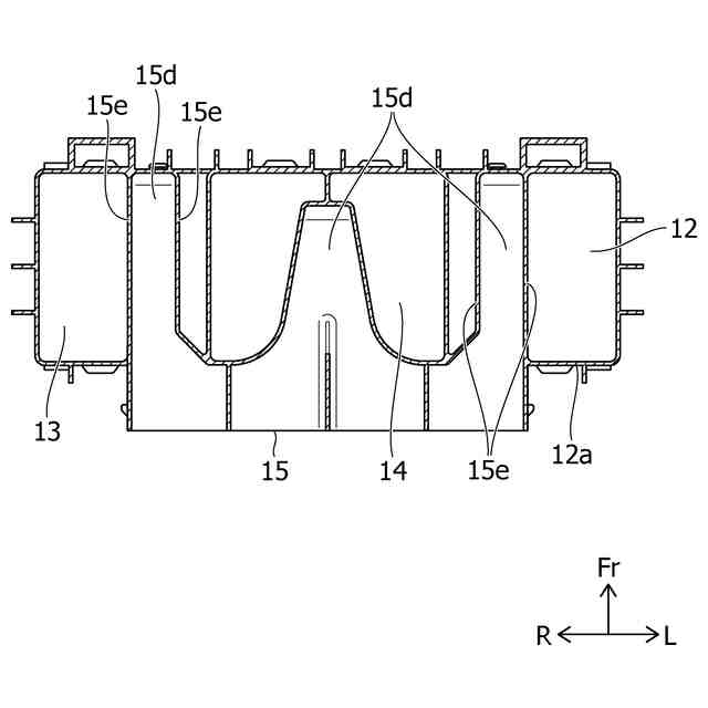
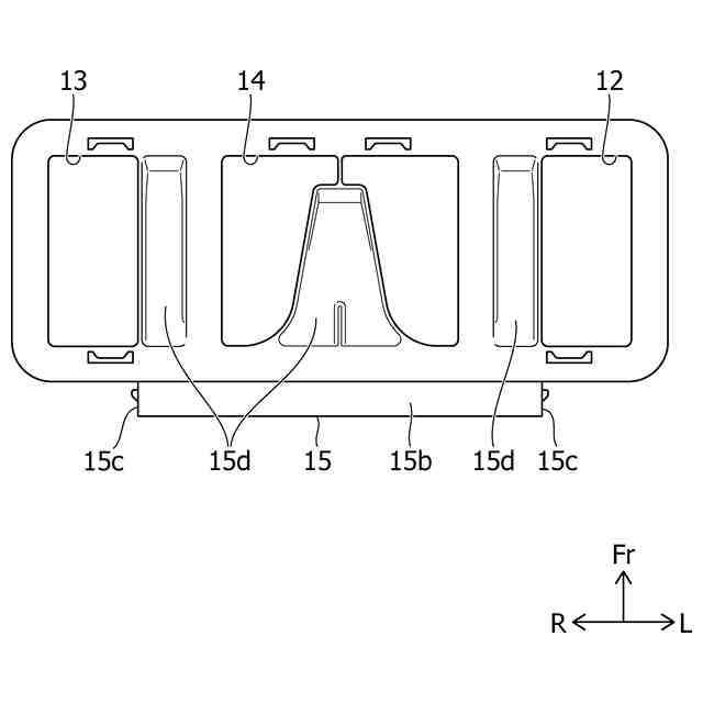
車両用の空調ユニットは、例えば、車両室の前部のインストルメントパネルの車両前方側に配置されている。空調ユニットには、車両室内に空調風を送るための空調ダクトが接続されている。また、空調ダクトは、例えば、インストルメントパネルに設けられた送風口に接続されている。空調ユニットから送られる空調風は、該空調ダクトを介して、送風口から、車両室内に向けて送風される。インストルメントパネルに設けられた送風口には、車幅方向の中央部に配置される中央吹き出し口、左右端に配置される左側吹き出し口及び右側吹き出し口が含まれ、さらに、インストルメントパネルの上面部の前部に設けられたデフロスターの吹き出し口等が含まれる。
【0003】
また、車両用の空調ユニットとして、空調ダクトを介して、車両室の後部に送風するように構成されるものが知られている。車両室の後部に空調風を送風するためには、例えば、車両室のフロア部に、車両前後方向に延びる流路部を設ける必要がある。
【0004】
例えば、フロアパネルの下方側に、流路部を配置し、空調ユニットにより生成される空調風を、フロントシートよりも後方側の車両室内に向けて送風するように構成された構造が知られている。しかしながら、フロアパネルの下方側に流路部を配置するスペースを確保することが困難な車両もある。
【0005】
そのような場合、例えば、特許文献1に開示されているように、車両のフロア部に設けられたフロアコンソールの内部に、流路部を設けて、フロントシートの車両後方側に送風する構造が知られている。こ例では、左右のフロントシートの間に設けられ且つ車両前後方向に延びるフロアコンソールの内部に、空調風が流通可能な流路が設けられ、フロアコンソールの後部に設けられた送風口から、空調風が送風される。
【0006】
一方で、インストルメントパネルの前方側に配置される空調ユニットは、例えば、デフロスターの吹き出し口、左側吹き出し口、及び、右側吹き出し口に対して、通常、下方側に配置されている。そのため、空調ユニットから送風される空調風は、例えば、インストルメントパネルの車幅方向中央部において、上方側に送風される必要がある。
【0007】
また、上記のように、フロア部に設けられる流路部に空調風を送風する場合には、インストルメントパネルの例えば車幅方向の中央部において、上方側に送風された空調風を、フロア部に設けられた流路部の前部に向かって、下方に送風する必要がある。そのために、インストルメントパネルの前方側には、上部からフロア部の前部に向かって、すなわち、下方に向かって流れる縦方向の流路部が設けられている。
【先行技術文献】
【特許文献】
【0008】
特開2000-272330号公報
【発明の概要】
【発明が解決しようとする課題】
【0009】
上記例の構造では、フロアコンソールの前部における上部に、小物等を仮置き又は収納可能な荷物収納部、及び、車載機器を駆動するための操作部等が設けられている。当該荷物収容部及び操作部には、例えば運転者の手がアクセスしやすいような良好なアクセス性が要求される。一方で、フロアコンソールの前部が、インストルメントパネルの車幅方向の中央部の下部に接続されるような構造では、荷物収容部等のアクセス性を確保するために、インストルメントパネルの車幅方向中央部には、車両下方に向かうに従い車両前方に傾斜する傾斜部が設けられる場合がある。
【0010】
インストルメントパネルに上記のような傾斜部が設けられると、インストルメントパネルの前方側に配置される縦方向の流路部も、上記傾斜形状に沿って湾曲させる必要が生じる。当該湾曲が形成されると、下方に向かって流れる空調風の流動抵抗が高くなり、送風効率が低下する可能性がある。そのため、上記例のフロアコンソール内に設けられた流路部に、空調風を効果的に送風する上で、改善の余地があった。
(【0011】以降は省略されています)
この特許をJ-PlatPat(特許庁公式サイト)で参照する
関連特許
個人
カーテント
4か月前
個人
タイヤレバー
2か月前
個人
車窓用防虫網戸
5か月前
個人
前輪キャスター
1か月前
個人
警告装置
5か月前
個人
小型EVシステム
5か月前
個人
上部一体型自動車
7日前
個人
車輪清掃装置
4か月前
個人
ホイルのボルト締結
3か月前
個人
ルーフ付きトライク
2か月前
個人
タイヤ脱落防止構造
1か月前
個人
マスタシリンダ
14日前
日本精機株式会社
表示装置
1か月前
日本精機株式会社
表示装置
2か月前
日本精機株式会社
表示装置
2か月前
日本精機株式会社
表示装置
2か月前
井関農機株式会社
作業車両
4か月前
個人
キャンピングトライク
3か月前
個人
車両通過構造物
2か月前
井関農機株式会社
作業車両
4か月前
個人
車両用スリップ防止装置
3か月前
個人
乗合路線バスの客室装置
2か月前
個人
アクセルのソフトウェア
3か月前
個人
ワイパーゴム性能保持具
4か月前
個人
キャンピングトレーラー
3か月前
株式会社クラベ
ヒータユニット
4か月前
個人
音声ガイド、音声サービス
2か月前
日本精機株式会社
車載表示装置
22日前
井関農機株式会社
収穫作業車両
4か月前
個人
円湾曲ホイール及び球体輪
2か月前
株式会社ニフコ
照明装置
1か月前
株式会社ニフコ
保持装置
3か月前
株式会社ニフコ
収納装置
1か月前
株式会社豊田自動織機
産業車両
2か月前
日本精機株式会社
車室演出装置
1か月前
日本精機株式会社
車載表示装置
3か月前
続きを見る
他の特許を見る