TOP
|
特許
|
意匠
|
商標
特許ウォッチ
Twitter
他の特許を見る
公開番号
2025143936
公報種別
公開特許公報(A)
公開日
2025-10-02
出願番号
2024043462
出願日
2024-03-19
発明の名称
燃料電池車両
出願人
スズキ株式会社
代理人
弁理士法人東京国際特許事務所
主分類
B60K
8/00 20060101AFI20250925BHJP(車両一般)
要約
【課題】後面後突の衝撃に対する燃料タンクの保護性を向上させることができる燃料電池車両を提供する。
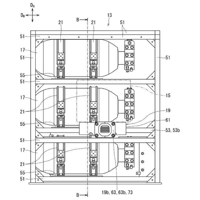
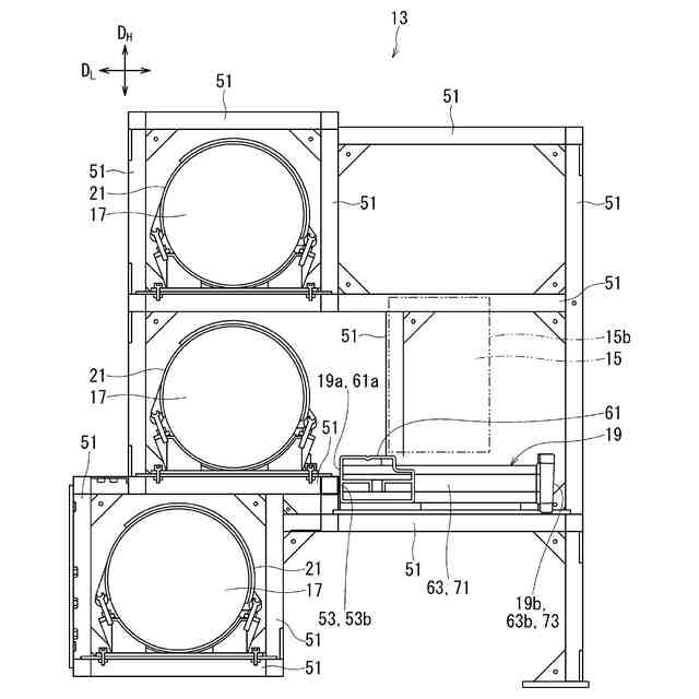
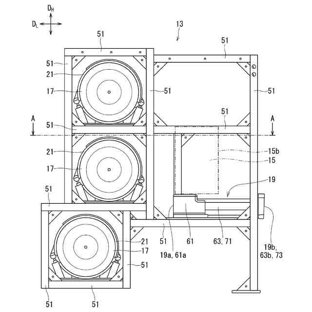
【解決手段】燃料電池車両1は、燃料電池15と、燃料電池15の燃料ガスを貯留する複数の燃料タンク17と、複数の燃料タンク17よりも車両後方に複数の燃料タンク17から間隔を空けて配置され、燃料電池15から排出される燃料ガスを空気で希釈する希釈装置19と、車両後方に設けられて、燃料電池15、複数の燃料タンク17および希釈装置19を収容する収容部13と、を備え、収容部13は、複数の燃料タンク17のうち1つの燃料タンク17と希釈装置19との間に設けられている保護フレーム53を有する。
【選択図】 図2
特許請求の範囲
【請求項1】
燃料電池と、
前記燃料電池の燃料ガスを貯留する複数の燃料タンクと、
前記複数の燃料タンクよりも車両後方に前記複数の燃料タンクから間隔を空けて配置され、前記燃料電池から排出される燃料ガスを空気で希釈する希釈装置と、
前記車両後方に設けられて、前記燃料電池、前記複数の燃料タンクおよび前記希釈装置を収容する収容部と、を備え、
前記収容部は、前記複数の燃料タンクのうち1つの燃料タンクと前記希釈装置との間に設けられている保護フレームを有する燃料電池車両。
続きを表示(約 880 文字)
【請求項2】
前記希釈装置の後端は、前記収容部から前記車両後方に延出する請求項1に記載の燃料電池車両。
【請求項3】
前記希釈装置の後端は、前記燃料電池の後端よりも前記車両後方に位置する請求項1に記載の燃料電池車両。
【請求項4】
前記希釈装置は、車両幅方向に延在する接触部と、前記接触部から前記車両後方へ延在して前記希釈装置の後端を含む排出部と、を有し、
前記接触部の前記車両幅方向の長さ寸法は、前記排出部の前記車両幅方向の長さ寸法よりも大きく、
車両背面視で、前記車両幅方向に延在する前記保護フレームと、前記接触部とは、互いに重なる位置に配置されている請求項1に記載の燃料電池車両。
【請求項5】
前記保護フレームの前記車両幅方向の長さ寸法は、前記接触部の前記車両幅方向の長さ寸法よりも大きい請求項4に記載の燃料電池車両。
【請求項6】
前記接触部の前端は、車両平面視で、前記保護フレームの後端と平行である請求項4に記載の燃料電池車両。
【請求項7】
前記接触部と前記排出部とは、車両平面視で、略T字状となるように配置されている請求項6に記載の燃料電池車両。
【請求項8】
前記収容部に収納され、それぞれの前記燃料タンクの外周の少なくとも一部に沿うように車両前後方向に延びてそれぞれの前記燃料タンクを固定する複数の固定部材を備え、
前記複数の固定部材のうち少なくとも1つの固定部材は、車両背面視で、前記接触部と重なる位置に設けられている請求項4に記載の燃料電池車両。
【請求項9】
前記排出部は、希釈された前記燃料ガスが流通する流路部と、前記希釈装置の前記後端を含む排気口部と、を有し、
前記排気口部の前記車両幅方向の長さ寸法は、前記流路部の前記車両幅方向の長さ寸法よりも大きく、かつ、前記排気口部の車両高さ方向の高さ寸法は、前記流路部の前記車両高さ方向の高さ寸法よりも大きい請求項4に記載の燃料電池車両。
発明の詳細な説明
【技術分野】
【0001】
本発明の実施形態は、燃料電池車両に関する。
続きを表示(約 1,300 文字)
【背景技術】
【0002】
燃料電池による電力供給を簡単かつ低コストに実現可能な燃料電池車両が知られている。この燃料電池車両は、車両前部の乗車部と、バッテリーおよび駆動ユニットを備えて乗車部の後方に設けられる動力部と、燃料タンク、燃料電池ユニットおよび電流変換器を備えてバッテリーに供給する電力を発生させる燃料電池部と、を有している。燃料電池ユニットおよび電流変換器を備える上部ユニット、ならびに、燃料タンクを備える下部ユニットを上下に並べて燃料電池部を構成し、乗車部の後方に燃料電池部を配置する。燃料タンクには、燃料ガスとして水素ガスが充填されている。
【先行技術文献】
【特許文献】
【0003】
特開2020-168886号公報
【発明の概要】
【発明が解決しようとする課題】
【0004】
しかしながら、特許文献1で開示されている燃料電池車両では、車両後端と燃料タンクとの間にスペースがない。燃料電池車両の後面が他の車両または壁および柱等の障害物に衝突する後面衝突が発生した際に、燃料タンクは、直に後面衝突の衝撃に曝される。そのため、燃料電池車両には、後面衝突から燃料タンクを保護するという点において改善の余地がある。
【0005】
そこで、本発明は、後面衝突の衝撃に対する燃料タンクの保護性を向上させることができる燃料電池車両を提供することを目的とする。
【課題を解決するための手段】
【0006】
前記の課題を解決するため本発明の実施形態に係る燃料電池車両は、燃料電池と、前記燃料電池の燃料ガスを貯留する複数の燃料タンクと、複数の燃料タンクよりも車両後方に前記複数の燃料タンクから間隔を空けて配置され、前記燃料電池から排出される燃料ガスを空気で希釈する希釈装置と、前記車両後方に設けられて、前記燃料電池、前記複数の燃料タンクおよび前記希釈装置を収容する収容部と、を備え、前記収容部は、前記複数の燃料タンクのうち1つの燃料タンクと前記希釈装置との間に設けられている保護フレームを有している。
【発明の効果】
【0007】
本発明により、後面衝突の衝撃に対する燃料タンクの保護性を向上させることができる燃料電池車両が提供される。
【図面の簡単な説明】
【0008】
本発明の実施形態に係る燃料電池車両の側面図。
本発明の実施形態に係る燃料電池車両の収納部の側面図。
本発明の実施形態に係る燃料電池車両の収納部の背面図。
図2のA-A断面図。
図3のB-B断面図。
本発明の実施形態に係る燃料電池車両における後面衝突直後の希釈装置の位置を示す概略図。
【発明を実施するための形態】
【0009】
本実施形態に係る燃料電池車両について、図1から図6を参照して説明する。なお、複数の図面中の、同じまたは相当する構成には同一の符号が付されている。
【0010】
図1は、本発明の実施形態に係る燃料電池車両1の側面図である。
(【0011】以降は省略されています)
この特許をJ-PlatPat(特許庁公式サイト)で参照する
関連特許
スズキ株式会社
内燃機関
2か月前
スズキ株式会社
排気装置
29日前
スズキ株式会社
排気装置
29日前
スズキ株式会社
車両側部構造
28日前
スズキ株式会社
エアクリーナ
1か月前
スズキ株式会社
モータケース
19日前
スズキ株式会社
車両用変速機
19日前
スズキ株式会社
車両側部構造
28日前
スズキ株式会社
移動システム
2か月前
スズキ株式会社
運転支援装置
1か月前
スズキ株式会社
車両前部構造
1か月前
スズキ株式会社
車両前部構造
1か月前
スズキ株式会社
車両前部構造
19日前
スズキ株式会社
車両用バンパ
19日前
スズキ株式会社
運転支援装置
1か月前
スズキ株式会社
車体下部構造
1か月前
スズキ株式会社
車両側部構造
1か月前
スズキ株式会社
燃料電池車両
6日前
スズキ株式会社
燃料電池車両
6日前
スズキ株式会社
動力伝達装置
1か月前
スズキ株式会社
車体下部構造
1か月前
スズキ株式会社
運転支援装置
1か月前
スズキ株式会社
車両の制御装置
21日前
スズキ株式会社
車両用制御装置
2か月前
スズキ株式会社
積立金管理装置
27日前
スズキ株式会社
車両用制御装置
1か月前
スズキ株式会社
車両用制御装置
28日前
スズキ株式会社
車両用送風構造
13日前
スズキ株式会社
車両用送風構造
13日前
スズキ株式会社
車両用送風構造
13日前
スズキ株式会社
車両の制御装置
12日前
スズキ株式会社
車両用制御装置
1か月前
スズキ株式会社
車両用制御装置
1か月前
スズキ株式会社
車両の制御装置
1か月前
スズキ株式会社
車両用空調装置
1か月前
スズキ株式会社
車両用ペダル構造
2か月前
続きを見る
他の特許を見る