TOP
|
特許
|
意匠
|
商標
特許ウォッチ
Twitter
他の特許を見る
公開番号
2025154059
公報種別
公開特許公報(A)
公開日
2025-10-10
出願番号
2024056843
出願日
2024-03-29
発明の名称
防音壁ユニット、防音壁ユニットの交換方法及び防音壁の構築方法
出願人
日鉄建材株式会社
,
日鉄神鋼建材株式会社
代理人
個人
主分類
E01F
8/00 20060101AFI20251002BHJP(道路,鉄道または橋りょうの建設)
要約
【課題】劣化状況に応じて構成部材を容易に交換でき、部材の落下を防止できる防音壁ユニットを提供する。
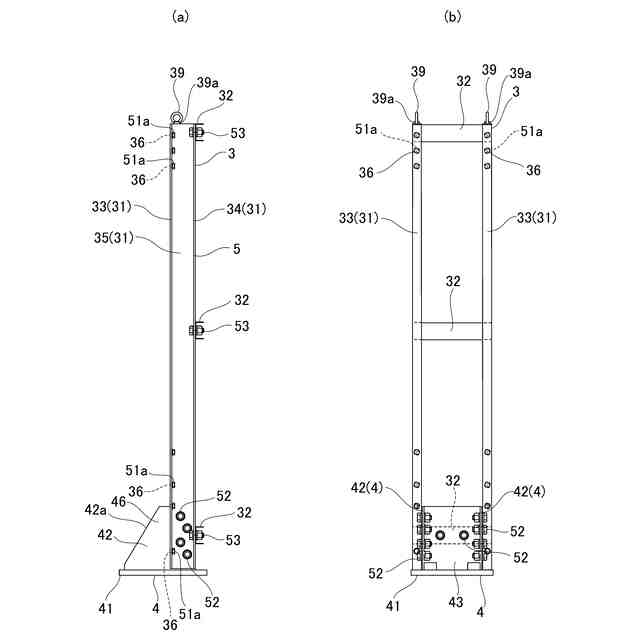
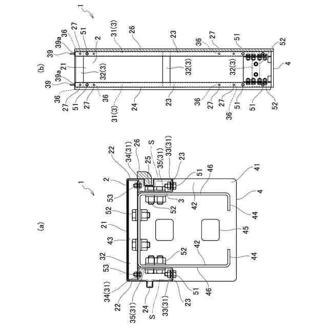
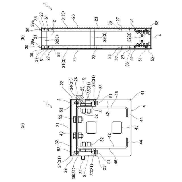
【解決手段】実施形態における防音壁ユニット1は、鋼板からなる面板2と、面板2に接合されるフレーム部3と、を備える。面板2は、主板部21と、主板部21の左右の端部から折り返された面板リブ22と、左右の面板リブ22から互いに近づく方向に向けて折り返される折り返し片23と、を有する。フレーム部3は、主板部21と折り返し片23との間に配置され、折り返し片23は、ボルト51によりフレーム部3に接合される。面板2は、フレーム部3との接合を解除した状態において、フレーム部3に沿って上下方向に抜き差し可能に構成される。
【選択図】図3
特許請求の範囲
【請求項1】
構造躯体に並設される防音壁ユニットであって、
鋼板からなる面板と、
前記面板に接合されるフレーム部と、を備え、
前記面板は、主板部と、前記主板部の左右の端部から折り返された面板リブと、左右の前記面板リブから互いに近づく方向に向けて折り返される折り返し片と、を有し、
前記フレーム部は、前記主板部と前記折り返し片との間に配置され、
前記折り返し片は、機械式接合手段により前記フレーム部に接合され、
前記面板は、前記フレーム部との接合を解除した状態において、前記フレーム部に沿って上下方向に抜き差し可能に構成されること
を特徴とする防音壁ユニット。
続きを表示(約 1,300 文字)
【請求項2】
前記構造躯体に接合される基部を更に備え、
前記基部は、前記フレーム部に機械式接合手段により接合されること
を特徴とする請求項1記載の防音壁ユニット。
【請求項3】
前記フレーム部は、前記折り返し片が接合される一対の縦材と、一対の前記縦材を繋ぐ横材と、を有すること
を特徴とする請求項2記載の防音壁ユニット。
【請求項4】
前記基部は、ベースプレートと、前記ベースプレートから起立されるとともに前記縦材に接合されるベースフランジと、を有し、
前記ベースフランジの正面側には、前記縦材よりもはみ出したはみ出し部を有し、
前記はみ出し部の上端の正面側は、切り欠き部を有すること
を特徴とする請求項3記載の防音壁ユニット。
【請求項5】
前記基部は、ベースプレートと、前記ベースプレートから起立されるとともに前記縦材に接合されるベースフランジと、前記ベースプレートから起立されるとともに前記横材に接合されるベースウェブと、を有すること
を特徴とする請求項3記載の防音壁ユニット。
【請求項6】
前記フレーム部は、前記折り返し片が接合される縦材を有し、
前記縦材は、
前記折り返し片に沿って延びる一対の縦材フランジと、
一対の前記縦材フランジを繋ぐとともに前記面板リブに沿って延びる縦材ウェブと、を有し、
前記折り返し片は、一方の前記縦材フランジに接合され、
前記縦材ウェブは、前記面板リブから離間されること
を特徴とする請求項2記載の防音壁ユニット。
【請求項7】
前記折り返し片は、第1貫通孔が形成され、
前記縦材は、前記第1貫通孔に対向する第2貫通孔が形成され、前記第2貫通孔を挟んで前記第1貫通孔の反対側には第1ナットが固定されること
を特徴とする請求項2記載の防音壁ユニット。
【請求項8】
一方の前記面板リブは、隣接する一方の防音壁ユニットの面板リブに向けて突出された突起部を有し、
他方の前記面板リブは、隣接する他方の防音壁ユニットの突起部が嵌合される溝部を有し、
前記溝部は、間詰め材が設けられること
を特徴とする請求項2記載の防音壁ユニット。
【請求項9】
前記フレーム部の頂部は、吊治具を接合するための第2ナットが固定されること
を特徴とする請求項2記載の防音壁ユニット。
【請求項10】
請求項1記載の防音壁ユニットの交換方法であって、
前記面板と前記フレーム部との機械式接合手段による接合を解除し、前記面板を前記フレーム部に沿って上側に抜き去る取外工程と、
前記フレーム部の上側から前記面板とは異なる新たな前記面板を差し込んで、新たな前記面板と前記フレーム部とを機械式接合手段により接合する面板接合工程と、を備えること
を特徴とする防音壁ユニットの交換方法。
(【請求項11】以降は省略されています)
発明の詳細な説明
【技術分野】
【0001】
本発明は、構造躯体に並設される防音壁ユニット、防音壁ユニットの交換方法及び防音壁の構築方法に関する。
続きを表示(約 1,500 文字)
【背景技術】
【0002】
従来の防音壁構造が、H型鋼等の支柱に対して防音パネルを取り付ける構造であることから、防音壁の構成部材が多くなり、現地設置時の施工手間がかかるため、施工費が高くなる。また、列車風圧等の繰返し荷重による構成部材同士の固定ボルトの緩み等、老朽劣化による部材落下のおそれがあった。
【0003】
そこで、現地設置時の施工手間を簡略化でき、老朽劣化による部材落下のおそれを低減するため、特許文献1~4の開示技術が提案されている。
【0004】
特許文献1の防音壁鋼製部材は、防音パネルまたは防音板からなる壁体と、左右縦材と、ベース部材とを備え、壁体、左右縦材及びベース部材が一体化されている。
【0005】
特許文献2の防音壁鋼製部材は、防音パネル又は防音板を有する壁体と、フランジを有するベース部材とからなり、該壁体と該ベース部材のフランジとが機械的に締結される。
【0006】
特許文献3の壁体構造物には、第1平面方向に沿う主面を有する壁体本体部と、壁体本体部の下部に接合されるベース部と、を備え、ベース部は、板状のベースプレートと、ベースプレートをコンクリート基礎に締結するための締結部材と、ベースプレートに貫通されるとともにベースプレートの下面からの突出長を調整するための調整部材と、を有し、調整部材は、下端部がコンクリート基礎の上面に接触される。
【0007】
特許文献4の防音壁ユニットは、鋼製の左右一対の支柱部材と、騒音を遮音する鋼板からなる面板と、を備え、左右一対の支柱部材は、それぞれ並設される方向に沿って折り返された外側フランジを有し、面板は、左右の端部が前記構造躯体の内側に袋状に並設される方向に沿って折り返された左右一対の折返し部を有し、外側フランジと折返し部が、前記構造躯体の内側から接合部材で止め付けられているとともに、左右一対の折返し部の端面には、左右非対称の段部又は凹凸が形成され、隣接する左右一対の折返し部の端面の段部又は凹凸同士を互いに嵌合して面板の外面が面一となるように構成する。
【先行技術文献】
【特許文献】
【0008】
特開2015-10452号公報
特開2019-7193号公報
特開2022-30287号公報
特開2019-85754号公報
【発明の概要】
【発明が解決しようとする課題】
【0009】
ところで、防音壁ユニットを構成する部材において、列車等の風圧や飛来物等の影響を受けやすい面板は、最も劣化、損傷し易い構成部材である。一方、面板を支持するベース部材は、面板よりも劣化、損傷しにくい。このように、防音壁ユニットを構成する部材毎に、劣化、損傷の度合いが異なる。この点、特許文献1~4の開示技術では、面板や壁体を取り替える場合には、面板全体や壁体全体を交換する必要がある。このため、面板の交換が容易でない。また、特許文献1~4の開示技術では、面板をベース部材に接合することから、面板がベース部材に対して片持ちの状態で支持される。このため、風荷重等の横荷重が面板に作用して面板とベース部材との接合部分が損傷した場合には、ボルト等の部材の落下が懸念される。
【0010】
そこで、本発明は、上述した事情に鑑みて案出されたものであり、その目的とするところは、劣化状況に応じて構成部材を容易に交換でき、部材の落下を防止できる防音壁ユニット、防音壁ユニットの交換方法及び防音壁の構築方法を提供することにある。
【課題を解決するための手段】
(【0011】以降は省略されています)
この特許をJ-PlatPat(特許庁公式サイト)で参照する
関連特許
日鉄建材株式会社
成形装置
9日前
日鉄建材株式会社
外壁通気工法用ラス
10日前
日鉄建材株式会社
解析システム、および解析方法
12日前
日鉄建材株式会社
吊り材で支持された足場用床パネル
9日前
日鉄建材株式会社
鋼製枠の補修構造及び鋼製枠の補修方法
9日前
日鉄建材株式会社
鋼製枠の補修構造及び鋼製枠の補修方法
9日前
日鉄建材株式会社
スラリー及びモールドパウダーの製造方法
10日前
日鉄建材株式会社
門型波形鋼板の立設方法、及び門型波形鋼板の立設治具
9日前
日鉄建材株式会社
補強壁部材の継手構造および補強壁部材ならびに壁構造体
9日前
日鉄建材株式会社
ライナープレート用補強材、及びライナープレート補強構造
9日前
日鉄建材株式会社
斜面対策構造
4日前
日鉄建材株式会社
防音壁ユニット、防音壁ユニットの交換方法及び防音壁の構築方法
9日前
株式会社熊谷組
床版
10日前
株式会社熊谷組
床版
10日前
個人
折り畳み式標識具
17日前
白出商事株式会社
縁石銘板(名板)
12日前
株式会社熊谷組
床版接合構造
20日前
株式会社セイトク
防雪パネル
2日前
北越消雪機械工業株式会社
消雪装置
17日前
GX株式会社
昇降式仮設防護体
1か月前
株式会社NIPPO
斜面用ローラ
11日前
株式会社ササキコーポレーション
作業機
9日前
株式会社NIPPO
斜面用ローラ
11日前
株式会社NIPPO
距離補正装置
10日前
株式会社NIPPO
切削用制御装置
10日前
三信工業株式会社
床版架設装置
9日前
前田工繊株式会社
防護柵
1か月前
株式会社熊谷組
床版継手装置、及び、床版
20日前
桑名金属工業株式会社
融雪マットおよび融雪方法
9日前
中井商工株式会社
橋梁の桁端止水工法
20日前
浅香工業株式会社
レーキ
27日前
東亜グラウト工業株式会社
防護柵の支柱構造
10日前
西尾レントオール株式会社
コーンベット型電源装置
4日前
日鉄神鋼建材株式会社
補強金具、及び支柱取付構造
10日前
株式会社NIPPO
アスファルトスタッカ制御装置
11日前
株式会社NIPPO
バンク用建設機械サポータ装置
11日前
続きを見る
他の特許を見る