TOP
|
特許
|
意匠
|
商標
特許ウォッチ
Twitter
他の特許を見る
公開番号
2025154511
公報種別
公開特許公報(A)
公開日
2025-10-10
出願番号
2024057559
出願日
2024-03-29
発明の名称
二酸化炭素回収装置
出願人
株式会社大気社
代理人
弁理士法人大塚国際特許事務所
主分類
B01D
53/06 20060101AFI20251002BHJP(物理的または化学的方法または装置一般)
要約
【課題】エネルギー効率に優れた二酸化炭素回収技術を提供すること。
【解決手段】二酸化炭素回収装置は、処理槽に導入された気体に含まれる水分を吸着、または吸着した水分を脱着することが可能な第一吸着剤と、第一吸着剤の下流に配され、気体に含まれる二酸化炭素を吸着、または吸着した二酸化炭素を脱着することが可能な第二吸着剤と、を有し、第二吸着剤は、第一吸着剤から脱着した、水分の温度を加熱源として加熱され、または水分の湿度を加湿源として加湿されることにより、二酸化炭素を脱着する。
【選択図】図1
特許請求の範囲
【請求項1】
処理槽に導入された気体に含まれる水分を吸着、または吸着した前記水分を脱着することが可能な第一吸着剤と、
前記第一吸着剤の下流に配され、前記気体に含まれる二酸化炭素を吸着、または吸着した前記二酸化炭素を脱着することが可能な第二吸着剤と、を有し、
前記第二吸着剤は、前記第一吸着剤から脱着した、前記水分の温度を加熱源として加熱され、または前記水分の湿度を加湿源として加湿されることにより、前記二酸化炭素を脱着する二酸化炭素回収装置。
続きを表示(約 1,000 文字)
【請求項2】
前記第一吸着剤には、シリカゲル、ゼオライト、金属有機構造体(MOF)、共有結合性有機構造体(COF)、活性炭のうち、いずれか一つ以上が含まれる請求項1に記載の二酸化炭素回収装置。
【請求項3】
前記第一吸着剤は、冷却または加熱を行わない常温状態で、前記気体に含まれる前記水分を吸着し、加熱により前記気体の温度を上げると、吸着した前記水分を脱着する特性を有する請求項2に記載の二酸化炭素回収装置。
【請求項4】
前記第二吸着剤には、アミン系材料、高分子材料、無機材料のうち、いずれか一つ又以上が含まれる請求項1に記載の二酸化炭素回収装置。
【請求項5】
前記第二吸着剤は、冷却または加熱を行わない常温状態で、前記気体に含まれる前記二酸化炭素を吸着し、前記気体が加熱された状態で、吸着した前記二酸化炭素を脱着する特性を有する請求項4に記載の二酸化炭素回収装置。
【請求項6】
前記第二吸着剤は、前記気体が除湿された状態で、前記気体に含まれる前記二酸化炭素を吸着し、前記気体が所定の湿度に加湿された状態で、吸着した前記二酸化炭素を脱着する特性を有する請求項4に記載の二酸化炭素回収装置。
【請求項7】
前記第一吸着剤または前記第二吸着剤は、それぞれ固体の状態または液体の状態で前記処理槽の内部に支持される請求項2または4に記載の二酸化炭素回収装置。
【請求項8】
前記第一吸着剤または前記第二吸着剤は、基材に担持された状態で前記処理槽の内部に支持され、
前記基材には、多孔質体、メンブレンフィルター、または粒状シリカのうち、いずれか一つ以上が含まれる請求項2または5に記載の二酸化炭素回収装置。
【請求項9】
前記処理槽に導入される前の気体に含まれる二酸化炭素の濃度を検出する第一濃度センサと、
前記処理槽で処理された処理後の気体に含まれる二酸化炭素の濃度を検出する第二濃度センサと、を更に備える請求項1に記載の二酸化炭素回収装置。
【請求項10】
前記第一濃度センサの検出結果と、前記第二濃度センサの検出結果とに基づいて、前記二酸化炭素を吸着する吸着処理、または吸着した前記二酸化炭素を脱着する脱着処理を切り替える制御装置を更に備える請求項9に記載の二酸化炭素回収装置。
(【請求項11】以降は省略されています)
発明の詳細な説明
【技術分野】
【0001】
開示の技術は二酸化炭素回収装置に関する。
続きを表示(約 1,300 文字)
【背景技術】
【0002】
特許文献1には、二酸化炭素を吸着した二酸化炭素吸着剤と脱着用蒸気とを接触させて、二酸化炭素吸着剤から脱離した二酸化炭素を回収するシステム及び方法が開示されている。
【先行技術文献】
【特許文献】
【0003】
特許7123749号明細書
【発明の概要】
【発明が解決しようとする課題】
【0004】
しかしながら、特許文献1の技術では、脱着用蒸気を発生させる蒸気発生装置を稼働するために一定量の水が必要になる。このため、システムを稼働する初期段階から相当量の水を外部のインフラなどから補給することが必要になる。
【0005】
システムを水資源が少ない場所で使用する場合、後工程で凝縮した蒸気を再利用することで、水の使用量を抑えることができる可能性があるが、脱着処理で必要とされる蒸気の全量を水に戻すためには0℃以下にする必要があり、エネルギー消費は増加し得る。
【0006】
また、凝縮水を再利用することを前提にしたとしても、処理気体の量の増加に伴い必要とされる蒸気量も増加し得る。このため、凝縮器から蒸気発生装置に凝縮水を戻すための輸送動力も増加するため、エネルギー消費は増加し得る。
【0007】
上記の課題を鑑みて、開示の技術は、エネルギー効率に優れた二酸化炭素回収技術を提供することを目的とする。そして、本発明の一つの側面は、持続可能な環境の改善および発展に寄与する技術を提供する。
【課題を解決するための手段】
【0008】
本発明の一態様の二酸化炭素回収装置は、処理槽に導入された気体に含まれる水分を吸着、または吸着した前記水分を脱着することが可能な第一吸着剤と、
前記第一吸着剤の下流に配され、前記気体に含まれる二酸化炭素を吸着、または吸着した前記二酸化炭素を脱着することが可能な第二吸着剤と、を有し、
前記第二吸着剤は、前記第一吸着剤から脱着した、前記水分の温度を加熱源として加熱され、または前記水分の湿度を加湿源として加湿されることにより、前記二酸化炭素を脱着する
【発明の効果】
【0009】
本発明によれば、エネルギー効率に優れた二酸化炭素回収技術を提供することができる。
【図面の簡単な説明】
【0010】
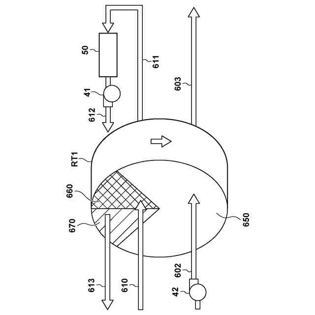
実施形態1に係る二酸化炭素回収装置の構成例を示す図。
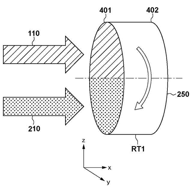
第1保持部RT1が回転する場合の吸着メカニズムを模式的に説明する図。
第1保持部RT1が回転する場合の吸着メカニズムを模式的に説明する図。
第1保持部RT1を回転させない場合の吸着メカニズムを模式的に説明する図。
パージで使用する領域を例示的に説明する図。
パージの対象領域を用いた装置の構成例を示す図。
実施形態2に係る二酸化炭素回収装置の構成例を示す図。
実施形態1、2に係る二酸化炭素回収装置の制御ブロック図。
【発明を実施するための形態】
(【0011】以降は省略されています)
この特許をJ-PlatPat(特許庁公式サイト)で参照する
関連特許
株式会社大気社
排気システム
17日前
株式会社大気社
気体処理装置
9日前
株式会社大気社
二酸化炭素回収装置
9日前
株式会社大気社
二酸化炭素回収装置
9日前
株式会社大気社
送風装置及び気体処理装置
9日前
株式会社大気社
剥離装置、剥離装置の制御方法及びプログラム
10日前
株式会社大気社
研磨材分離装置、研磨材分離装置の制御方法及びプログラム
12日前
株式会社大気社
制御装置、制御方法、制御プログラム、及びクリーンルームシステム
2か月前
株式会社西部技研
除湿装置
3日前
ユニチカ株式会社
複合中空糸膜
17日前
東レ株式会社
中空糸膜モジュール
16日前
株式会社ニクニ
液体処理装置
1か月前
日本化薬株式会社
メタノール改質触媒
1か月前
株式会社MRT
微細バブル発生装置
20日前
東京理化器械株式会社
クリップ
24日前
株式会社笹山工業所
濁水処理システム
20日前
個人
攪拌装置
20日前
大和ハウス工業株式会社
反応装置
10日前
ヤマシンフィルタ株式会社
フィルタ装置
18日前
ノリタケ株式会社
ガス吸収シート
1か月前
本田技研工業株式会社
ガス回収装置
12日前
大陽日酸株式会社
CO2の回収方法
12日前
杉山重工株式会社
回転円筒型反応装置
20日前
本田技研工業株式会社
二酸化炭素回収装置
18日前
本田技研工業株式会社
二酸化炭素回収装置
10日前
ノリタケ株式会社
触媒材料およびその利用
10日前
本田技研工業株式会社
二酸化炭素回収装置
10日前
本田技研工業株式会社
二酸化炭素回収装置
12日前
本田技研工業株式会社
二酸化炭素回収装置
5日前
株式会社インパクト
消臭剤又は消臭紙の製造方法
23日前
ノリタケ株式会社
触媒材料およびその利用
10日前
本田技研工業株式会社
二酸化炭素回収装置
10日前
本田技研工業株式会社
二酸化炭素回収装置
18日前
本田技研工業株式会社
二酸化炭素回収装置
16日前
本田技研工業株式会社
分離システム
20日前
本田技研工業株式会社
二酸化炭素回収装置
10日前
続きを見る
他の特許を見る