TOP
|
特許
|
意匠
|
商標
特許ウォッチ
Twitter
他の特許を見る
10個以上の画像は省略されています。
公開番号
2025150928
公報種別
公開特許公報(A)
公開日
2025-10-09
出願番号
2024052092
出願日
2024-03-27
発明の名称
剥離装置、剥離装置の制御方法及びプログラム
出願人
株式会社大気社
代理人
弁理士法人大塚国際特許事務所
主分類
B25J
15/06 20060101AFI20251002BHJP(手工具;可搬型動力工具;手工具用の柄;作業場設備;マニプレータ)
要約
【課題】対象物の形状に関わらず対象物を剥離できる適応的な剥離装置を提供する。
【解決手段】対象物を剥離する剥離装置であって、前記対象物を吸着可能な複数の吸着手段と、前記複数の吸着手段のうち前記対象物の吸着動作を実行する複数の吸着手段を選択する選択手段と、前記選択手段により選択された前記複数の吸着手段に前記吸着動作を実行させる吸着制御手段と、前記吸着動作が実行された前記対象物の回動動作を実行する回動制御手段とを備える。
【選択図】 図4
特許請求の範囲
【請求項1】
対象物を剥離する剥離装置であって、
前記対象物を吸着可能な複数の吸着手段と、
前記複数の吸着手段のうち前記対象物の吸着動作を実行する複数の吸着手段を選択する選択手段と、
前記選択手段により選択された前記複数の吸着手段に前記吸着動作を実行させる吸着制御手段と、
前記吸着動作が実行された前記対象物の回動動作を実行する回動制御手段と、
を備えることを特徴とする剥離装置。
続きを表示(約 1,100 文字)
【請求項2】
前記複数の吸着手段は、円の周上に配置されることを特徴とする請求項1に記載の剥離装置。
【請求項3】
前記複数の吸着手段は、前記円の周上に所定間隔で配置されることを特徴とする請求項2に記載の剥離装置。
【請求項4】
前記複数の吸着手段は、円の周上の複数の位置及び前記円の中心位置に配置されることを特徴とする請求項1に記載の剥離装置。
【請求項5】
前記選択手段は、前記複数の吸着手段のうち第1の吸着手段、第2の吸着手段及び第3の吸着手段を選択し、
前記第1の吸着手段は、前記回動動作を行う際の作用点に対応し、
前記第2の吸着手段及び前記第3の吸着手段は、前記回動動作を行う際の支点に対応することを特徴とする請求項1に記載の剥離装置。
【請求項6】
前記複数の吸着手段の各々は、
棒状部材と、
前記棒状部材の端部に配置された吸着パッドと、
前記棒状部材を駆動して吸着方向における前記棒状部材の位置を変更可能なアクチュエータと、
を備えることを特徴とする請求項1に記載の剥離装置。
【請求項7】
各アクチュエータを制御するアクチュエータ制御手段をさらに備え、
前記複数の吸着手段の各々は、センサをさらに備え、
前記アクチュエータ制御手段は、前記センサの検出結果に基づいて前記アクチュエータを制御し、前記棒状部材の位置を変更すること特徴とする請求項6に記載の剥離装置。
【請求項8】
前記アクチュエータ制御手段は、前記センサにより閾値以上の圧力が検出された場合、当該センサに対応する前記吸着パッドが前記対象物から離れる方向へ移動するように、前記棒状部材の位置を変更すること特徴とする請求項7に記載の剥離装置。
【請求項9】
前記アクチュエータは、エアシリンダであること特徴とする請求項6に記載の剥離装置。
【請求項10】
真空ポンプ又はエジェクタを制御する真空制御手段をさらに備え、
前記複数の吸着手段の各々は、吸着パッドを備え、
各吸着パッドは、前記真空ポンプ又は前記エジェクタと各流路を介して接続されており、
前記真空制御手段が前記対象物に接触した前記吸着パッドの内部の空気を吸引するように前記真空ポンプ又は前記エジェクタを制御することによって、前記吸着パッドが前記対象物に吸着することを特徴とする請求項1に記載の剥離装置。
(【請求項11】以降は省略されています)
発明の詳細な説明
【技術分野】
【0001】
本発明は、剥離装置、剥離装置の制御方法及びプログラムに関する。
続きを表示(約 1,600 文字)
【背景技術】
【0002】
特許文献1は、吸着面が下方を臨むようにフレーム12に取り付けられた複数の吸着パッド11を開示している。各吸着パッド11は、吸着用エア回路を用いて個別に吸引力が導かれることによって、吸引力により対象物を吸着把持することができるように構成されている。
【先行技術文献】
【特許文献】
【0003】
特開2010-37076号公報
【発明の概要】
【発明が解決しようとする課題】
【0004】
しかしながら、特許文献1に記載の技術を端材(余分なフィルム等)の剥離に用いると、格子状に配置された複数の吸着パッド全体で吸着を行うため、剥離したい位置のフィルム形状によって剥離が失敗する可能性があるという課題がある。
【0005】
本発明は、上記の課題を解決するためになされたものであり、対象物の形状に関わらず対象物を剥離できる適応的な剥離装置を提供することを目的とする。
【課題を解決するための手段】
【0006】
上記の目的を達成する本発明の一態様による剥離装置は、
対象物を剥離する剥離装置であって、
前記対象物を吸着可能な複数の吸着手段と、
前記複数の吸着手段のうち前記対象物の吸着動作を実行する複数の吸着手段を選択する選択手段と、
前記選択手段により選択された前記複数の吸着手段に前記吸着動作を実行させる吸着制御手段と、
前記吸着動作が実行された前記対象物の回動動作を実行する回動制御手段と、
を備えることを特徴とする。
【発明の効果】
【0007】
本発明によれば、対象物の形状に関わらず対象物を剥離できる適応的な剥離装置を提供することが可能となる。
【図面の簡単な説明】
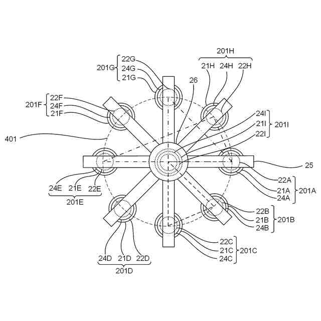
【0008】
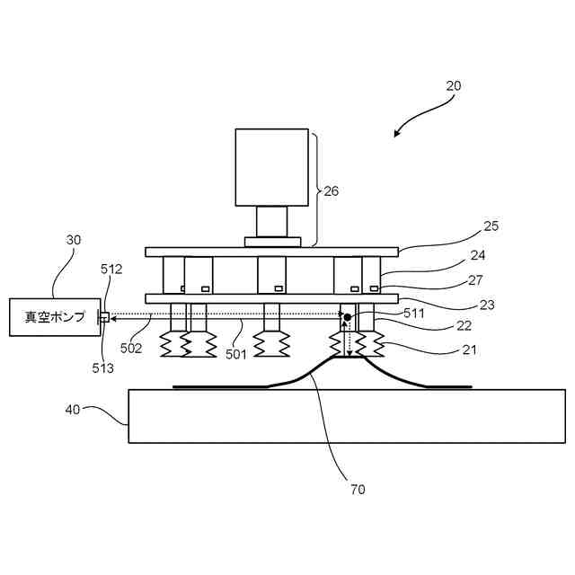
一実施形態に係る剥離装置の構成例を示す図。
一実施形態に係る吸着装置の側面図。
一実施形態に係る吸着装置における吸着位置の変化の様子を示す図。
一実施形態に係る吸着装置の平面図。
一実施形態に係る吸着装置の真空吸着の説明図。
一実施形態に係る、選択された一部の吸着部を用いた吸着動作の説明図。
一実施形態に係る回動動作の説明図。
一実施形態に係る吸着部の選択の一例を示す図。
一実施形態に係る吸着部の選択の一例を示す図。
一実施形態に係る吸着部の選択の一例を示す図。
一実施形態に係る吸着部の選択の一例を示す図。
一実施形態に係る制御装置の構成例を示す図。
一実施形態に係る剥離装置が実施する処理の手順を示すフローチャート。
【発明を実施するための形態】
【0009】
以下、添付図面を参照して実施形態を詳しく説明する。なお、以下の実施形態は特許請求の範囲に係る発明を限定するものではなく、また実施形態で説明されている特徴の組み合わせの全てが発明に必須のものとは限らない。実施形態で説明されている複数の特徴のうち二つ以上の特徴は任意に組み合わされてもよい。また、同一若しくは同様の構成には同一の参照番号を付し、重複した説明は省略する。
【0010】
<システム構成>
図1は、一実施形態に係る剥離装置の構成例を示す図である。載置台40の上に治具50が載置され、且つ治具50の上にワーク60が載置された状態で、ワーク60に対してフィルム70が真空貼付装置(不図示)によって貼り付けられた後、剥離装置1が不要なフィルム70a、70bを吸着して剥離を行う。本実施形態では、吸着して剥離する対象物は、ワーク60に貼り付けられたフィルム70の端材であるが、対象物は種々の端材であってもよい。すなわち、本実施形態は、様々な端材を吸着して回収する端材回収装置に適用することができる。
(【0011】以降は省略されています)
この特許をJ-PlatPat(特許庁公式サイト)で参照する
関連特許
株式会社大気社
排気システム
17日前
株式会社大気社
気体処理装置
9日前
株式会社大気社
二酸化炭素回収装置
9日前
株式会社大気社
二酸化炭素回収装置
9日前
株式会社大気社
送風装置及び気体処理装置
9日前
株式会社大気社
剥離装置、剥離装置の制御方法及びプログラム
10日前
株式会社大気社
研磨材分離装置、研磨材分離装置の制御方法及びプログラム
12日前
個人
固定補助具
1か月前
個人
折りたたみ工具
1か月前
個人
フラワーホッチキス。
5日前
川崎重工業株式会社
ロボット
18日前
株式会社三協システム
製函機
1か月前
株式会社三協システム
移載装置
1か月前
株式会社不二越
ロボット
17日前
株式会社竹中工務店
補助セット
17日前
CKD株式会社
把持装置
1か月前
川崎重工業株式会社
ハンド
9日前
株式会社不二越
ロボット操作装置
1か月前
株式会社不二越
ロボットシステム
1か月前
太陽パーツ株式会社
アシストスーツ
1か月前
株式会社ミクロブ
把持装置
1か月前
日本精工株式会社
締結用工具
1か月前
SMC株式会社
着脱装置
1か月前
ARMA株式会社
ジョイントフレーム
1か月前
トヨタ自動車株式会社
ロボット
12日前
株式会社不二越
移動ロボットシステム
20日前
工機ホールディングス株式会社
作業機
9日前
株式会社不二越
ロボットシステム
1か月前
株式会社不二越
ロボットシステム
1か月前
川崎重工業株式会社
塗装システム
9日前
本田技研工業株式会社
装置
23日前
株式会社不二越
エッジ仕上げ装置
1か月前
株式会社不二越
垂直多関節ロボット
1か月前
トヨタ自動車株式会社
歩行ロボット
1か月前
トヨタ自動車株式会社
軌道生成装置
12日前
ダイハツ工業株式会社
移載治具
1か月前
続きを見る
他の特許を見る