TOP
|
特許
|
意匠
|
商標
特許ウォッチ
Twitter
他の特許を見る
公開番号
2025147986
公報種別
公開特許公報(A)
公開日
2025-10-07
出願番号
2024048535
出願日
2024-03-25
発明の名称
研磨材分離装置、研磨材分離装置の制御方法及びプログラム
出願人
株式会社大気社
代理人
弁理士法人大塚国際特許事務所
主分類
B24B
45/00 20060101AFI20250930BHJP(研削;研磨)
要約
【課題】研磨材を傷つけることなく高精度に分離するための技術を提供する。
【解決手段】研磨材が装着される装着部と、当該装着部に装着されている研磨材と、の間に挿入される分離部材と、前記研磨材が装着されている前記装着部と、前記分離部材と、を相対移動させることによって前記装着部と前記研磨材との間に前記分離部材が挿入される状態にする制御手段と、を備える研磨材分離装置であって、前記分離部材に対して前記装着部の反対側に配され、前記分離部材によって前記装着部から一部が分離された研磨材と接触する分離補助部材を備える。
【選択図】 図3
特許請求の範囲
【請求項1】
研磨材が装着される装着部と、当該装着部に装着されている研磨材と、の間に挿入される分離部材と、
前記研磨材が装着されている前記装着部と、前記分離部材と、を相対移動させることによって前記装着部と前記研磨材との間に前記分離部材が挿入される状態にする制御手段と、
を備える研磨材分離装置であって、
前記分離部材に対して前記装着部の反対側に配され、前記分離部材によって前記装着部から一部が分離された研磨材と接触する分離補助部材を備えることを特徴とする研磨材分離装置。
続きを表示(約 950 文字)
【請求項2】
前記制御手段は、
前記装着部及び前記研磨材を第1の方向に移動させて、前記研磨材の縁部を前記分離部材の端部に接触させ、
前記縁部が前記端部に接触した後、前記装着部及び前記研磨材を前記第1の方向と交差する第2の方向にさらに移動させ、
前記第2の方向への移動後、前記装着部及び前記研磨材を再び前記第1の方向に移動させて前記装着部と前記研磨材との間に前記分離部材を挿入することを特徴とする請求項1に記載の研磨材分離装置。
【請求項3】
前記第1の方向は、前記第2の方向と垂直であることを特徴とする請求項2に記載の研磨材分離装置。
【請求項4】
前記第1の方向は、鉛直下方であり、前記第2の方向は、水平方向であることを特徴とする請求項2に記載の研磨材分離装置。
【請求項5】
前記研磨材の面積は、前記研磨材と前記装着部との接触面の面積よりも大きいことを特徴とする請求項2に記載の研磨材分離装置。
【請求項6】
前記研磨材の分離動作の終了後に、前記装着部から前記研磨材が分離されたか否かを判定する判定手段をさらに備えることを特徴とする請求項1に記載の研磨材分離装置。
【請求項7】
前記判定手段により前記装着部から前記研磨材が分離されていないと判定された場合に報知を行う報知手段をさらに備えることを特徴とする請求項6に記載の研磨材分離装置。
【請求項8】
前記分離部材及び前記分離補助部材は、鉛直方向に延在し、
前記制御手段は、前記装着部及び前記研磨材を鉛直下方に移動させて、前記装着部と前記研磨材との間に前記分離部材を挿入することを特徴とする請求項1に記載の研磨材分離装置。
【請求項9】
前記装着部と前記研磨材との間に前記分離部材が挿入される際に、前記研磨材は、前記分離部材と前記分離補助部材との間に進入することを特徴とする請求項1に記載の研磨材分離装置。
【請求項10】
前記分離補助部材は、前記分離部材と平行に配置されていることを特徴とする請求項1に記載の研磨材分離装置。
(【請求項11】以降は省略されています)
発明の詳細な説明
【技術分野】
【0001】
本発明は、研磨材分離装置、研磨材分離装置の制御方法及びプログラムに関する。
続きを表示(約 1,300 文字)
【背景技術】
【0002】
特許文献1は、2つの把持機構(クランプ装置)により研磨パッド(研磨材)を挟み込んだ状態で、研磨パッド取付板を含むロボットの端部を研磨パッドから離間させることで、研磨パッド取付板から研磨パッドを取り外すことを開示している。
【先行技術文献】
【特許文献】
【0003】
独国特許出願公開第102020122114号明細書
【発明の概要】
【発明が解決しようとする課題】
【0004】
しかしながら、特許文献1に記載の技術では、研磨パッドを強い力で挟持するため、研磨パッドが損傷してしまう可能性がある。その場合、研磨パッドを再利用することが難しくなる。
【0005】
本発明は、上記の課題を解決するためになされたものであり、研磨パッド等の研磨材を傷つけることなく高精度に分離するための技術を提供することを目的とする。
【課題を解決するための手段】
【0006】
上記の目的を達成する本発明の一態様による研磨材分離装置は、
研磨材が装着される装着部と、当該装着部に装着されている研磨材と、の間に挿入される分離部材と、
前記研磨材が装着されている前記装着部と、前記分離部材と、を相対移動させることによって前記装着部と前記研磨材との間に前記分離部材が挿入される状態にする制御手段と、
を備える研磨材分離装置であって、
前記分離部材に対して前記装着部の反対側に配され、前記分離部材によって前記装着部から一部が分離された研磨材と接触する分離補助部材を備えることを特徴とする。
【発明の効果】
【0007】
本発明によれば、研磨材を傷つけることなく高精度に分離することが可能となる。
【図面の簡単な説明】
【0008】
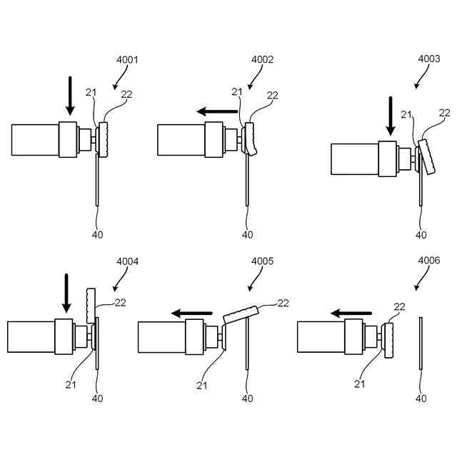
一実施形態に係る研磨材分離装置の全体構成を示す図。
一実施形態に係る制御装置の構成例を示す図。
一実施形態に係る研磨材分離処理の説明図。
一実施形態に係る研磨材分離処理の別の説明図。
一実施形態に係る検出部(測距センサ)の動作説明図。
一実施形態に係る部材の具体例を示す図。
一実施形態に係る検出部(光電センサ)の動作説明図。
【発明を実施するための形態】
【0009】
以下、添付図面を参照して実施形態を詳しく説明する。なお、以下の実施形態は特許請求の範囲に係る発明を限定するものではなく、また実施形態で説明されている特徴の組み合わせの全てが発明に必須のものとは限らない。実施形態で説明されている複数の特徴のうち二つ以上の特徴は任意に組み合わされてもよい。また、同一若しくは同様の構成には同一の参照番号を付し、重複した説明は省略する。
【0010】
<研磨材分離装置の全体構成>
まず図1を参照して、本実施形態に係る研磨材分離装置の全体構成を説明する。研磨材分離装置10は、ロボット20と、制御装置30と、分離部材(第1の部材)40と、分離補助部材(第2の部材)50と、検出部60とを備える。
(【0011】以降は省略されています)
この特許をJ-PlatPat(特許庁公式サイト)で参照する
関連特許
株式会社大気社
排気システム
17日前
株式会社大気社
気体処理装置
9日前
株式会社大気社
二酸化炭素回収装置
9日前
株式会社大気社
二酸化炭素回収装置
9日前
株式会社大気社
送風装置及び気体処理装置
9日前
株式会社大気社
剥離装置、剥離装置の制御方法及びプログラム
10日前
株式会社大気社
研磨材分離装置、研磨材分離装置の制御方法及びプログラム
12日前
株式会社大気社
制御装置、制御方法、制御プログラム、及びクリーンルームシステム
2か月前
個人
包丁研ぎ器具
2か月前
株式会社松風
研磨用ゴム砥石
9日前
個人
研磨体
4か月前
株式会社サンポー
ブラスト装置
5か月前
株式会社クボタ
管研削装置
3か月前
株式会社東京精密
研削装置
5日前
株式会社村田製作所
切削装置
4か月前
株式会社ディスコ
被加工物の加工方法
1か月前
ノリタケ株式会社
超砥粒ホイール
9日前
不二空機株式会社
可搬型動力工具
4か月前
株式会社東京精密
加工方法
11日前
シンクス株式会社
ボード切断装置
4か月前
株式会社東京精密
加工装置
9日前
株式会社ニッチュー
ブラスト装置
3か月前
株式会社東京精密
加工装置
11日前
大同特殊鋼株式会社
疵研削順序決定方法
5か月前
オークマ株式会社
円筒研削盤
3か月前
秀和工業株式会社
処理装置および処理方法
1か月前
株式会社ディスコ
砥石
4か月前
トヨタ自動車株式会社
回転砥石の製造方法
2か月前
ノリタケ株式会社
研磨パッド
9日前
富士紡ホールディングス株式会社
研磨パッド
5日前
富士紡ホールディングス株式会社
研磨パッド
5日前
富士紡ホールディングス株式会社
研磨パッド
5日前
富士紡ホールディングス株式会社
研磨パッド
5日前
株式会社ディスコ
加工方法、及び、切削装置
6か月前
株式会社東京精密
研削装置
1か月前
株式会社アイドゥス企画
受動変形内面研磨ホイール
2か月前
続きを見る
他の特許を見る