TOP
|
特許
|
意匠
|
商標
特許ウォッチ
Twitter
他の特許を見る
10個以上の画像は省略されています。
公開番号
2025154556
公報種別
公開特許公報(A)
公開日
2025-10-10
出願番号
2024057620
出願日
2024-03-29
発明の名称
読取装置及び情報提供システム
出願人
キヤノン株式会社
代理人
弁理士法人大塚国際特許事務所
主分類
G06K
7/10 20060101AFI20251002BHJP(計算;計数)
要約
【課題】無線通信を通じて収集される有用な情報を維持しつつ、冗長な情報をできる限り削減することを可能にすること。
【解決手段】読取装置は、読取レンジ内の無線デバイスからの情報の読み取りを周期的に試行する読取手段と、記憶手段と、前記読取手段により第1無線デバイスから第1識別情報が読み取られた場合に、少なくとも前記第1識別情報及び前記第1識別情報の読取時刻を示す読取結果を前記記憶手段に記憶させる制御手段と、を備える。前記制御手段は、前記第1無線デバイスから前記第1識別情報が複数回読み取られた場合に、前記読取レンジへ前記第1無線デバイスが進入した進入時点に対応する第1読取結果、及び前記読取レンジから前記第1無線デバイスが離脱した離脱時点に対応する第2読取結果を、前記複数回の読み取りに対応する読取結果から選択的に前記記憶手段に記憶させる。
【選択図】図6
特許請求の範囲
【請求項1】
読取レンジ内の無線デバイスからの情報の読み取りを周期的に試行する読取手段と、
記憶手段と、
前記読取手段により第1無線デバイスから第1識別情報が読み取られた場合に、少なくとも前記第1識別情報及び前記第1識別情報の読取時刻を示す読取結果を前記記憶手段に記憶させる制御手段と、
を備え、
前記制御手段は、前記第1無線デバイスから前記第1識別情報が複数回読み取られた場合に、前記読取レンジへ前記第1無線デバイスが進入した進入時点に対応する第1読取結果、及び前記読取レンジから前記第1無線デバイスが離脱した離脱時点に対応する第2読取結果を、前記複数回の読み取りに対応する読取結果から選択的に前記記憶手段に記憶させ、
前記第1読取結果及び前記第2読取結果を選択的に前記記憶手段に記憶させることは、
前記第1読取結果及び前記第2読取結果に該当しない少なくとも1つの読取結果を前記記憶手段に記憶させないこと、及び、
前記記憶手段に一時的に記憶される読取結果のうち前記第1読取結果及び前記第2読取結果に該当しない少なくとも1つの読取結果を前記記憶手段から削除すること、
のうちの少なくとも一方を含む、
読取装置。
続きを表示(約 1,300 文字)
【請求項2】
前記読取装置は、外部装置と通信する通信手段、をさらに備え、
前記制御手段は、前記記憶手段から読み出される前記第1読取結果及び前記第2読取結果を、前記通信手段を介して前記外部装置へ送信する、
請求項1に記載の読取装置。
【請求項3】
前記制御手段は、前記外部装置へ送信される読取結果の各々に、当該読取結果が前記進入時点に対応すること、又は当該読取結果が前記離脱時点に対応することを示す情報を含める、請求項2に記載の読取装置。
【請求項4】
前記制御手段は、前記第1読取結果の読取時刻を終点とする第1時間ウィンドウ内に、前記第1識別情報に関連付けられる他の読取結果が存在しないことに基づいて、前記第1読取結果は前記進入時点に対応すると判定する、請求項1に記載の読取装置。
【請求項5】
前記制御手段は、前記第2読取結果の読取時刻を始点とする第2時間ウィンドウ内に、前記第1識別情報に関連付けられる他の読取結果が存在しないことに基づいて、前記第2読取結果は前記離脱時点に対応すると判定する、請求項4に記載の読取装置。
【請求項6】
前記読取手段は、無線デバイスから受信される信号について受信信号強度を測定し、
各読取結果は、前記読取手段により測定された前記受信信号強度をさらに示し、
前記制御手段は、各読取結果が前記進入時点又は前記離脱時点に対応するかを判定する際に、前記受信信号強度が基準値よりも大きい値を示す読取結果のみを考慮する、
請求項4に記載の読取装置。
【請求項7】
前記制御手段は、前記進入時点から前記離脱時点までの期間中に前記第1無線デバイスから前記第1識別情報が1回以上読み取られた場合に、当該1回以上の読み取りに対応する読取結果から第1時間長が経過するごとに1つの第3読取結果をさらに前記記憶手段に記憶させる、請求項1に記載の読取装置。
【請求項8】
前記読取装置は、外部装置と通信する通信手段、をさらに備え、
前記制御手段は、
前記通信手段と前記外部装置との間の通信接続が有効である場合に、前記第1時間長を第1の値に設定し、
前記通信手段と前記外部装置との間の通信接続が有効でない場合に、前記第1時間長を前記第1の値よりも大きい第2の値に設定し、
前記通信手段と前記外部装置との間の通信接続が有効である期間中に、前記記憶手段から読み出される前記第1読取結果、前記第2読取結果、及び前記第3読取結果を、前記通信手段を介して前記外部装置へ送信する、
請求項7に記載の読取装置。
【請求項9】
前記読取装置は、
前記読取装置の相対的な移動量を測定する測定手段、
をさらに備え、
前記制御手段は、前記進入時点から前記離脱時点までの期間中に、前記相対的な移動量の変化に基づいて選択される第3読取結果をさらに前記記憶手段に記憶させる、
請求項1に記載の読取装置。
【請求項10】
前記第1無線デバイスは、実空間において移動可能な管理対象に付される、請求項1に記載の読取装置。
(【請求項11】以降は省略されています)
発明の詳細な説明
【技術分野】
【0001】
本開示は、読取装置及び情報提供システムに関する。
続きを表示(約 2,600 文字)
【背景技術】
【0002】
RFID(Radio Frequency IDentification)は、タグとも呼ばれる小型のデバイス内に埋め込まれた情報を近距離無線通信によって外部のリーダから読取ることを可能にする技術である。例えば、一意な識別情報を埋め込んだRFIDタグを物品に付しておくことで、物品の所在を効率的に把握することが可能となり、管理下にある物品の情報を可視化することも容易となる。なかでも、リーダから放射される電磁波のエネルギーを利用して情報を送信するパッシブ型RFIDタグは、バッテリが不要であるために製造コストが安く、また半永久的に動作できることから、様々な場面での活用が広がっている。
【0003】
特許文献1は、実空間内で移動可能な物品及びユーザといった管理対象の位置情報を可視化するシステムの一例を開示している。特許文献1のシステムでは、実空間内にRFIDタグ(位置タグ)が固定的に設置され、管理対象にRFIDタグ(対象タグ)が付され、タグリーダによりそれらRFIDタグから読み取られた情報に基づいて、管理対象の最新の位置が推定される。
【0004】
特許文献2は、勤怠管理の用途において、管理対象であるユーザ(従業員)の操作負担を軽減するためにRFIDタグを活用するシステムの一例を開示している。特許文献2のシステムでは、ユーザが作業場所に滞在している間に、作業場所の近傍に設置されたリーダライタが、ユーザにより携帯されるRFIDタグのメモリに作業開始時刻及び作業終了時刻を示す時間情報を書き込む。
【先行技術文献】
【特許文献】
【0005】
特開2024-25974号公報
特許第4626937号公報
【発明の概要】
【発明が解決しようとする課題】
【0006】
特許文献1に記載されたタグリーダのように、ユーザ操作に依拠せず周期的にRFIDタグから情報を読み取る構成を採用する場合、読み取りの頻度が高いほど、情報の追跡性能が向上する一方で、より多くの冗長な情報が装置内に蓄積される。利用可能なメモリ又は通信の容量に制限のある状況では、冗長な情報はできる限り削減されることが望ましい。
【0007】
本発明は、上述した点に鑑み、無線通信を通じて収集される有用な情報を維持しつつ、冗長な情報をできる限り削減することの可能な仕組みを提供しようとするものである。
【課題を解決するための手段】
【0008】
ある観点によれば、読取レンジ内の無線デバイスからの情報の読み取りを周期的に試行する読取手段と、記憶手段と、上記読取手段により第1無線デバイスから第1識別情報が読み取られた場合に、少なくとも上記第1識別情報及び上記第1識別情報の読取時刻を示す読取結果を上記記憶手段に記憶させる制御手段と、を備える読取装置が提供される。上記制御手段は、上記第1無線デバイスから上記第1識別情報が複数回読み取られた場合に、上記読取レンジへ上記第1無線デバイスが進入した進入時点に対応する第1読取結果、及び上記読取レンジから上記第1無線デバイスが離脱した離脱時点に対応する第2読取結果を、上記複数回の読み取りに対応する読取結果から選択的に上記記憶手段に記憶させる。上記第1読取結果及び上記第2読取結果を選択的に上記記憶手段に記憶させることは、上記第1読取結果及び上記第2読取結果に該当しない少なくとも1つの読取結果を上記記憶手段に記憶させないこと、及び、上記記憶手段に一時的に記憶される読取結果のうち上記第1読取結果及び上記第2読取結果に該当しない少なくとも1つの読取結果を上記記憶手段から削除すること、のうちの少なくとも一方を含む。上記読取装置と、上記読取装置から上記第1読取結果及び上記第2読取結果を受信する情報処理装置と、を含む情報提供システムであって、上記情報処理装置は、上記第1読取結果及び上記第2読取結果に基づく位置情報をユーザへ提供する、情報提供システムもまた提供される。
【発明の効果】
【0009】
本発明によれば、無線通信を通じて収集される有用な情報を維持しつつ、冗長な情報をできる限り削減することができる。
【図面の簡単な説明】
【0010】
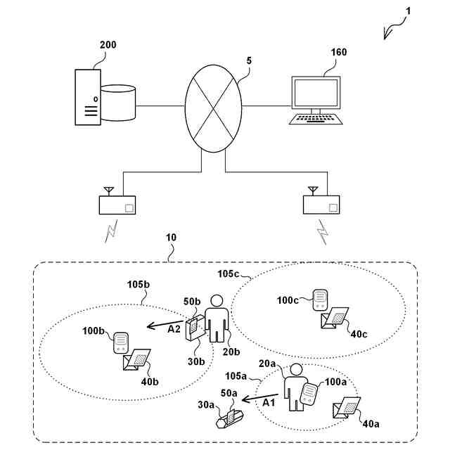
一実施形態に係る情報管理システムの構成の一例を示す模式図。
一実施形態に係るタグリーダの構成の一例を示すブロック図。
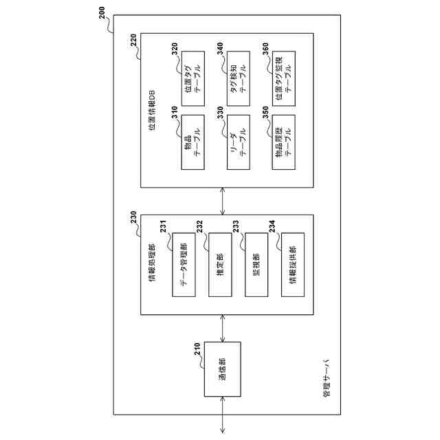
一実施形態に係る管理サーバの構成の一例を示すブロック図。
一実施形態に係る物品テーブルの構成の一例を示す説明図。
一実施形態に係る位置タグテーブルの構成の一例を示す説明図。
一実施形態に係るリーダテーブルの構成の一例を示す説明図。
一実施形態に係るタグ検知テーブルの構成の一例を示す説明図。
一実施形態に係る物品履歴テーブルの構成の一例を示す説明図。
一実施形態に係る位置タグ監視テーブルの構成の一例を示す説明図。
タグリーダにより実行され得る読取試行処理の流れの一例を示すフローチャート。
第1実施例における読取結果の選択についての説明図。
第1実施例に係るデータ選択処理の流れの一例を示すフローチャート。
第1実施例の変形例における読取結果の選択についての説明図。
第2実施例における読取結果の選択についての説明図。
第2実施例に係るデータ選択処理の流れの一例を示すフローチャート。
第3実施例における読取結果の選択についての説明図。
第3実施例に係るデータ選択処理の流れの一例を示すフローチャート。
第3実施例の変形例における位置タグの監視についての説明図。
第4実施例における読取結果の選択についての説明図。
中継装置を介するタグリーダから管理サーバへの通信の一例についての説明図。
第5実施例における読取結果の選択についての説明図。
管理サーバにより実行され得る位置推定処理の流れの一例を示すフローチャート。
【発明を実施するための形態】
(【0011】以降は省略されています)
この特許をJ-PlatPat(特許庁公式サイト)で参照する
関連特許
キヤノン株式会社
トナー
9日前
キヤノン株式会社
トナー
14日前
キヤノン株式会社
トナー
9日前
キヤノン株式会社
トナー
9日前
キヤノン株式会社
電子機器
16日前
キヤノン株式会社
記録装置
1か月前
キヤノン株式会社
定着装置
1か月前
キヤノン株式会社
定着装置
1か月前
キヤノン株式会社
現像装置
7日前
キヤノン株式会社
現像容器
7日前
キヤノン株式会社
現像装置
7日前
キヤノン株式会社
現像容器
7日前
キヤノン株式会社
撮像装置
1か月前
キヤノン株式会社
電子機器
1か月前
キヤノン株式会社
撮影装置
7日前
キヤノン株式会社
記録装置
7日前
キヤノン株式会社
発光装置
21日前
キヤノン株式会社
定着装置
8日前
キヤノン株式会社
定着装置
28日前
キヤノン株式会社
電子機器
22日前
キヤノン株式会社
測距装置
2日前
キヤノン株式会社
表示装置
21日前
キヤノン株式会社
撮像装置
29日前
キヤノン株式会社
撮像装置
10日前
キヤノン株式会社
記録装置
29日前
キヤノン株式会社
撮像装置
28日前
キヤノン株式会社
収容装置
22日前
キヤノン株式会社
撮像装置
22日前
キヤノン株式会社
撮像装置
14日前
キヤノン株式会社
記録装置
14日前
キヤノン株式会社
定着装置
22日前
キヤノン株式会社
定着装置
1か月前
キヤノン株式会社
電子機器
18日前
キヤノン株式会社
電子機器
22日前
キヤノン株式会社
電子機器
1か月前
キヤノン株式会社
半導体装置
16日前
続きを見る
他の特許を見る