TOP
|
特許
|
意匠
|
商標
特許ウォッチ
Twitter
他の特許を見る
10個以上の画像は省略されています。
公開番号
2025154765
公報種別
公開特許公報(A)
公開日
2025-10-10
出願番号
2024057949
出願日
2024-03-29
発明の名称
コンデンサユニット
出願人
本田技研工業株式会社
代理人
弁理士法人磯野国際特許商標事務所
主分類
H01G
4/32 20060101AFI20251002BHJP(基本的電気素子)
要約
【課題】コンデンサを好適に冷却することが可能なコンデンサユニットを提供する。
【解決手段】コンデンサユニットは、一列に配列されており、軸方向の一端部にメタリコン電極32Aを有する複数のコンデンサ30と、複数のコンデンサ30が収容される収容ケースと、を備え、複数のコンデンサ30は、メタリコン電極32Aが一方に向けられた姿勢で、当該コンデンサ30の軸方向と交差する方向に配列されており、収容ケースは、隣り合う2つのコンデンサ30の間に介在するリブを備え、収容ケースのうち、メタリコン電極32Aと対向する底壁部61は、冷媒流路R1の一部を構成する。
【選択図】図11
特許請求の範囲
【請求項1】
一列に配列されており、軸方向の一端部にメタリコン電極を有する複数のコンデンサと、複数の前記コンデンサが収容される収容ケースと、を備え、
複数の前記コンデンサは、前記メタリコン電極が一方に向けられた姿勢で、当該コンデンサの前記軸方向と交差する方向に配列されており、
前記収容ケースは、隣り合う2つの前記コンデンサの間に介在するリブを備え、
前記収容ケースのうち、前記メタリコン電極と対向する壁部は、冷媒の流路の一部を構成する
ことを特徴とするコンデンサユニット。
続きを表示(約 150 文字)
【請求項2】
前記リブは、前記壁部と繋がっている
ことを特徴とする請求項1に記載のコンデンサユニット。
【請求項3】
前記リブは、前記コンデンサの軸方向の他端部と対向する前記収容ケースの他の壁部と繋がっている
ことを特徴とする請求項2に記載のコンデンサユニット。
発明の詳細な説明
【技術分野】
【0001】
本発明は、複数のコンデンサを一体化したコンデンサユニットに関する。
続きを表示(約 1,800 文字)
【背景技術】
【0002】
特許文献1には、複数のコンデンサ(容量素子)が共通パッケージ化されており、かかる共通パッケージが筐体に取り付けられている構造が記載されている。かかる共通パッケージは、スリット部と、当該スリット部において筐体の内壁に接続固定するための固定部と、を備える。また、筐体は、共通パッケージから離間した壁部に冷却部が形成されている。かかる構造において、コンデンサで発生した熱は、固定部及び筐体を介して冷却部へ伝達され、冷却部において熱交換される。
【先行技術文献】
【特許文献】
【0003】
特許第5821956号公報
【発明の概要】
【発明が解決しようとする課題】
【0004】
前記した構造は、コンデンサの冷却よりも、筐体部において当該冷却部の近傍に収容されるコンバータ及びインバータの冷却を優先したものであった。
【0005】
本発明は、前記の点に鑑みてなされたものであり、コンデンサを好適に冷却することが可能なコンデンサユニットを提供することを課題とする。
【課題を解決するための手段】
【0006】
前記した課題を解決するために、本発明のコンデンサユニットは、一列に配列されており、軸方向の一端部にメタリコン電極を有する複数のコンデンサと、複数の前記コンデンサが収容される収容ケースと、を備え、複数の前記コンデンサは、前記メタリコン電極が一方に向けられた姿勢で、当該コンデンサの前記軸方向と交差する方向に配列されており、前記収容ケースは、隣り合う2つの前記コンデンサの間に介在するリブを備え、前記収容ケースのうち、前記メタリコン電極と対向する壁部は、冷媒の流路の一部を構成することを特徴とする。
【発明の効果】
【0007】
本発明によると、コンデンサユニットにおいて、コンデンサを好適に冷却することができる。
【図面の簡単な説明】
【0008】
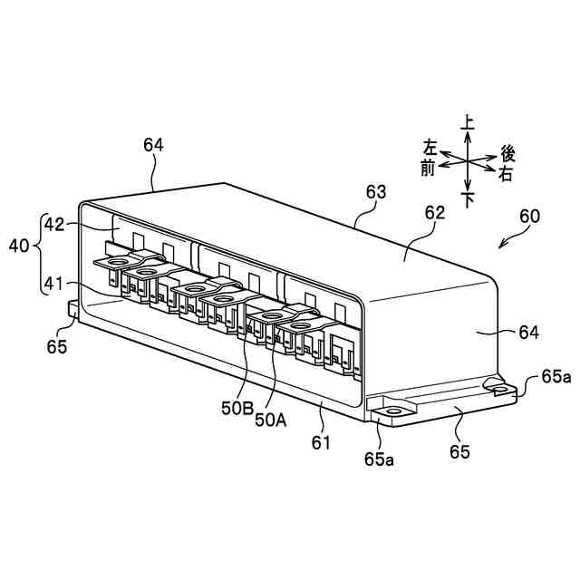
本発明の実施形態に係る電気部品冷却構造が適用された昇圧器を模式的に示す斜視図である。
本発明の実施形態に係るコンデンサユニットを模式的に示す斜視図である。
本発明の実施形態に係るコンデンサユニットを模式的に示す平面図である。
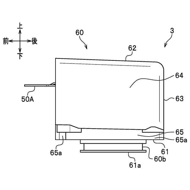
本発明の実施形態に係るコンデンサユニットを模式的に示す側面図である。
本発明の実施形態に係るコンデンサユニットを模式的に示す底面図である。
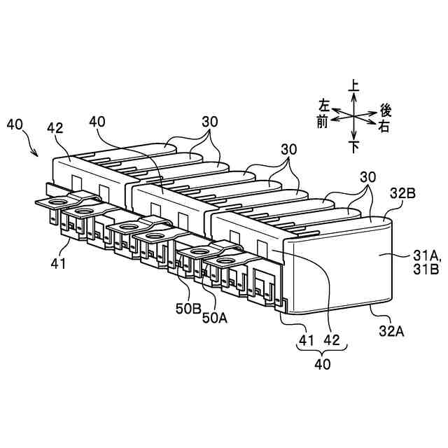
本発明の実施形態に係るコンデンサ、保持部材及びバスバの組立体を模式的に示す斜視図である。
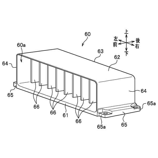
本発明の実施形態に係る収容ケースを模式的に示す斜視図である。
本発明の実施形態に係る収容ケースを模式的に示す正面図である。
本発明の実施形態に係るコンデンサユニットから樹脂部を除いた状態を模式的に示す斜視図である。
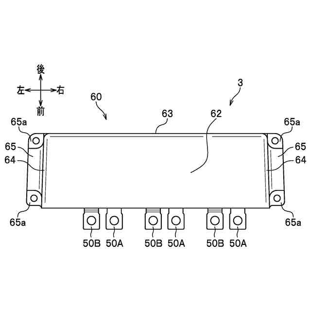
本発明の実施形態に係るコンデンサユニットから樹脂部を除いた状態を模式的に示す正面図である。
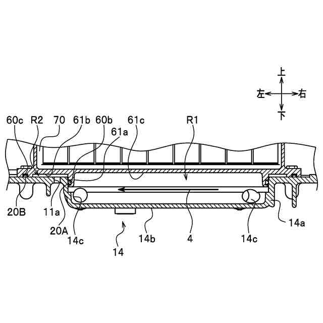
図1のXI-XI線断面図であり、本発明の実施形態に係る電気部品冷却構造を模式的に示す断面図である。
図11の部分拡大図である。
【発明を実施するための形態】
【0009】
次に、本発明の実施形態について、本発明の電気部品冷却構造を車両における昇圧器(VCU:Voltage Control Unit)を構成する電気部品を冷却する場合を例にとり、適宜図面を参照しながら詳細に説明する。本発明の電気部品冷却構造が適用される車両としては、モータを動力源とする電動車(電気自動車等)が挙げられる。また、電気部品としては、コンデンサ等が挙げられる。
【0010】
以下の説明において、上下方向は、昇圧器が車両に設置された状態を基準とする。また、上下方向に直交する方向である前後方向及び左右方向は、コンデンサが収容される収容ケースを基準としており、前後方向は収容ケースの奥行方向であり、左右方向は収容ケースの幅方向である。すなわち、本実施形態で用いられる前後方向及び左右方向は、車両の前後方向及び左右方向と一致するとは限らない。
(【0011】以降は省略されています)
この特許をJ-PlatPat(特許庁公式サイト)で参照する
関連特許
本田技研工業株式会社
車両
13日前
本田技研工業株式会社
車両
13日前
本田技研工業株式会社
車両
6日前
本田技研工業株式会社
内燃機関
13日前
本田技研工業株式会社
触媒装置
9日前
本田技研工業株式会社
固体電池
9日前
本田技研工業株式会社
発電セル
13日前
本田技研工業株式会社
排気装置
13日前
本田技研工業株式会社
排気装置
13日前
本田技研工業株式会社
除草装置
13日前
本田技研工業株式会社
排気装置
13日前
本田技研工業株式会社
固体電池
13日前
本田技研工業株式会社
二次電池
9日前
本田技研工業株式会社
全固体電池
9日前
本田技研工業株式会社
リアクトル
13日前
本田技研工業株式会社
鞍乗型車両
13日前
本田技研工業株式会社
電極積層体
13日前
本田技研工業株式会社
全固体電池
9日前
本田技研工業株式会社
鞍乗型車両
13日前
本田技研工業株式会社
電動船外機
9日前
本田技研工業株式会社
車両制御装置
13日前
本田技研工業株式会社
始動制御装置
13日前
本田技研工業株式会社
燃料電池構造
13日前
本田技研工業株式会社
始動制御装置
13日前
本田技研工業株式会社
電池製造装置
13日前
本田技研工業株式会社
鞍乗り型車両
13日前
本田技研工業株式会社
燃料電池装置
13日前
本田技研工業株式会社
電池モジュール
9日前
本田技研工業株式会社
電池モジュール
9日前
本田技研工業株式会社
差圧式電解装置
今日
本田技研工業株式会社
電動無段変速装置
2日前
本田技研工業株式会社
電気部品冷却構造
13日前
本田技研工業株式会社
バッテリシステム
9日前
本田技研工業株式会社
燃料電池スタック
13日前
本田技研工業株式会社
駆動装置ユニット
3日前
本田技研工業株式会社
バッテリシステム
9日前
続きを見る
他の特許を見る