TOP
|
特許
|
意匠
|
商標
特許ウォッチ
Twitter
他の特許を見る
公開番号
2025155016
公報種別
公開特許公報(A)
公開日
2025-10-14
出願番号
2024058330
出願日
2024-03-30
発明の名称
架線集材システム
出願人
イワフジ工業株式会社
代理人
個人
主分類
B66C
13/00 20060101AFI20251003BHJP(巻上装置;揚重装置;牽引装置)
要約
【課題】グラップル装置の遠隔操作の作業性を向上することができ、集材作業と造材作業とを1人で行うことが可能な架線集材システムを提供する。
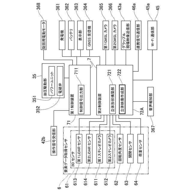
【解決手段】スカイラインSKLに沿って走行可能な搬器2と、搬器2からリフティングラインLFLにより吊り下げられるグラップル装置3と、グラップル装置3に設けられるとともに、グラップル装置3および周囲の対象物の合成立体形状情報を構築するための要素データを取得する複数の要素データ取得センサと、第2制御装置と、ゴーグル型表示装置と、を備える。第2制御装置は、複数の要素データを使用して合成立体形状情報を構築する立体形状構築部と、グラップル装置3および対象物を所定の視点から見た映像である立体映像を合成立体形状情報から作成する立体映像作成部と、を有する。ゴーグル型表示装置は、グラップル装置3から離れた位置に配設され、立体映像を表示するように構成されている。
【選択図】図1
特許請求の範囲
【請求項1】
スカイラインに沿って走行可能に取り付けられる搬器と、
前記搬器からリフティングラインにより昇降自在に吊り下げられるグラップル装置と、
前記グラップル装置に設けられるとともに、前記グラップル装置および周囲の対象物の合成立体形状情報を構築するための要素データを取得する複数の要素データ取得センサと、
制御装置と、
表示装置と、を備え、
前記制御装置は、
複数の前記要素データを使用して前記合成立体形状情報を構築する立体形状構築部と、
前記グラップル装置および前記対象物を所定の視点から見た映像である立体映像を前記合成立体形状情報から作成する立体映像作成部と、を有し、
前記表示装置は、前記グラップル装置から離れた位置に配設され、前記立体映像を表示するように構成された、
ことを特徴とする架線集材システム。
続きを表示(約 1,300 文字)
【請求項2】
前記グラップル装置は、開閉自在なグラップルアーム部と、前記グラップルアーム部の上端の接続部が下面に接続される機器収容部と、を備え、
前記要素データ取得センサは、前記機器収容部に取り付けられて下方領域の物体像を取得する3Dセンサを含む、
ことを特徴とする請求項1に記載の架線集材システム。
【請求項3】
前記3Dセンサは、前記接続部に対して点対称となるように前記機器収容部の下面に2個設けられている、
ことを特徴とする請求項2に記載の架線集材システム。
【請求項4】
前記要素データ取得センサは、前記グラップルアーム部の複数のアーム部材の開閉状態を検出する開閉センサと、前記グラップルアーム部の前記機器収容部に対する回転角度を検出する回転角度センサとを含み、
前記要素データは、前記開閉状態のデータと前記回転角度のデータとを含み、
前記立体形状構築部は、前記3Dセンサの取得データから作成した地面および把持物の立体形状の情報を第1立体形状情報とし、前記開閉状態と前記回転角度の現在値に対応する前記グラップル装置をコンピュータグラフィックスにより作成した立体形状の情報を第2立体形状情報とし、前記第1立体形状情報と前記第2立体形状情報とを合成して前記合成立体形状情報を構築するように構成した、
ことを特徴とする請求項3に記載の架線集材システム。
【請求項5】
前記立体形状構築部は、前記3Dセンサの前記取得データに基づいて前記グラップル装置と前記地面との距離を算出し、当該距離に対応して前記グラップル装置と前記地面とを配置した前記合成立体形状情報を構築し、
前記立体映像作成部は、前記地面を基準として前記グラップル装置を表示する前記立体映像を作成するように構成した、
ことを特徴とする請求項4に記載の架線集材システム。
【請求項6】
前記表示装置で表示される前記立体映像の視点を切り替える視点切替操作部を備え、
前記立体映像作成部は、前記視点切替操作部が操作されることによって得られる視点切り替え内容に基づいて、切り替え後視点の立体映像を作成するように構成した、
ことを特徴とする請求項5に記載の架線集材システム。
【請求項7】
前記立体映像作成部は、前記グラップル装置と前記地面との距離が近づくにつれて、前記グラップル装置、前記把持物および前記地面に対する視点を、鉛直下方向から水平方向に向かって変化させた立体映像を作成するように構成した、
ことを特徴とする請求項5に記載の架線集材システム。
【請求項8】
前記グラップル装置は、前記グラップルアーム部に作用する荷重を測定する荷重センサを備え、
前記立体映像作成部は、前記荷重センサに作用する荷重の大きさに応じて前記立体映像に変化をつけるように構成した、
ことを特徴とする請求項2~7のいずれか1項に記載の架線集材システム。
発明の詳細な説明
【技術分野】
【0001】
本発明は、グラップル装置を備えた架線集材システムに関する。
続きを表示(約 2,200 文字)
【背景技術】
【0002】
従来、木材の伐採を行う荷掛け場(木材伐採地)から木材の造材を行う荷下ろし場(木材集材地)へ伐採された木材を搬送する架線集材システムが知られている(例えば、特許文献1参照)。
【0003】
特許文献1の架線集材システムは、エンドレスタイラー式として構成されている。具体的には、特許文献1の架線集材システムは、略一直線状のスカイラインに沿って走行可能に取り付けられる搬器と、搬器からリフティングラインによって昇降自在に吊り下げられるグラップル装置と、架線集材機とを備えている。グラップル装置には、一対のリフティングライン用の滑車が取り付けられている。リフティングライン用の滑車には、リフティングラインが掛け渡されている。架線集材機には、リフティングラインの繰り出しと引き込みとを行うドラムと、エンドレスライン用のドラムと、ホールバックライン用のドラムが設けられている。エンドレスラインは、グラップル装置をスカイラインに沿って移動させるために設けられている。また、ホールバックラインは、グラップル装置をスカイラインの掛け渡し方向に交差する横方向に移動させるために設けられている。
【0004】
グラップル装置は、開閉自在な一対のグラップルアーム、グラップルアームを開閉させる油圧シリンダ、油圧シリンダを駆動させるパワーユニット、ラジコン受信機等を備えている。ラジコン受信機がラジコン送信機からの操作信号を受信して、その操作信号に基づいて上記パワーユニット等が作動される。ラジコン送信機は、グラップル装置から離れた位置にいる作業者が操作する。作業者は、安全な場所からグラップル装置を遠隔操作できる。
【先行技術文献】
【特許文献】
【0005】
特開2020-75807号公報
【発明の概要】
【発明が解決しようとする課題】
【0006】
上記従来の架線集材システムでは、グラップル装置の遠隔操作を行う際、作業者が目視でグラップル装置の動作状況を確認しつつ作業を行う必要があった。目視の種類としては、例えば、グラップル装置の動作状況について直接的に目視して確認する場合とカメラ映像で間接的に目視して確認する場合が考えられる。仮に、カメラとその表示装置とを互いに離れて設置するとともに無線通信装置でカメラから表示装置へ映像信号を送信するように構成すれば、作業者は、グラップル装置からよりいっそう離れた位置から作業を行うことができるとも思われる。
【0007】
しかしながら、従来の架線集材システムでは、グラップル装置の本体部にグラップルアームを映すカメラを取り付けた場合、作業者は、カメラ映像だけでグラップルアームと地面および把持対象物との相対距離を把握することが困難であった。また、作業者は、カメラ映像だけでグラップル装置の本体部やグラップルアームの現在姿勢を把握することが困難であった。そのため、従来の架線集材システムでは、グラップル装置の操作担当の作業者は、グラップル装置の動作状況を直接目視可能な位置でグラップル装置を遠隔操作する必要があった。これにより、従来の架線集材システムは、長距離の木材搬送や急峻な地形における木材搬送に対応することが難しく、作業性が悪いという問題点があった。
【0008】
また、従来の架線集材システムでは、グラップル装置の操作担当の作業者は、木材を荷掛け場から荷下ろし場へ木材を搬送することにより荷下ろし場に木材を集めるという集材作業を行っていた。一方、荷下ろし場では、いわゆるプロセッサと呼ばれる造材機械を操作する別の作業者がいた。当該別の作業者は、造材機械を操縦して、荷掛け場から荷下ろし場へ搬送された木材に対し、枝払いと所定長さへの切断とを行う造材作業を行っていた。すなわち、従来の架線集材システムでは、集材作業と造材作業とをそれぞれ行う2人の作業者が必要であった。もし集材作業と造材作業を1人で行うことができるようになれば、省人化によって労働生産性を向上させることができる。
【0009】
本発明は、上記実情を考慮してなされたものであり、その目的は、グラップル装置の遠隔操作の作業性を向上することができ、集材作業と造材作業とを1人で行うことが可能な架線集材システムを提供することである。
【課題を解決するための手段】
【0010】
上述の課題を解決するために本明細書に開示する発明は、以下のように構成されている。すなわち、第1の発明は、スカイラインに沿って走行可能に取り付けられる搬器と、前記搬器からリフティングラインにより昇降自在に吊り下げられるグラップル装置と、前記グラップル装置に設けられるとともに、前記グラップル装置および周囲の対象物の合成立体形状情報を構築するための要素データを取得する複数の要素データ取得センサと、制御装置と、表示装置と、を備え、前記制御装置は、複数の前記要素データを使用して前記合成立体形状情報を構築する立体形状構築部と、前記グラップル装置および前記対象物を所定の視点から見た映像である立体映像を前記合成立体形状情報から作成する立体映像作成部と、を有し、前記表示装置は、前記グラップル装置から離れた位置に配設され、前記立体映像を表示するように構成された、ことを特徴とする。
(【0011】以降は省略されています)
この特許をJ-PlatPat(特許庁公式サイト)で参照する
関連特許
イワフジ工業株式会社
架線集材システム
4日前
イワフジ工業株式会社
架線集材システム
4日前
イワフジ工業株式会社
掘削グラップル装置及び油圧ショベル
4か月前
個人
自走手摺
3か月前
ユニパルス株式会社
吊具
4か月前
個人
海上コンテナ昇降装置
10か月前
ユニパルス株式会社
吊具装置
10か月前
ユニパルス株式会社
荷役装置
9か月前
株式会社いうら
車椅子用昇降機
2か月前
水戸工業株式会社
吊り具
6か月前
株式会社豊田自動織機
産業車両
1か月前
株式会社豊田自動織機
荷役車両
9か月前
株式会社豊田自動織機
産業車両
11か月前
株式会社豊田自動織機
荷役車両
8か月前
ユニパルス株式会社
リフト装置
4か月前
ユニパルス株式会社
荷役助力装置
4か月前
個人
垂直自動搬送機
1か月前
個人
エアバック式レスキュー用品
11日前
愛知製鋼株式会社
受け架台
1か月前
ユニパルス株式会社
荷役助力装置
3か月前
白山工業株式会社
バランサ
7か月前
ユニパルス株式会社
荷役助力装置
5か月前
株式会社大林組
安全支援システム
1か月前
大栄産業株式会社
クランプ
5か月前
株式会社伊藤
滑り止め装置
2か月前
株式会社キトー
タイヤ用吊具
5か月前
株式会社ユピテル
システム等
6か月前
フジテック株式会社
エレベータ
9か月前
株式会社豊田自動織機
フォークリフト
1か月前
新英運輸株式会社
自動車用台車
5か月前
中国計量大学
電子安全クランプ
19日前
株式会社豊田自動織機
フォークリフト
7か月前
大和ハウス工業株式会社
吊上具
2か月前
株式会社五十鈴製作所
搬送装置
4か月前
フジテック株式会社
エスカレータ
6か月前
有限会社サエキ
玉掛用器具
10か月前
続きを見る
他の特許を見る