TOP
|
特許
|
意匠
|
商標
特許ウォッチ
Twitter
他の特許を見る
10個以上の画像は省略されています。
公開番号
2025155296
公報種別
公開特許公報(A)
公開日
2025-10-14
出願番号
2024059049
出願日
2024-04-01
発明の名称
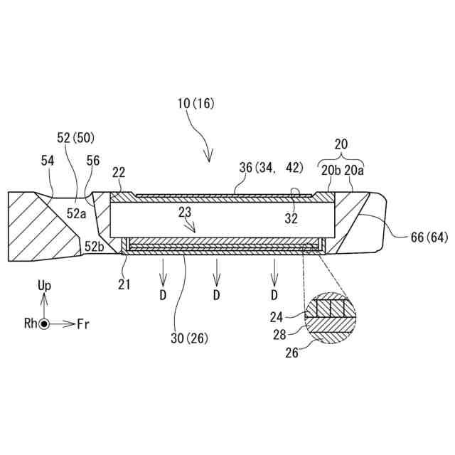
超音波プローブ
出願人
富士フイルム株式会社
代理人
弁理士法人YKI国際特許事務所
主分類
A61B
8/12 20060101AFI20251006BHJP(医学または獣医学;衛生学)
要約
【課題】穿刺ガイドによるガイド方向を容易に把握可能な超音波プローブを提供する。
【解決手段】体腔に挿入される超音波プローブは、超音波を放射する超音波振動子22と、前記超音波振動子22を収容するケース20と、を備え、前記ケース20は、穿刺針130が挿入される孔または切り欠きであり、前記穿刺針130の穿刺方向をガイドする第一穿刺ガイド50と、前記ケース20の外表面に設けられ、前記穿刺ガイド50のガイド方向を示すガイドマーカ60と、を有する。
【選択図】図2
特許請求の範囲
【請求項1】
体腔に挿入される超音波プローブであって、
超音波を放射する超音波振動子と、
前記超音波振動子を収容するケースと、
を備え、
前記ケースは、
穿刺針が挿入される孔または切り欠きであり、前記穿刺針の穿刺方向をガイドする穿刺ガイドと、
前記ケースの外表面に設けられ、前記穿刺ガイドのガイド方向を示すガイドマーカと、
を有する、
ことを特徴とする超音波プローブ。
続きを表示(約 500 文字)
【請求項2】
請求項1に記載の超音波プローブであって、
前記ガイドマーカは、前記穿刺ガイドの軸方向端部の壁の傾斜を示す図形である、ことを特徴とする超音波プローブ。
【請求項3】
請求項2に記載の超音波プローブであって、
前記穿刺ガイドは、入口からケース内に進むにつれて前後方向寸法が狭くなるテーパ部を有し、
前記ガイドマーカは、前記穿刺ガイドの軸方向一端の壁の傾斜を示す第一ラインと、前記穿刺ガイドの軸方向他端の壁の傾斜を示す第二ラインと、前記第一ラインおよび前記第二ラインを結ぶ第三ラインと、で囲まれた略三角形状である、
ことを特徴とする超音波プローブ。
【請求項4】
請求項3に記載の超音波プローブであって、
前記ガイドマーカは、前記穿刺ガイドの軸方向端部の壁に沿って進む前記穿刺針の中心軸の軌跡を示すラインを含む、ことを特徴とする超音波プローブ。
【請求項5】
請求項1に記載の超音波プローブであって、
前記ガイドマーカの色は、前記ケースの色の反対色である、ことを特徴とする超音波プローブ。
発明の詳細な説明
【技術分野】
【0001】
本明細書は、体腔内に挿入される超音波プローブを開示する。
続きを表示(約 1,200 文字)
【背景技術】
【0002】
従来から、被検体(例えば患者や動物)の臓器の内部の状態を把握するために、体腔に超音波プローブを挿入し、超音波診断する技術が知られている。かかる超音波診断では、超音波プローブを臓器表面に接触させ、その状態で、超音波プローブから臓器の内部に向かって超音波を送信するとともに、その反射波を受信する。そして、得られた反射波の信号に基づいて、臓器の内部の状態を表す超音波断層像が形成される。医者等の術者は、得られた超音波断層像を参照しながら、臓器の内部に対して様々な処置、例えば、穿刺針による細胞の採取や薬剤注入等を行う。
【0003】
ここで、従来から、穿刺針の進行方向をガイドする穿刺ガイドを有する超音波プローブが知られている。例えば、特許文献1には、体腔内に挿入されるとともに、穿刺ガイドを有する超音波プローブが開示されている。特許文献1において、穿刺ガイドは、穿刺針のガイド方向に延びる孔または溝である。かかる穿刺ガイドにより、穿刺針の進行方向が安定する。
【先行技術文献】
【特許文献】
【0004】
国際公開第2015/166302号公報
【発明の概要】
【発明が解決しようとする課題】
【0005】
しかしながら、従来の超音波プローブでは、穿刺ガイドである孔または溝の進行方向が把握しにくかった。結果として、従来、術者は、穿刺ガイドによるガイド方向を把握しにくいという問題があった。
【0006】
なお、体外で使用する穿刺プローブの場合、超音波プローブのサイドに大型の穿刺ガイドが取り付けられる。そして、術者は、この大型の穿刺ガイドの形状を見ることで、ガイド方向を容易に把握できる。体腔内用の超音波プローブの場合、このような大型の穿刺ガイドを取り付けることができず、術者は、ガイド方向を把握することが難しかった。
【0007】
そこで、本明細書では、穿刺ガイドによるガイド方向を容易に把握可能な超音波プローブを開示する。
【課題を解決するための手段】
【0008】
本明細書で開示する超音波プローブは、体腔に挿入される超音波プローブであって、超音波を放射する超音波振動子と、前記超音波振動子を収容するケースと、を備え、前記ケースは、穿刺針が挿入される孔または切り欠きであり、前記穿刺針の穿刺方向をガイドする穿刺ガイドと、前記ケースの外表面に設けられ、前記穿刺ガイドのガイド方向を示すガイドマーカと、を有する、ことを特徴とする。
【0009】
ガイドマーカを設けることで、術者は、穿刺ガイドによるガイド方向を容易に把握できる。
【0010】
この場合、前記ガイドマーカは、前記穿刺ガイドの軸方向端部の壁の傾斜を示す図形でもよい。
(【0011】以降は省略されています)
この特許をJ-PlatPat(特許庁公式サイト)で参照する
関連特許
富士フイルム株式会社
機上現像型平版印刷版原版、及び印刷版の作製方法
2日前
富士フイルム株式会社
情報処理装置、情報処理方法及び情報処理プログラム
2日前
富士フイルム株式会社
セクレトーム含有組成物の生成、並びにその使用及び分析方法
4日前
富士フイルム株式会社
情報処理装置、情報処理装置の作動方法、情報処理装置の作動プログラム、及び情報管理システム
4日前
個人
健康器具
8か月前
個人
鼾防止用具
8か月前
個人
短下肢装具
2か月前
個人
脈波測定方法
8か月前
個人
脈波測定方法
8か月前
個人
洗井間専家。
6か月前
個人
導電香
8か月前
個人
嚥下鍛錬装置
3か月前
個人
白内障治療法
7か月前
個人
排尿補助器具
5日前
個人
マッサージ機
8か月前
個人
前腕誘導装置
3か月前
個人
胸骨圧迫補助具
1か月前
個人
矯正椅子
4か月前
個人
歯の修復用材料
3か月前
個人
ホバーアイロン
6か月前
個人
汚れ防止シート
20日前
個人
バッグ式オムツ
4か月前
個人
ウォート指圧法
3日前
個人
アイマスク装置
1か月前
三生医薬株式会社
錠剤
7か月前
個人
シャンプー
5か月前
個人
歯の保護用シール
4か月前
個人
湿布連続貼り機。
2か月前
個人
車椅子持ち上げ器
7か月前
個人
陣痛緩和具
3か月前
個人
哺乳瓶冷まし容器
2か月前
個人
口内洗浄具
8か月前
株式会社コーセー
化粧料
2日前
個人
性行為補助具
2か月前
株式会社大野
骨壷
3か月前
個人
服薬支援装置
7か月前
続きを見る
他の特許を見る