TOP
|
特許
|
意匠
|
商標
特許ウォッチ
Twitter
他の特許を見る
10個以上の画像は省略されています。
公開番号
2025155344
公報種別
公開特許公報(A)
公開日
2025-10-14
出願番号
2024059138
出願日
2024-04-01
発明の名称
画像形成装置、画像形成装置の制御方法およびプログラム
出願人
キヤノン株式会社
代理人
弁理士法人大塚国際特許事務所
主分類
G03G
21/00 20060101AFI20251006BHJP(写真;映画;光波以外の波を使用する類似技術;電子写真;ホログラフイ)
要約
【課題】
本発明は、中間転写ベルトの交換時期を適切に制御する仕組みを提供することを目的とする。
【解決手段】
本発明の画像形成装置は、中間転写ベルトと転写残トナー収容容器を有する中間転写ユニットと、前記中間転写ベルトの寿命状態を検知する寿命検知手段と、前記転写残トナー収容容器の満杯を検知する満杯検知手段と、前記寿命検知手段および前記満杯検知手段の少なくともいずれか一方の検知の状態に基づいて、前記画像形成装置の動作を制御する制御手段と、を備えることを特徴とする。
【選択図】 図5
特許請求の範囲
【請求項1】
中間転写ベルトと転写残トナー収容容器を有する中間転写ユニットと、
前記中間転写ベルトの寿命状態を検知する寿命検知手段と、
前記転写残トナー収容容器の満杯を検知する満杯検知手段と、
前記寿命検知手段および前記満杯検知手段の少なくともいずれか一方の検知の状態に基づいて、画像形成装置の動作を制御する制御手段と、
を備える、画像形成装置。
続きを表示(約 720 文字)
【請求項2】
前記画像形成装置の前記動作は、印刷の継続と停止である、
請求項1に記載の画像形成装置。
【請求項3】
前記画像形成装置の前記動作は、前記中間転写ユニットの寿命が近づいている旨の表示である、
請求項1に記載の画像形成装置。
【請求項4】
前記画像形成装置の前記動作は、前記中間転写ユニットの交換を促す表示である、
請求項1に記載の画像形成装置。
【請求項5】
前記画像形成装置の前記動作は、前記中間転写ユニットの攪拌動作を実行させることを促す表示である、
請求項1に記載の画像形成装置。
【請求項6】
前記画像形成装置の前記動作は、前記中間転写ユニットを取り出して振る動作を行うことを促す表示である、
請求項1に記載の画像形成装置。
【請求項7】
前記制御手段は、前記寿命検知手段による寿命の到来を検知する前に、前記満杯検知手段による満杯を検知したことであることに基づいて、前記画像形成装置の動作を制御する
請求項1に記載の画像形成装置。
【請求項8】
前記画像形成装置の前記動作を制御するか否かを設定する設定手段を、
さらに、備える、請求項1に記載の画像形成装置。
【請求項9】
前記制御手段は、前記寿命検知手段による寿命の到来を検知する前に警告する、
請求項1に記載の画像形成装置。
【請求項10】
前記制御手段は、前記満杯を検知する前に警告する、
請求項1に記載の画像形成装置。
(【請求項11】以降は省略されています)
発明の詳細な説明
【技術分野】
【0001】
本発明は、画像形成装置、画像形成装置の制御方法およびプログラムに関する。
続きを表示(約 2,100 文字)
【背景技術】
【0002】
画像形成装置の消耗品として、トナー、感光ドラム、現像器等を一体化した、オールインワンカートリッジであるプロセスカートリッジが広く知られている。
特許文献1では、操作パネルの設定画面を介した操作に基づいて、着脱可能な消耗品の要素ごとに寿命到達時の動作を設定する提案がなされている。
また、特許文献2では、画像形成装置の中間転写ベルトに残留した転写残トナー収容容器を中間転写ベルトの内部領域へ配置し、転写残トナーを搬送部材を介して容器の中央部へ移動させて充填率を向上させる提案がなされている。
【先行技術文献】
【特許文献】
【0003】
特開2019-031006号公報
特開2020-197702号公報
【発明の概要】
【発明が解決しようとする課題】
【0004】
従来、画像形成装置において、印刷時に発生する転写残トナーは、トナーカートリッジ内に格納したり、回収トナー専用容器に格納していた。トナーカートリッジ内に格納する場合、消費トナーと回収トナーの比率から回収トナー格納領域を十分用意することにより、トナーを使い切るまで、回収トナーが満杯となることはなかった。また、回収トナー専用容器を設ける場合、転写残トナー収容容器が満杯にならないように転写残トナーの充填率を上げることにより、十分に収容できるようにすることが可能である。
【0005】
画像形成装置において、印刷を繰り返し行うと、中間転写ベルトの寿命や、転写残トナー収容容器が満杯となるため、中間転写ベルトや転写残トナー収容容器の交換が必要となる。中間転写ベルトに残留した転写残トナー収容容器を中間転写ベルトの内部領域へ配置する場合においては、スペースの制限から大容量化を図ることが難しい。中間転写ベルトと、中間転写ベルトの内部領域に転写残トナー収容容器を配置し、中間転写ユニットとすることもでき、画像形成装置に中間転写ユニットを交換可能とすることができる。この場合、転写残トナー収容容器のみを交換することはできず、中間転写ベルトごと中間転写ユニットを交換する必要がある。中間転写ベルトが寿命となった場合は、印刷画質が低下しても印刷を継続することは可能である。一方、転写残トナー収容容器が満杯になると転写残トナーが溢れることになるため、印刷を停止させる必要がある。画像形成装置の使用方法によっては、中間転写ベルトの寿命が到来する前に、転写残トナー収容容器が満杯となる場合がある。
【0006】
本発明は、中間転写ベルトと転写残トナー収容容器を含む中間転写ユニットを着脱可能な画像形成装置において、中間転写ベルトの交換時期を適切に制御する仕組みを提供することを目的とする。
【課題を解決するための手段】
【0007】
本発明の画像形成装置は、中間転写ベルトと転写残トナー収容容器を有する中間転写ユニットと、前記中間転写ベルトの寿命状態を検知する寿命検知手段と、前記転写残トナー収容容器の満杯を検知する満杯検知手段と、前記寿命検知手段および前記満杯検知手段の少なくともいずれか一方の検知の状態に基づいて、前記画像形成装置の動作を制御する制御手段と、を備えることを特徴とする。
【発明の効果】
【0008】
転写残トナー収容容器を中間転写ベルトの内部領域へ配置した中間転写ユニットにおいて、中間転写ベルトの寿命の到来や転写残トナー収容容器の満杯が発生した場合の表示と動作を制御することが可能となる。中間転写ユニットを一般販売する場合、中間転写ベルトの寿命の到来や、転写残トナー収容容器の満杯の表示と動作を設定して、購入しての交換を促すことが可能となる。また、消耗品の保守契約をしている場合、中間転写ベルトの寿命の到来や、転写残トナー収容容器の満杯が発生する前に消耗部品を配送することが可能となる。
【図面の簡単な説明】
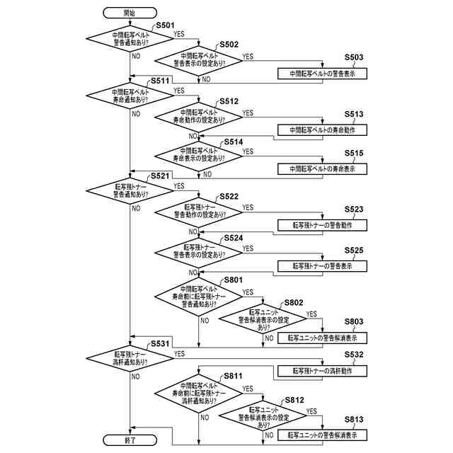
【0009】
画像形成装置等のハードウェア構成を示す図。
コントローラ等のハードウェア構成を示す図。
プリントエンジン等のハードウェア構成を示す図。
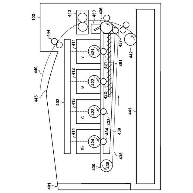
プリントエンジンの内部構成を示す概略的な断面図。
第1の実施形態のフローチャート。
表示と動作設定のUI例。
寿命と満杯表示のUI例。
第2の実施形態のフローチャート。
第2の実施形態の表示設定と警告解消表示のUI例。
【発明を実施するための形態】
【0010】
以下、添付図面を参照して実施形態を詳しく説明する。なお、以下の実施形態は特許請求の範囲に係る発明を限定するものではない。実施形態には複数の特徴が記載されているが、これらの複数の特徴の全てが発明に必須のものとは限らず、また、複数の特徴は任意に組み合わせられてもよい。さらに、添付図面においては、同一若しくは同様の構成に同一の参照番号を付し、重複した説明は省略する。
【実施例】
(【0011】以降は省略されています)
この特許をJ-PlatPat(特許庁公式サイト)で参照する
関連特許
キヤノン株式会社
測距装置
4日前
キヤノン株式会社
現像容器
9日前
キヤノン株式会社
記録装置
9日前
キヤノン株式会社
撮影装置
9日前
キヤノン株式会社
現像装置
2日前
キヤノン株式会社
現像容器
9日前
キヤノン株式会社
現像装置
9日前
キヤノン株式会社
定着装置
10日前
キヤノン株式会社
現像装置
9日前
キヤノン株式会社
カートリッジ
9日前
キヤノン株式会社
画像形成装置
9日前
キヤノン株式会社
カートリッジ
9日前
キヤノン株式会社
画像形成装置
9日前
キヤノン株式会社
画像処理装置
9日前
キヤノン株式会社
情報処理装置
9日前
キヤノン株式会社
画像形成装置
9日前
キヤノン株式会社
画像形成装置
3日前
キヤノン株式会社
画像形成装置
9日前
キヤノン株式会社
画像形成装置
3日前
キヤノン株式会社
画像形成装置
3日前
キヤノン株式会社
画像形成装置
5日前
キヤノン株式会社
画像形成装置
10日前
キヤノン株式会社
画像形成装置
5日前
キヤノン株式会社
画像形成装置
10日前
キヤノン株式会社
画像形成装置
2日前
キヤノン株式会社
画像形成装置
10日前
キヤノン株式会社
電子写真装置
2日前
キヤノン株式会社
画像形成装置
2日前
キヤノン株式会社
画像形成装置
2日前
キヤノン株式会社
レンズキャップ
3日前
キヤノン株式会社
振動型駆動装置
9日前
キヤノン株式会社
振動型駆動装置
9日前
キヤノン株式会社
画像形成システム
4日前
キヤノン株式会社
コネクタ実装基板
10日前
キヤノン株式会社
画像形成システム
4日前
キヤノン株式会社
多層プリント基板
5日前
続きを見る
他の特許を見る