TOP
|
特許
|
意匠
|
商標
特許ウォッチ
Twitter
他の特許を見る
10個以上の画像は省略されています。
公開番号
2025154797
公報種別
公開特許公報(A)
公開日
2025-10-10
出願番号
2024057989
出願日
2024-03-29
発明の名称
カートリッジ
出願人
キヤノン株式会社
代理人
弁理士法人近島国際特許事務所
主分類
G03G
21/18 20060101AFI20251002BHJP(写真;映画;光波以外の波を使用する類似技術;電子写真;ホログラフイ)
要約
【課題】トナー充填作業の効率を向上可能なカートリッジを提供する。
【解決手段】画像形成装置本体に着脱されるカートリッジは、トナー像を担持する像担持体を有する像担持体ユニットと、トナー収容空間にトナーを充填するためのトナー充填開口が設けられる枠体と、枠体に回転可能に支持され、トナー収容空間に収容されたトナーを担持する現像ローラと、を有し、像担持体ユニットに対して相対移動可能な現像ユニットと、第1位置と、第1位置とは異なる第2位置と、に移動可能に支持される移動部と、を備える。移動部は、現像ユニットを像担持体ユニットに対して移動させるための力を画像形成装置本体から受ける力受け部を有する。移動部は、現像ローラの回転軸線の方向に見て、第1位置に位置する際に少なくとも一部がトナー充填開口に重なり、第2位置に位置する際にトナー充填開口に重ならないように構成されている。
【選択図】図1
特許請求の範囲
【請求項1】
画像形成装置本体に着脱されるカートリッジであって、
トナー像を担持する像担持体を有する像担持体ユニットと、
トナーを収容するトナー収容空間を形成する枠体であって、前記トナー収容空間と前記枠体の外部とを連通し、前記トナー収容空間にトナーを充填するためのトナー充填開口が設けられる枠体と、前記枠体に回転可能に支持され、前記トナー収容空間に収容されたトナーを担持する現像ローラと、を有し、前記像担持体ユニットに対して相対移動可能な現像ユニットと、
第1位置と、前記第1位置とは異なる第2位置と、に移動可能に支持される移動部であって、前記現像ローラが前記像担持体に対して当接又は離間するように、前記現像ユニットを前記像担持体ユニットに対して移動させるための力を前記画像形成装置本体から受ける力受け部を有する移動部と、を備え、
前記移動部は、前記現像ローラの回転軸線の方向に見て、前記第1位置に位置する際に少なくとも一部が前記トナー充填開口に重なり、前記第2位置に位置する際に前記トナー充填開口に重ならないように構成されている、
ことを特徴とするカートリッジ。
続きを表示(約 1,700 文字)
【請求項2】
前記現像ユニットは、前記現像ローラが前記像担持体に当接する当接位置と、前記現像ローラが前記像担持体から離間した離間位置と、に移動可能に構成され、
前記移動部は、前記カートリッジが前記画像形成装置本体から取り外され、かつ前記現像ユニットが前記離間位置に位置する際に、前記第1位置に位置し、前記カートリッジが前記画像形成装置本体に装着され、かつ前記現像ユニットが前記当接位置に位置する際に、第3位置に位置し、
前記移動部の前記第2位置は、前記第3位置から前記第1位置とは反対側に移動した位置である、
ことを特徴とする請求項1に記載のカートリッジ。
【請求項3】
前記移動部は、前記カートリッジが前記画像形成装置本体に装着された状態で、前記画像形成装置本体に設けられるドアが閉じられることに連動して下方に移動する移動部材であって、前記力受け部を含む移動部材を有し、
前記移動部材は、前記現像ローラの回転軸線の方向に見て、前記移動部が前記第1位置に位置する際に、少なくとも一部が前記トナー充填開口に重なり、前記移動部が前記第2位置に位置する際に、前記トナー充填開口に重ならないように構成されている、
ことを特徴とする請求項1に記載のカートリッジ。
【請求項4】
前記現像ユニットは、前記枠体に支持されると共に前記回転軸線の方向において前記枠体の外側に配置されるカバー部材を有し、
前記移動部は、前記カバー部材に移動可能に支持される、
ことを特徴とする請求項1に記載のカートリッジ。
【請求項5】
前記トナー充填開口は、前記回転軸線の方向に見て、前記カバー部材に重ならないように配置されている、
ことを特徴とする請求項4に記載のカートリッジ。
【請求項6】
前記移動部は、前記現像ユニットが前記像担持体ユニットから分離された状態で、前記第2位置に移動可能である、
ことを特徴とする請求項4に記載のカートリッジ。
【請求項7】
前記現像ユニットは、前記カートリッジが前記画像形成装置本体に装着された状態で、前記画像形成装置本体に設けられた電極と接触可能な接点部材を有し、
前記トナー充填開口は、前記回転軸線の方向に見て、前記接点部材に重ならないように配置されている、
ことを特徴とする請求項4に記載のカートリッジ。
【請求項8】
画像形成装置本体に着脱されるカートリッジであって、
トナー像を担持する像担持体と、
トナーを収容するトナー収容空間を形成する枠体であって、前記トナー収容空間と前記枠体の外部とを連通し、前記トナー収容空間にトナーを充填するためのトナー充填開口が設けられる枠体と、
前記枠体に回転可能に支持され、前記トナー収容空間に収容されたトナーを担持する現像ローラと、
第1位置と、前記第1位置とは異なる第2位置と、に移動可能に支持される移動部であって、前記第1位置において前記像担持体の表面を覆う移動部と、を備え、
前記移動部は、前記現像ローラの回転軸線の方向に見て、前記第1位置に位置する際に少なくとも一部が前記トナー充填開口に重なり、前記第2位置に位置する際に前記トナー充填開口に重ならないように構成されている、
ことを特徴とするカートリッジ。
【請求項9】
前記移動部は、前記カートリッジが前記画像形成装置本体から取り外された状態で、前記第1位置から前記第2位置に移動可能である、
ことを特徴とする請求項8に記載のカートリッジ。
【請求項10】
前記トナー充填開口を開閉可能に構成される蓋部材を更に備え、
前記蓋部材は、前記回転軸線の方向に見て、前記第1位置に位置する前記移動部に少なくとも一部が重なり、かつ前記第2位置に位置する前記移動部に重ならないように配置されている、
ことを特徴とする請求項1乃至9のいずれか1項に記載のカートリッジ。
(【請求項11】以降は省略されています)
発明の詳細な説明
【技術分野】
【0001】
本発明は、トナーを収容するカートリッジに関する。
続きを表示(約 2,500 文字)
【背景技術】
【0002】
従来、画像形成装置本体に着脱可能に支持されるプロセスカートリッジを備えた画像形成装置が提案されている(特許文献1参照)。プロセスカートリッジは、感光ドラムを含むクリーニングユニットと、トナー収容枠体及び現像ローラを含む現像装置ユニットと、を有している。現像装置ユニットのトナー収容枠体には、トナー収容枠体にトナーを供給するためのトナー供給開口が設けられており、該トナー供給開口は、トナーシール部材によって封止されている。
【0003】
また、現像ローラを感光ドラムに対して離間又は当接する際に移動する移動部材を、現像容器の側面に設けたプロセスカートリッジが提案されている(特許文献2参照)。
【先行技術文献】
【特許文献】
【0004】
特開2014-71275号公報
特開2020-154312号公報
【発明の概要】
【発明が解決しようとする課題】
【0005】
特許文献1に記載のトナー供給開口は、例えば現像装置ユニットのリサイクル時に、トナー収容枠体内にトナーを充填するトナー充填作業のために用いられる。しかしながら、例えば特許文献2に記載の移動部材のように、トナー供給開口を覆う部材がある場合、このような部材を取り外してからトナー充填作業を行う必要があり、トナー充填作業の効率が低減してしまう。
【0006】
本発明は、トナー充填作業の効率を向上可能なカートリッジを提供することを目的とする。
【課題を解決するための手段】
【0007】
本発明は、画像形成装置本体に着脱されるカートリッジであって、トナー像を担持する像担持体を有する像担持体ユニットと、トナーを収容するトナー収容空間を形成する枠体であって、前記トナー収容空間と前記枠体の外部とを連通し、前記トナー収容空間にトナーを充填するためのトナー充填開口が設けられる枠体と、前記枠体に回転可能に支持され、前記トナー収容空間に収容されたトナーを担持する現像ローラと、を有し、前記像担持体ユニットに対して相対移動可能な現像ユニットと、第1位置と、前記第1位置とは異なる第2位置と、に移動可能に支持される移動部であって、前記現像ローラが前記像担持体に対して当接又は離間するように、前記現像ユニットを前記像担持体ユニットに対して移動させるための力を前記画像形成装置本体から受ける力受け部を有する移動部と、を備え、前記移動部は、前記現像ローラの回転軸線の方向に見て、前記第1位置に位置する際に少なくとも一部が前記トナー充填開口に重なり、前記第2位置に位置する際に前記トナー充填開口に重ならないように構成されている、ことを特徴とする。
【0008】
また、本発明は、画像形成装置本体に着脱されるカートリッジであって、トナー像を担持する像担持体と、トナーを収容するトナー収容空間を形成する枠体であって、前記トナー収容空間と前記枠体の外部とを連通し、前記トナー収容空間にトナーを充填するためのトナー充填開口が設けられる枠体と、前記枠体に回転可能に支持され、前記トナー収容空間に収容されたトナーを担持する現像ローラと、第1位置と、前記第1位置とは異なる第2位置と、に移動可能に支持される移動部であって、前記第1位置において前記像担持体の表面を覆う移動部と、を備え、前記移動部は、前記現像ローラの回転軸線の方向に見て、前記第1位置に位置する際に少なくとも一部が前記トナー充填開口に重なり、前記第2位置に位置する際に前記トナー充填開口に重ならないように構成されている、ことを特徴とする。
【発明の効果】
【0009】
本発明によると、トナー充填作業の効率を向上できる。
【図面の簡単な説明】
【0010】
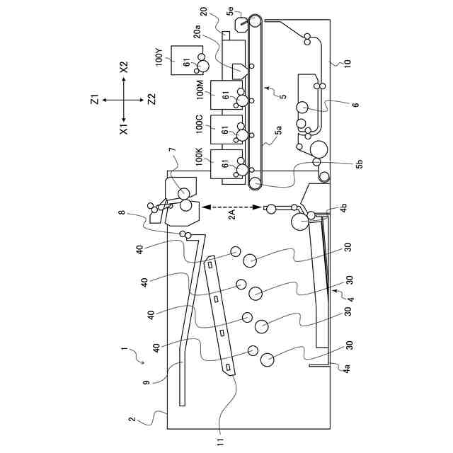
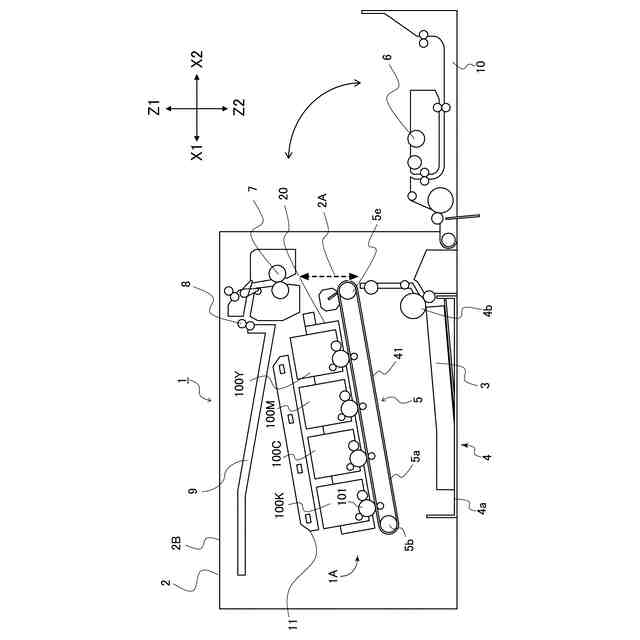
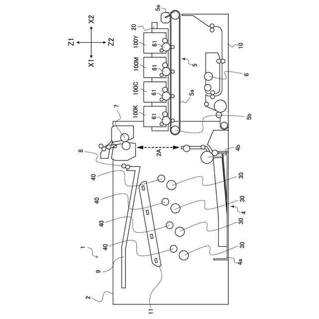
第1の実施の形態に係るプリンタを示す全体概略図。
画像形成装置を示す概略図。
プロセスカートリッジを示す断面図。
前ドアが開かれた状態の画像形成装置を示す断面図。
カートリッジトレイが引出位置に引き出された状態の画像形成装置を示す断面図。
カートリッジトレイからプロセスカートリッジが取り外された状態の画像形成装置を示す断面図。
ドラムユニットを示す分解斜視図。
現像ユニットを示す分解斜視図。
プロセスカートリッジの組立方法を示す分解斜視図。
プロセスカートリッジを示す斜視図。
現像枠体を示す断面図。
現像枠体を非駆動側から見た斜視図。
装置本体から取り外された状態の現像ユニットを非駆動側から見た側面図。
装置本体から取り外された状態のプロセスカートリッジを非駆動側から見た側面図。
現像ローラが感光ドラムに当接した状態の現像ユニットを非駆動側から見た側面図。
現像ローラが感光ドラムに当接した状態のプロセスカートリッジを非駆動側から見た側面図。
トナーキャップを取り外した状態の現像ユニットを示す斜視図。
装置本体から取り外された状態の第2の実施の形態に係るプロセスカートリッジの非駆動側を示す側面図。
装置本体に装着された状態のプロセスカートリッジの非駆動側を示す側面図。
プロセスカートリッジを非駆動側からみた側面図。
(a)は非駆動側軸受を非駆動側からみた図、(b)は駆動側からみた図、(c)は現像ローラ及び供給ローラとそれらを回転可能に支持する非駆動側軸受の摺動部の長手方向に平行な断面図。
現像ブレードの給電経路を説明するための斜視図。
(a)は現像ユニットを非駆動側からみた側面図、(b)は図23(a)のFA-FA断面を示す断面図。
現像ユニットの非駆動側軸受が非駆動側カバーに支持される長手方向位置におけるプロセスカートリッジの断面図。
プロセスカートリッジを駆動側からみた側面図。
【発明を実施するための形態】
(【0011】以降は省略されています)
この特許をJ-PlatPat(特許庁公式サイト)で参照する
関連特許
キヤノン株式会社
トナー
3日前
キヤノン株式会社
トナー
3日前
キヤノン株式会社
トナー
3日前
キヤノン株式会社
トナー
8日前
キヤノン株式会社
撮像装置
4日前
キヤノン株式会社
撮影装置
1日前
キヤノン株式会社
定着装置
2日前
キヤノン株式会社
撮像装置
8日前
キヤノン株式会社
記録装置
1日前
キヤノン株式会社
現像容器
1日前
キヤノン株式会社
現像装置
1日前
キヤノン株式会社
現像容器
1日前
キヤノン株式会社
現像装置
1日前
キヤノン株式会社
記録装置
8日前
キヤノン株式会社
光学センサ
3日前
キヤノン株式会社
モジュール
3日前
キヤノン株式会社
情報処理装置
1日前
キヤノン株式会社
カートリッジ
1日前
キヤノン株式会社
画像形成装置
2日前
キヤノン株式会社
画像形成装置
1日前
キヤノン株式会社
画像形成装置
2日前
キヤノン株式会社
画像形成装置
2日前
キヤノン株式会社
画像形成装置
1日前
キヤノン株式会社
映像表示装置
3日前
キヤノン株式会社
カートリッジ
1日前
キヤノン株式会社
画像形成装置
4日前
キヤノン株式会社
画像形成装置
4日前
キヤノン株式会社
画像形成装置
4日前
キヤノン株式会社
画像形成装置
1日前
キヤノン株式会社
画像形成装置
4日前
キヤノン株式会社
画像形成装置
4日前
キヤノン株式会社
画像形成装置
4日前
キヤノン株式会社
画像形成装置
4日前
キヤノン株式会社
画像形成装置
8日前
キヤノン株式会社
画像形成装置
8日前
キヤノン株式会社
画像形成装置
8日前
続きを見る
他の特許を見る