TOP
|
特許
|
意匠
|
商標
特許ウォッチ
Twitter
他の特許を見る
10個以上の画像は省略されています。
公開番号
2025155801
公報種別
公開特許公報(A)
公開日
2025-10-14
出願番号
2024231795
出願日
2024-12-27
発明の名称
半導体装置及び光電変換システム
出願人
キヤノン株式会社
代理人
個人
,
個人
,
個人
,
個人
,
個人
主分類
H10F
39/18 20250101AFI20251002BHJP()
要約
【課題】 半導体装置に対する保護性能を高くしながら、第1半導体層への金属元素の拡散を抑制して半導体装置の特性劣化を低減することを目的とする。
【解決手段】 半導体装置は、第1配線構造と第1半導体層とを含む第1基板と、第2配線構造と第2半導体層とを含む第2基板と、を有し、前記第1配線構造に含まれる第1金属パターンと前記第2配線構造に含まれる第2金属パターンとを接合して前記第1半導体層と前記第2半導体層とは互いに電気的に接続されており、前記第1半導体層側から視た平面視において、前記第2半導体層は前記第1半導体層より大きく、前記第2配線構造は、前記第2金属パターンと同じ高さに配された第3金属パターンを有するガード構造を含み、前記平面視において、前記第3金属パターンと前記第3金属パターンに接触する拡散防止膜との接触部が前記第1半導体層の外に位置する。
【選択図】 図1
特許請求の範囲
【請求項1】
第1配線構造と第1半導体層とを含む第1基板と、
第2配線構造と第2半導体層とを含む第2基板と、を有し、
前記第1配線構造に含まれる第1金属パターンと前記第2配線構造に含まれる第2金属パターンとを接合して前記第1半導体層と前記第2半導体層とは互いに電気的に接続されており、
前記第1半導体層側から視た平面視において、前記第2半導体層は前記第1半導体層より大きく、
前記第2配線構造は、前記第2金属パターンと同じ高さに配された第3金属パターンを有するガード構造を含み、
前記平面視において、前記第3金属パターンと前記第3金属パターンに接触する拡散防止膜との接触部が前記第1半導体層の外に位置することを特徴とする半導体装置。
続きを表示(約 740 文字)
【請求項2】
前記第3金属パターンはCuを主成分とする材料から構成されることを特徴とする請求項1に記載の半導体装置。
【請求項3】
前記拡散防止膜は、SiN、SiOC、SiON、SiCNからなることを特徴とする請求項2に記載の半導体装置。
【請求項4】
前記拡散防止膜は、前記第1半導体層の側面まで連続的に配置されることを特徴とする請求項3に記載の半導体装置。
【請求項5】
前記第3金属パターンは、前記第2半導体層と電気的に導通していることを特徴とする請求項1に記載の半導体装置。
【請求項6】
前記第3金属パターンは、前記第1半導体層と前記第2半導体層とを通る断面において、前記第2半導体層に接続されるコンタクトプラグと金属パターン及びビアプラグの少なくとも一方を介して接続されることを特徴とする請求項1に記載の半導体装置。
【請求項7】
前記第3金属パターンは、前記断面において、前記第2半導体層まで前記コンタクトプラグ、前記金属パターン及び前記ビアプラグを連続的に介して前記第2半導体層に接続されることを特徴とする請求項6に記載の半導体装置。
【請求項8】
前記第1半導体層は、光電変換素子を含むことを特徴とする請求項1に記載の半導体装置。
【請求項9】
前記第2半導体層は、光電変換素子を含むことを特徴とする請求項1に記載の半導体装置。
【請求項10】
前記拡散防止膜は、第1半導体層の前記第2半導体層の側とは反対の側まで連続的に配置されることを特徴とする請求項5に記載の半導体装置。
(【請求項11】以降は省略されています)
発明の詳細な説明
【技術分野】
【0001】
本発明は、半導体装置及び光電変換システムに関する。
続きを表示(約 2,100 文字)
【背景技術】
【0002】
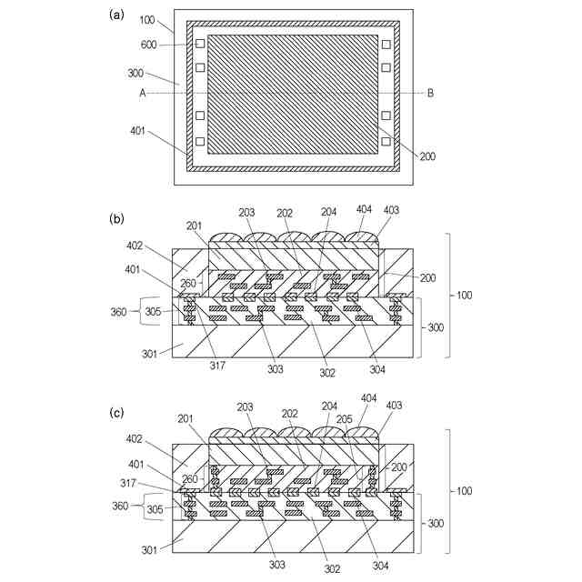
近年、半導体素子が設けられた大きさの異なる半導体層同士を積層した半導体装置が知られている。特許文献1には、半導体層と配線構造を含むチップと、半導体層と配線構造を含むウエハとを各配線構造に含まれる金属パターンのCu-Cu接合を用いて接合するChip On Wafer(CoW)に関する技術が提案されている。Cu-Cu接合において、チップの配線層に含まれる金属パターンとウエハの配線層に含まれる金属パターンとを直接接合している。また、特許文献1には、ウエハに含まれる配線構造において、平面視でチップよりも外側に位置する領域に、後の工程でのダイシングによる影響から守るために、ガード構造を形成することが開示されている。
【0003】
特許文献1に開示された技術では、ガード構造をウエハに含まれる金属パターンと同層、つまり、ウエハとチップとが接合される面まで形成することにより、半導体装置の保護性能が高くなるとされる。また、ガード構造を平面視においてチップより外側に形成することにより、ウエハに含まれる回路として使用する領域を広げることが可能である。
【先行技術文献】
【特許文献】
【0004】
特開2022-89275号公開公報
【発明の概要】
【発明が解決しようとする課題】
【0005】
特許文献1に開示の技術では、ガード構造を平面視においてチップより外側に形成し、金属パターンと同層まで形成すると、金属パターンの金属元素がチップに含まれる半導体層に拡散し、チップに含まれる半導体層の特性が劣化する可能性がある。
【0006】
本発明の半導体装置は、半導体装置に対する保護性能を高くしながら、金属元素の拡散を抑制することを目的とする。
【課題を解決するための手段】
【0007】
本発明の一つの形態に係る半導体装置は、第1配線構造と第1半導体層とを含む第1基板と、第2配線構造と第2半導体層とを含む第2基板と、を有し、前記第1配線構造に含まれる第1金属パターンと前記第2配線構造に含まれる第2金属パターンとを接合して前記第1半導体層と前記第2半導体層とは互いに電気的に接続されており、前記第1半導体層側から視た平面視において、前記第2半導体層は前記第1半導体層より大きく、前記第2配線構造は、前記第2金属パターンと同じ高さに配された第3金属パターンを有するガード構造を含み、前記平面視において、前記第3金属パターンと前記第3金属パターンに接触する拡散防止膜との接触部が前記第1半導体層の外に位置する。
【0008】
また、別の形態に係る半導体装置は、第1配線構造と第1半導体層とを含む第1基板と、第2配線構造と第2半導体層とを含む第2基板と、を有し、前記第1配線構造に含まれる第1金属パターンと前記第2配線構造に含まれる第2金属パターンとを接合して前記第1半導体層と前記第2半導体層とは互いに電気的に接続されており、前記第1半導体層側から視た平面視において、前記第2半導体層は前記第1半導体層より大きく、前記第2配線構造は、前記第2金属パターンと同じ高さに配された第3金属パターンを有するガード構造を含み、前記平面視において、前記第3金属パターンと前記第3金属パターンに接触する膜との接触部が前記第1半導体層の外に位置し、前記膜は、SiN、SiOC、SiON、SiCNからなる。
【発明の効果】
【0009】
本発明によれば、半導体装置に対する保護性能を高くしながら、チップに含まれる半導体層への金属元素の拡散を抑制可能な半導体装置を提供することができる。
【図面の簡単な説明】
【0010】
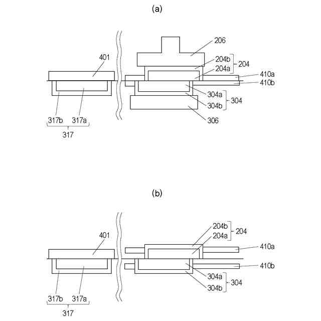
第1実施形態による半導体装置の概略平面図及び概略断面図
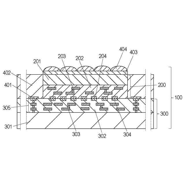
第1実施形態による半導体装置の接合部の断面模式図
第1実施形態による半導体装置の接合部の断面模式図
第1実施形態による半導体装置の製造方法を示す工程断面図
第1実施形態による半導体装置の製造方法を示す工程断面図
第1実施形態による半導体装置の製造方法を示す工程断面図
第1実施形態による半導体装置の製造方法を示す工程断面図
第2実施形態による半導体装置の概略平面図及び概略断面図
第2実施形態による半導体装置の製造方法を示す工程断面図
第2実施形態による半導体装置の製造方法を示す工程断面図
第2実施形態による半導体装置の製造方法を示す工程断面図
第2実施形態による半導体装置の製造方法を示す工程断面図
第2実施形態による半導体装置の製造方法を示す工程断面図
第3実施形態による光電変換システムの構成を示す図
第4実施形態による移動体の構成、動作を示す図
【発明を実施するための形態】
(【0011】以降は省略されています)
この特許をJ-PlatPat(特許庁公式サイト)で参照する
関連特許
キヤノン株式会社
トナー
11日前
キヤノン株式会社
トナー
11日前
キヤノン株式会社
トナー
11日前
キヤノン株式会社
測距装置
4日前
キヤノン株式会社
現像装置
9日前
キヤノン株式会社
現像容器
9日前
キヤノン株式会社
定着装置
10日前
キヤノン株式会社
現像装置
9日前
キヤノン株式会社
記録装置
9日前
キヤノン株式会社
現像容器
9日前
キヤノン株式会社
現像装置
2日前
キヤノン株式会社
撮影装置
9日前
キヤノン株式会社
モジュール
11日前
キヤノン株式会社
情報処理装置
9日前
キヤノン株式会社
画像形成装置
3日前
キヤノン株式会社
カートリッジ
9日前
キヤノン株式会社
画像形成装置
10日前
キヤノン株式会社
画像形成装置
10日前
キヤノン株式会社
画像形成装置
9日前
キヤノン株式会社
画像形成装置
9日前
キヤノン株式会社
画像形成装置
9日前
キヤノン株式会社
画像形成装置
9日前
キヤノン株式会社
画像形成装置
3日前
キヤノン株式会社
画像処理装置
9日前
キヤノン株式会社
画像形成装置
3日前
キヤノン株式会社
画像形成装置
10日前
キヤノン株式会社
画像形成装置
5日前
キヤノン株式会社
画像形成装置
2日前
キヤノン株式会社
電子写真装置
2日前
キヤノン株式会社
画像形成装置
5日前
キヤノン株式会社
画像形成装置
2日前
キヤノン株式会社
映像表示装置
11日前
キヤノン株式会社
カートリッジ
9日前
キヤノン株式会社
画像形成装置
2日前
キヤノン株式会社
放射線撮影装置
11日前
キヤノン株式会社
振動型駆動装置
9日前
続きを見る
他の特許を見る