TOP
|
特許
|
意匠
|
商標
特許ウォッチ
Twitter
他の特許を見る
公開番号
2025155809
公報種別
公開特許公報(A)
公開日
2025-10-14
出願番号
2025001731
出願日
2025-01-06
発明の名称
手術用装具
出願人
学校法人産業医科大学
,
株式会社八光
代理人
個人
,
個人
主分類
A61B
17/02 20060101AFI20251002BHJP(医学または獣医学;衛生学)
要約
【課題】単孔式腹腔鏡手術等の内視鏡外科手術において使用する手術用装具であって、より短時間で、内視鏡と鉗子の相対的な位置関係を大きく変化させることなく内視鏡の挿入位置の変更を可能とする手術用装具を提供する。
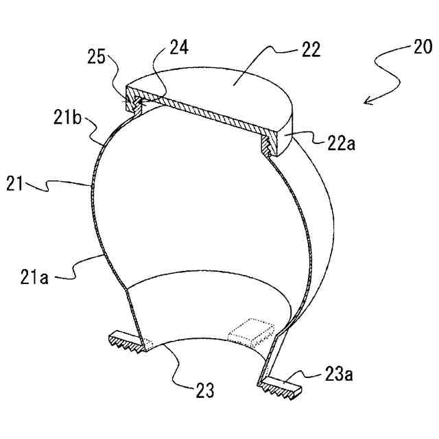
【解決手段】切開創に装着するリング状の開創器に装着する手術用装具(10)であって、開創器により保持される切開創の内径よりも大きな内径を有する筒状部(11)と、筒状部(11)の上端に設けた平板状の挿通部(12)を有し、筒状部(111)の下端を開創器に装着するための接続部(13)とし、筒状部(11)は可撓性を有して変形自在としている手術用装具とする。
【選択図】図1
特許請求の範囲
【請求項1】
切開創に装着するリング状の開創器に装着する手術用装具であって、
前記開創器により保持される切開創の内径よりも大きな内径を有する筒状部と、
前記筒状部の上端に設けた平板状の挿通部と
を有し、
前記筒状部の下端を前記開創器に装着するための接続部とし、
前記筒状部は可撓性を有して変形自在としている手術用装具。
続きを表示(約 620 文字)
【請求項2】
前記挿通部は、弾性部材よりなる板体とし、トロカールを任意の位置に挿通可能としている請求項1に記載の手術用装具。
【請求項3】
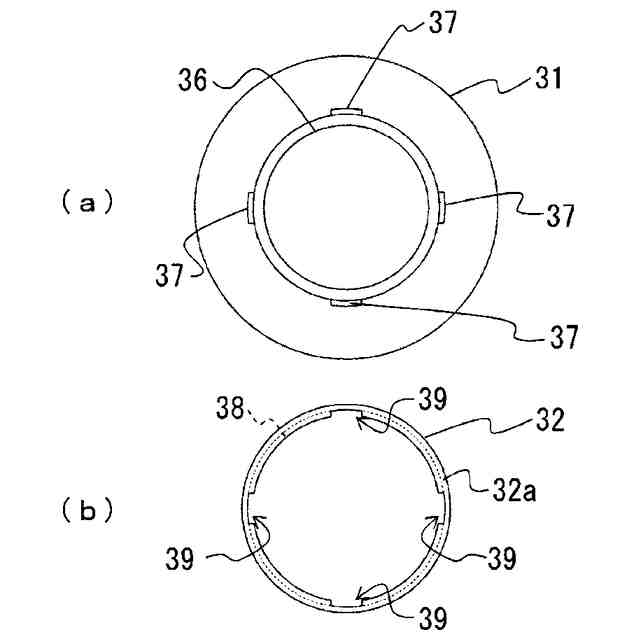
前記筒状部は、外側から内側を視認可能としている請求項1または請求項2に記載の手術用装具。
【請求項4】
前記筒状部は、前記接続部から前記挿通部に向けて拡径状とした拡径領域と、この拡径領域よりも前記挿通部側を縮径状とした縮径領域とを有する請求項3に記載の手術用装具。
【請求項5】
前記筒状部は、円筒形状を有する請求項3に記載の手術用装具。
【請求項6】
前記接続部には、外側方向に突出させた小片状のマーカーを設けている請求項3に記載の手術用装具。
【請求項7】
前記マーカーは2片で1組として、前記筒状部を挟んで対向させて配置している請求項6に記載の手術用装具。
【請求項8】
前記挿通部を前記筒状部に着脱自在としている請求項1または請求項2に記載の手術用装具。
【請求項9】
前記筒状部に、前記挿通部の外周径よりも小さい径寸法としたくびれ部を設けるとともに、前記くびれ部を前記挿通部の直下に設けている請求項1または請求項2に記載の手術用装具。
【請求項10】
前記挿通部の外周縁を、前記トロカールを挿通させる部分よりも高剛性としている請求項2に記載の手術用装具。
発明の詳細な説明
【技術分野】
【0001】
本発明は、単孔式腹腔鏡手術等の内視鏡外科手術で使用する手術用装具に関する。
続きを表示(約 1,500 文字)
【背景技術】
【0002】
従来、腹腔鏡手術では、患者の腹部に5-12mm程度の小さな切開創を複数設けて、この切開創にスコープとなる内視鏡や、鉗子あるいは通気用の通気管をそれぞれ挿し入れて所望の施術を行っている。
【0003】
このような腹腔鏡手術では、術後にそれぞれの切開創を閉塞することで傷が生じるが、複数箇所の傷の回復において差が生じることがあり、順調に回復しない傷によって患者が大きなストレスを抱えることがあった。そこで、より低侵襲とするために、昨今では、一部の施術において、単孔式腹腔鏡手術が用いられることが多くなっている。
【0004】
単孔式腹腔鏡手術では、臍の凹みを利用して腹部に一カ所だけ切開創を形成することで、術後の傷の回復が早く、また、傷が目立ちにくくなることによる美容的整容性が向上するといった利点もあることが知られている。
【0005】
最近では、単孔式腹腔鏡手術用の各種の手術用装具が提案されてきている。例えば、患者の腹部に形成した切開創には、リング状とした開創器を装着して開口状態を維持し、この開創器に着脱自在に装着可能とした半球状のドーム本体部を装着する手術用装具が提案されている(例えば、特許文献1参照。)。
【0006】
リング状とした開創器は、体腔側リングと、この体腔側リングに対向配置する体表側リングと、この体腔側リングと体表側リングの内側開口部分を連通する筒状シートとにより、いわゆるリム形状としている。体腔側リング及び筒状シートは可撓性を有し、この体腔側リングを適宜に撓ませて患者の腹部に形成した切開創に挿し入れて、体腔内で体腔側リングを展開させることで、切開創を開いた状態に維持可能としている。
【0007】
ドーム本体部には、柱状としたポートを複数立設しており、このポートに内視鏡や鉗子を挿入することで、気密状態をできるだけ維持しながら、患者の腹腔内に内視鏡や鉗子を挿入可能としている。特に、ドーム本体部やポートを構成している構成材には透明材をできるだけ使用することで、ドーム本体部越しに患者の腹腔内を視認可能としている。腹腔内には、適宜の通気管によって気体の二酸化炭素を送気することで、いわゆる気腹状態としている。
【先行技術文献】
【特許文献】
【0008】
国際公開第2014/104373号明細書
【発明の概要】
【発明が解決しようとする課題】
【0009】
昨今の腹腔鏡手術や単孔式腹腔鏡手術では、手術用ロボットが使用されている。このような手術用ロボットでは、天井方向からの吊り下げ型となっていることが多く、従前のように内視鏡や鉗子を固定用のアーム等に装着することなく、姿勢を維持することも可能となっている。さらにこのような手術用ロボットでは、内視鏡や鉗子の姿勢変更の作業が行いやすく、操作性が向上してきている。
【0010】
しかしながら、患者の腹部に設けたドーム本体部におけるポートの位置が固定されていることから、このポートの位置による規制を受けることになり、手術用ロボットにおける高い操作性が十分に活用できていないという問題があった。より具体的には、一般的に、スコープとなっている内視鏡は、尾側から挿入することが多いが、状況によっては、頭側からの映像が見たいことがある。この場合に、内視鏡と鉗子の相対的な位置関係を大きく変化させることなく、内視鏡の位置を尾側から頭側に変更することは不可能であって、この作業のために比較的長い時間を費やす必要があり、施術時間が長くなるという問題があった。
(【0011】以降は省略されています)
この特許をJ-PlatPat(特許庁公式サイト)で参照する
関連特許
学校法人産業医科大学
手術用装具
7日前
学校法人産業医科大学
傷病別受診日数推計装置および方法並びにプログラム
4か月前
個人
健康器具
8か月前
個人
短下肢装具
3か月前
個人
歯茎みが品
9か月前
個人
鼾防止用具
8か月前
個人
排尿補助器具
7日前
個人
前腕誘導装置
3か月前
個人
導電香
8か月前
個人
脈波測定方法
8か月前
個人
白内障治療法
7か月前
個人
脈波測定方法
8か月前
個人
マッサージ機
8か月前
個人
嚥下鍛錬装置
3か月前
個人
洗井間専家。
6か月前
個人
ウォート指圧法
5日前
個人
アイマスク装置
1か月前
個人
バッグ式オムツ
4か月前
個人
歯の修復用材料
4か月前
個人
ホバーアイロン
6か月前
個人
胸骨圧迫補助具
1か月前
個人
汚れ防止シート
22日前
個人
矯正椅子
4か月前
個人
哺乳瓶冷まし容器
2か月前
個人
車椅子持ち上げ器
7か月前
個人
歯の保護用シール
4か月前
三生医薬株式会社
錠剤
7か月前
個人
シャンプー
6か月前
個人
湿布連続貼り機。
2か月前
個人
陣痛緩和具
3か月前
個人
口内洗浄具
8か月前
株式会社 MTG
浴用剤
8か月前
株式会社八光
剥離吸引管
4か月前
個人
服薬支援装置
7か月前
株式会社コーセー
化粧料
4日前
株式会社大野
骨壷
3か月前
続きを見る
他の特許を見る