TOP
|
特許
|
意匠
|
商標
特許ウォッチ
Twitter
他の特許を見る
10個以上の画像は省略されています。
公開番号
2025155944
公報種別
公開特許公報(A)
公開日
2025-10-14
出願番号
2025030197
出願日
2025-02-27
発明の名称
配線回路基板、及び配線回路基板の製造方法
出願人
日東電工株式会社
代理人
個人
,
個人
,
個人
,
個人
主分類
H01L
23/12 20060101AFI20251002BHJP(基本的電気素子)
要約
【課題】配線回路基板の厚みを厚くすることなく、層間接続部の良好な電気的接続を確保する配線回路基板、配線回路基板の製造方法、配線回路基板を含む半導体パッケージ及び電子機器を提供する。
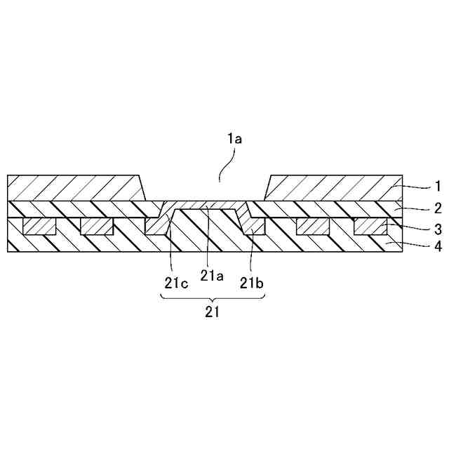
【解決手段】配線回路基板は、貫通孔を有する金属コア層1と、金属コア層の一方の面上の第一絶縁層2と、他方の面上の第二絶縁層5と、第一絶縁層の上に配された第一配線層3と、第二絶縁層の上に配された第二配線層6と、金属コア層の貫通孔を貫通し、第一配線層と第二配線層とを電気的に接続し、かつ、金属コア層とは電気的に接続しない層間接続部23と、を有し、層間接続部が、金属コア層の厚み方向に並んだ第一層間接続部21と第二層間接続部22とを有し、第一層間接続部が、絶縁層を含む層領域に位置する底面部21aと、第一配線層を含む層領域に位置し開口を有する頂面部21bと、底面部の外周部と頂面部の内周部と接続している側面部21cと、を有する。
【選択図】図1A
特許請求の範囲
【請求項1】
貫通孔を有する金属コア層と、
前記金属コア層の一方の面上に配された第一絶縁層と、
前記金属コア層の他方の面上に配された第二絶縁層と、
前記第一絶縁層の上に配された第一配線層と、
前記第二絶縁層の上に配された第二配線層と、
前記金属コア層の前記貫通孔を貫通し、前記第一配線層と前記第二配線層とを電気的に接続し、かつ前記金属コア層とは電気的に接続しない層間接続部と、
を有し、
前記層間接続部が、前記金属コア層の厚み方向に並んだ、第一層間接続部と第二層間接続部とを有し、
前記第一層間接続部が、前記第一絶縁層を含む層領域に位置する底面部と、前記第一配線層を含む層領域に位置し開口を有する頂面部と、前記底面部の外周部と前記頂面部の内周部と接続している側面部とを有し、
前記第二層間接続部が、前記金属コア層の前記貫通孔を貫通している、
配線回路基板。
続きを表示(約 940 文字)
【請求項2】
前記第一層間接続部の前記底面部の前記第二層間接続部側の面の面積が、前記第二層間接続部における前記第一層間接続部側の面の面積よりも大きい、請求項1に記載の配線回路基板。
【請求項3】
前記第一層間接続部と前記第二層間接続部とが、底面同士で接している、請求項1に記載の配線回路基板。
【請求項4】
前記第二層間接続部の厚みが、前記金属コア層の厚みの100%~140%である、請求項1に記載の配線回路基板。
【請求項5】
前記第二層間接続部の厚みが、前記第一層間接続部の厚みよりも厚い、請求項1に記載の配線回路基板。
【請求項6】
前記第一層間接続部の前記底面部の厚みが、前記第一配線層と前記第一絶縁層との合計の厚みよりも薄い、請求項1に記載の配線回路基板。
【請求項7】
前記金属コア層の厚み方向における前記第二層間接続部の断面形状が、前記第一絶縁層側の辺の長さよりも前記第二絶縁層側の辺の長さの方が長い逆台形である、請求項1に記載の配線回路基板。
【請求項8】
請求項1から7のいずれかに記載の配線回路基板を含む半導体パッケージ。
【請求項9】
請求項8に記載の半導体パッケージを含む電子機器。
【請求項10】
請求項1から7のいずれかに記載の配線回路基板を製造する、配線回路基板の製造方法であって、
金属コア層と第一絶縁層との積層体の前記第一絶縁層に貫通孔を形成する工程と、
前記貫通孔が形成された前記第一絶縁層にコンフォーマルめっきを施して、第一配線層と第一層間接続部とを形成する工程と、
前記第一層間接続部の底面部の前記金属コア層側の面が露出するように、前記金属コア層に貫通孔を形成する工程と、
前記金属コア層の面上に、前記第一層間接続部の前記底面部の一部が露出する開口部を有する第二絶縁層を形成する工程と、
前記第二絶縁層の上に、第二配線層を形成するとともに、前記第一層間接続部の前記底面部と接するように第二層間接続部を形成する工程と、
を含む、配線回路基板の製造方法。
発明の詳細な説明
【技術分野】
【0001】
本発明は、配線回路基板、及び配線回路基板の製造方法、並びに配線回路基板を含む半導体パッケージ、及び電子機器に関する。
続きを表示(約 5,200 文字)
【背景技術】
【0002】
配線回路基板は、配線などの導体部及び各種の絶縁層が基材上において積層形成されて、製造される。導体部及び絶縁層は、例えばフォトリソグラフィ法によって、パターン形成される。
【0003】
配線回路基板として、絶縁層と導体層とが交互に積層され、導体層同士が絶縁層に設けたバイアホールを介して電気的に接続されてなる多層プリント配線板において、最も外側に位置する2つの絶縁層のうちの一方の絶縁層と、該絶縁層から内側に積層された少なくとも1層の絶縁層とに設けたバイアホールからなる第1のビア群と、最も外側に位置する2つの絶縁層のうちの他方の絶縁層と、該絶縁層から内側に積層された少なくとも1層の絶縁層とに設けたバイアホールからなる第2のビア群と、を有し、前記第1のビア群および第2のビア群には、各バイアホールが前記絶縁層の厚み方向に内側に向かうにつれて縮径するテーパ形状を有し、互いに前記絶縁層の厚み方向にほぼ直交する方向にシフトされるとともに、互いに前記絶縁層の厚み方向に少なくとも一部で重なる位置関係にあるスタックビアが含まれていることを特徴とする多層プリント配線板が提案されている(特許文献1参照)。
【先行技術文献】
【特許文献】
【0004】
特開2012-156525号公報
【発明の概要】
【発明が解決しようとする課題】
【0005】
金属コア層を用いた配線回路基板の一例を図5に示す。図5に示すの配線回路基板は、貫通孔を有する金属コア層51と、金属コア層51の一方の面上に配された第一絶縁層52と、金属コア層51の他方の面上に配された第二絶縁層55と、第一絶縁層52の上に配された第一配線層53と、第二絶縁層55の上に配された第二配線層56と、第一配線層53を覆う第三絶縁層54と、第二配線層56を覆う第四絶縁層57と、金属コア層51の貫通孔を貫通し、第一配線層53と第二配線層56とを電気的に接続し、かつ金属コア層51とは電気的に接続しない層間接続部73とを有する。そして、層間接続部73は、金属コア層51の厚み方向に並んだ、第一層間接続部71と第二層間接続部72とを有する。ここで、第一層間接続部71と第二層間接続部72との位置が設計上の位置から少しずれた場合でも、第一層間接続部71と第二層間接続部72とが確実に電気的に接続するように、第一層間接続部71は第二層間接続部72よりも大きな直径を有する。
図5に示す配線回路基板の製造は、例えば、以下の工程を含む。まず、金属コア層51を用意する(図6A)。次に、金属コア層51の一方の面上に第一絶縁層52を形成する(図6B)。次に、第一絶縁層52に貫通孔52aを形成する(図6C)。次に、めっきを行う。このめっきは、第一配線層53の形成と、貫通孔52aを埋めるビアフィルめっきとを兼ねる。そうすることにより、第一層間接続部71を形成するとともに、第一絶縁層52上に第一配線層53を形成する(図6D)。次に、第一配線層53及び第一層間接続部71を覆うように第三絶縁層54を形成する(図6E)。次に、金属コア層51に、第一層間接続部71が露出するような貫通孔51aを形成する(図6F)。次に、金属コア層51の第一絶縁層52側と反対側の面に第二絶縁層55を形成し、更に、第一層間接続部71の一部が露出するように、金属コア層51の貫通孔内の第二絶縁層55に貫通孔55aを形成する(図6G)。次に、めっきを行う。このめっきは、第二配線層56の形成と、貫通孔55aを埋めるビアフィルめっきとを兼ねる。そうすることにより、第二層間接続部72を形成するとともに、第二絶縁層55上に第二配線層56を形成する(図6H)。次に、第二配線層56及び第二層間接続部72を覆うように第四絶縁層57を形成する(図6I)。以上により、図5に示す配線回路基板が得られる。
ここで、ビアフィルめっきは、埋めようとする孔の開口の大きさが大きいと、メッキ厚を厚くする必要がある。そのため、ビアフィルめっきによって大きな直径を有する第一層間接続部71を形成しようとすると、その分、同時に形成する第一配線層53の厚みも厚くなってしまう。その結果、配線回路基板の厚みが厚くなってしまう。
【0006】
本発明は、配線回路基板の厚みを厚くすることなく、層間接続部の良好な電気的接続を確保できる配線回路基板、及び当該配線回路基板の製造方法、並びに当該配線回路基板を含む半導体パッケージ、及び電子機器を提供することを目的とする。
【課題を解決するための手段】
【0007】
本発明者らは、上記の課題を解決する為、鋭意検討を行った結果、上記の課題を解決出来ることを見出し、以下の要旨を有する本発明を完成させた。
【0008】
すなわち、本発明は以下を包含する。
[1] 貫通孔を有する金属コア層と、
前記金属コア層の一方の面上に配された第一絶縁層と、
前記金属コア層の他方の面上に配された第二絶縁層と、
前記第一絶縁層の上に配された第一配線層と、
前記第二絶縁層の上に配された第二配線層と、
前記金属コア層の前記貫通孔を貫通し、前記第一配線層と前記第二配線層とを電気的に接続し、かつ前記金属コア層とは電気的に接続しない層間接続部と、
を有し、
前記層間接続部が、前記金属コア層の厚み方向に並んだ、第一層間接続部と第二層間接続部とを有し、
前記第一層間接続部が、前記第一絶縁層を含む層領域に位置する底面部と、前記第一配線層を含む層領域に位置し開口を有する頂面部と、前記底面部の外周部と前記頂面部の内周部と接続している側面部とを有し、
前記第二層間接続部が、前記金属コア層の前記貫通孔を貫通している、
配線回路基板。
[2] 前記第一層間接続部の前記底面部の前記第二層間接続部側の面の面積が、前記第二層間接続部における前記第一層間接続部側の面の面積よりも大きい、[1]に記載の配線回路基板。
[3] 前記第一層間接続部と前記第二層間接続部とが、底面同士で接している、[1]又は[2]に記載の配線回路基板。
[4] 前記第二層間接続部の厚みが、前記金属コア層の厚みの100%~140%である、[1]から[3]のいずれかに記載の配線回路基板。
[5] 前記第二層間接続部の厚みが、前記第一層間接続部の厚みよりも厚い、[1]から[4]のいずれかに記載の配線回路基板。
[6] 前記第一層間接続部の前記底面部の厚みが、前記第一配線層と前記第一絶縁層との合計の厚みよりも薄い、[1]から[5]のいずれかに記載の配線回路基板。
[7] 前記金属コア層の厚み方向における前記第二層間接続部の断面形状が、前記第一絶縁層側の辺の長さよりも前記第二絶縁層側の辺の長さの方が長い逆台形である、[1]から[6]のいずれかに記載の配線回路基板。
[8] [1]から[7]のいずれかに記載の配線回路基板を含む半導体パッケージ。
[9] [8]に記載の半導体パッケージを含む電子機器。
[10] [1]から[7]のいずれかに記載の配線回路基板を製造する、配線回路基板の製造方法であって、
金属コア層と第一絶縁層との積層体の前記第一絶縁層に貫通孔を形成する工程と、
前記貫通孔が形成された前記第一絶縁層にコンフォーマルめっきを施して、第一配線層と第一層間接続部とを形成する工程と、
前記第一層間接続部の底面部の前記金属コア層側の面が露出するように、前記金属コア層に貫通孔を形成する工程と、
前記金属コア層の面上に、前記第一層間接続部の前記底面部の一部が露出する開口部を有する第二絶縁層を形成する工程と、
前記第二絶縁層の上に、第二配線層を形成するとともに、前記第一層間接続部の前記底面部と接するように第二層間接続部を形成する工程と、
を含む、配線回路基板の製造方法。
【発明の効果】
【0009】
本発明によれば、配線回路基板の厚みを厚くすることなく、層間接続部の良好な電気的接続を確保できる配線回路基板、及び当該配線回路基板の製造方法、並びに当該配線回路基板を含む半導体パッケージ、及び電子機器を提供することができる。
【図面の簡単な説明】
【0010】
図1Aは、配線回路基板の一実施形態の概略図である。
図1Bは、配線回路基板の一実施形態の概略図である。
図2Aは、配線回路基板の製造方法の一実施形態を説明するための概略図である(その1)。
図2Bは、配線回路基板の製造方法の一実施形態を説明するための概略図である(その2)。
図2Cは、配線回路基板の製造方法の一実施形態を説明するための概略図である(その3)。
図2Dは、配線回路基板の製造方法の一実施形態を説明するための概略図である(その4)。
図2Eは、配線回路基板の製造方法の一実施形態を説明するための概略図である(その5)。
図2Fは、配線回路基板の製造方法の一実施形態を説明するための概略図である(その6)。
図2Gは、配線回路基板の製造方法の一実施形態を説明するための概略図である(その7)。
図2Hは、配線回路基板の製造方法の一実施形態を説明するための概略図である(その8)。
図2Iは、配線回路基板の製造方法の一実施形態を説明するための概略図である(その9)。
図3Aは、配線回路基板の他の一実施形態の概略図である。
図3Bは、配線回路基板の他の一実施形態の概略図である。
図4Aは、配線回路基板の製造方法の他の一実施形態を説明するための概略図である(その1)。
図4Bは、配線回路基板の製造方法の他の一実施形態を説明するための概略図である(その2)。
図4Cは、配線回路基板の製造方法の他の一実施形態を説明するための概略図である(その3)。
図4Dは、配線回路基板の製造方法の他の一実施形態を説明するための概略図である(その4)。
図4Eは、配線回路基板の製造方法の他の一実施形態を説明するための概略図である(その5)。
図4Fは、配線回路基板の製造方法の他の一実施形態を説明するための概略図である(その6)。
図4Gは、配線回路基板の製造方法の他の一実施形態を説明するための概略図である(その7)。
図4Hは、配線回路基板の製造方法の他の一実施形態を説明するための概略図である(その8)。
図4Iは、配線回路基板の製造方法の他の一実施形態を説明するための概略図である(その9)。
図4Jは、配線回路基板の製造方法の他の一実施形態を説明するための概略図である(その10)。
図4Kは、配線回路基板の製造方法の他の一実施形態を説明するための概略図である(その11)。
図4Lは、配線回路基板の製造方法の他の一実施形態を説明するための概略図である(その12)。
図5は、配線回路基板の従来例の概略図である。
図6Aは、図5に示す配線回路基板の製造方法の一例を説明するための概略図である(その1)。
図6Bは、図5に示す配線回路基板の製造方法の一例を説明するための概略図である(その2)。
図6Cは、図5に示す配線回路基板の製造方法の一例を説明するための概略図である(その3)。
図6Dは、図5に示す配線回路基板の製造方法の一例を説明するための概略図である(その4)。
図6Eは、図5に示す配線回路基板の製造方法の一例を説明するための概略図である(その5)。
図6Fは、図5に示す配線回路基板の製造方法の一例を説明するための概略図である(その6)。
図6Gは、図5に示す配線回路基板の製造方法の一例を説明するための概略図である(その7)。
図6Hは、図5に示す配線回路基板の製造方法の一例を説明するための概略図である(その8)。
図6Iは、図5に示す配線回路基板の製造方法の一例を説明するための概略図である(その9)。
【発明を実施するための形態】
(【0011】以降は省略されています)
この特許をJ-PlatPat(特許庁公式サイト)で参照する
関連特許
日東電工株式会社
積層体
10日前
日東電工株式会社
吸着材
16日前
日東電工株式会社
発光装置
17日前
日東電工株式会社
シート体
5日前
日東電工株式会社
照明装置
9日前
日東電工株式会社
電子装置
12日前
日東電工株式会社
光ファイバ
11日前
日東電工株式会社
光学積層体
1か月前
日東電工株式会社
光学積層体
1か月前
日東電工株式会社
粘着シート
9日前
日東電工株式会社
粘着シート
9日前
日東電工株式会社
粘着剤組成物
11日前
日東電工株式会社
スイッチ装置
9日前
日東電工株式会社
調光フィルム
10日前
日東電工株式会社
配線回路基板
2日前
日東電工株式会社
スイッチ装置
17日前
日東電工株式会社
温度測定装置
11日前
日東電工株式会社
温度測定装置
11日前
日東電工株式会社
粘着剤組成物
11日前
日東電工株式会社
偏光フィルム
1か月前
日東電工株式会社
表面保護シート
5日前
日東電工株式会社
光学粘着シート
18日前
日東電工株式会社
光学粘着シート
18日前
日東電工株式会社
光学粘着シート
18日前
日東電工株式会社
反射防止フィルム
16日前
日東電工株式会社
反射防止フィルム
16日前
日東電工株式会社
ロール体の製造方法
20日前
日東電工株式会社
光学積層体の製造方法
1か月前
日東電工株式会社
導光体、及び照明装置
9日前
日東電工株式会社
光学積層体の製造方法
17日前
日東電工株式会社
調光用導電性フィルム
1か月前
日東電工株式会社
光学積層体の製造方法
17日前
日東電工株式会社
延伸フィルムの製造方法
1か月前
日東電工株式会社
ウレア化合物の製造方法
24日前
日東電工株式会社
積層フィルムの製造方法
10日前
日東電工株式会社
分離機能層、及び分離膜
9日前
続きを見る
他の特許を見る