TOP
|
特許
|
意匠
|
商標
特許ウォッチ
Twitter
他の特許を見る
10個以上の画像は省略されています。
公開番号
2025156892
公報種別
公開特許公報(A)
公開日
2025-10-15
出願番号
2024059635
出願日
2024-04-02
発明の名称
画像形成装置、画像形成装置の制御方法、及びプログラム
出願人
キヤノン株式会社
代理人
弁理士法人谷・阿部特許事務所
主分類
B41J
2/21 20060101AFI20251007BHJP(印刷;線画機;タイプライター;スタンプ)
要約
【課題】 画像形成ジョブに含まれる画像以外の画像に使用されるインクの種類をジョブに含まれる画像に使用されるインクの種類に基づき変更することで、プリントヘッドに水蒸気が付着しにくい状態とする。
【解決手段】 本開示は、シートに対しインクを吐出する複数のプリントヘッドを備える画像形成装置であって、画像形成ジョブに係る画像である第1画像に使用されるインクの種類を示す情報を取得する取得手段と、前記画像形成ジョブに係る画像とは異なる第2画像に使用されるインクの種類を、前記取得手段が取得した前記第1画像に使用されるインクの種類を示す情報に基づき決定する決定手段と、前記第1画像及び前記第2画像に使用されるインクの種類に応じて前記複数のプリントヘッドそれぞれの状態を変更するよう制御するヘッド制御手段と、を備える。
【選択図】 図4
特許請求の範囲
【請求項1】
シートに対しインクを吐出する複数のプリントヘッドを備える画像形成装置であって、
画像形成ジョブに係る画像である第1画像に使用されるインクの種類を示す情報を取得する取得手段と、
前記画像形成ジョブに係る画像とは異なる第2画像に使用されるインクの種類を、前記取得手段が取得した前記第1画像に使用されるインクの種類を示す情報に基づき決定する決定手段と、
前記第1画像及び前記第2画像に使用されるインクの種類に応じて前記複数のプリントヘッドそれぞれの状態を変更するよう制御するヘッド制御手段と、
を備えることを特徴とする画像形成装置。
続きを表示(約 1,200 文字)
【請求項2】
前記第2画像は、シートにおける前記第1画像が形成される領域の外部に形成されることを特徴とする請求項1に記載の画像形成装置。
【請求項3】
前記決定手段は、前記第1画像で使用される1または複数のインクの種類を第1候補とし、前記第1候補から前記第2画像を形成するために使用されるインクの種類を決定することを特徴とする請求項1に記載の画像形成装置。
【請求項4】
前記決定手段は、予め設定されている特定のインクの種類を前記第1候補から除外して、前記第2画像で使用されるインクの種類を決定することを特徴とする請求項3に記載の画像形成装置。
【請求項5】
前記取得手段は、更に、シートから読み取ったシートの色の情報を取得し、
前記決定手段は、前記取得手段が取得した情報が示すシートの色と前記第1画像に使用されるインクの種類の情報とに基づき、前記第2画像に使用されるインクの種類を決定することを特徴とする請求項1に記載の画像形成装置。
【請求項6】
前記決定手段は、前記第1画像で使用される1または複数のインクの種類を第1候補とし、前記取得手段が取得した情報が示すシートの色との色差が所定の基準値より小さいインクの種類を前記第1候補から除外したインクの種類の中から、前記第2画像で使用されるインクの種類を決定することを特徴とする請求項5に記載の画像形成装置。
【請求項7】
前記取得手段は、更に、前記複数のプリントヘッドそれぞれから吐出される複数のインクの残量を示す情報を取得し、
前記決定手段は、前記取得手段が取得した情報が示すインクの残量と前記第1画像に使用されるインクの種類の情報とに基づき、前記第2画像に使用されるインクの種類を決定することを特徴とする請求項1に記載の画像形成装置。
【請求項8】
前記決定手段は、前記第1画像で使用される1または複数のインクの種類を第1候補とし、前記取得手段が取得した情報が示すインクの残量が所定の閾値より少ないインクの種類を前記第1候補から除外したインクの種類の中から、前記第2画像で使用されるインクの種類を決定することを特徴とする請求項7に記載の画像形成装置。
【請求項9】
前記決定手段は、更に、前記第1候補から特定のインクの種類を除外した結果、前記第1候補となるインクの種類がなくなった場合、前記複数のプリントヘッドから吐出される全てのインクの種類から前記特定のインクの種類を除外したインクの種類を第2候補とし、前記第2候補から前記第2画像を形成するために使用されるインクの種類を決定することを特徴とする請求項4、請求項6、請求項8のいずれか1項に記載の画像形成装置。
【請求項10】
前記決定手段は、シートにおける所定の単位搬送長の範囲毎に前記第2画像に使用されるインクの種類を決定することを特徴とする請求項1に記載の画像形成装置。
(【請求項11】以降は省略されています)
発明の詳細な説明
【技術分野】
【0001】
本発明は、画像形成装置におけるプリントヘッドの状態の制御に関する。
続きを表示(約 2,400 文字)
【背景技術】
【0002】
インクジェットプリンタ等の画像形成装置は、画像形成ジョブに含まれる画像データをインク色毎のデータに分解し、分解されたインク色毎のデータに基づき対応するプリントヘッドからインクを吐出することにより、シートに画像を形成する。この種の画像形成装置においては、画像形成に使用されるプリントヘッドから発生する水蒸気が他のプリントヘッドに付着し、これに起因して印刷品位が低下する問題が指摘されている。これに対し、使用されていないプリントヘッドを印刷位置から退避位置に退避させることで、水蒸気の付着を防ぐ技術が提案されている。特許文献1には、使用しないプリントヘッドを退避位置に移動させるように、ヘッド昇降機構を制御する画像形成装置が開示されている。
【先行技術文献】
【特許文献】
【0003】
特開2004-223773号公報
【発明の概要】
【発明が解決しようとする課題】
【0004】
ところで、シートに連続的に画像を形成する画像形成装置において、位置合わせ用の画像(アイマーク)がシートにおける各ページの余白領域に印刷される場合がある。このアイマークの色が、ジョブに含まれる画像データの形成に使用されるインク色と異なる場合、そのインク色に対応するヘッドの退避が出来なくなる可能性がある。例えば、ジョブに含まれる画像にはシアンインクとマゼンタインクが使用されるが、アイマークにはブラックインクが使用される場合、ブラックインクのプリントヘッドはジョブで使用されないにもかかわらず、退避できない。すると上述したように、ブラックインクのプリントヘッドに水蒸気が付着する可能性がある。
【課題を解決するための手段】
【0005】
本開示は、シートに対しインクを吐出する複数のプリントヘッドを備える画像形成装置であって、画像形成ジョブに係る画像である第1画像に使用されるインクの種類を示す情報を取得する取得手段と、前記画像形成ジョブに係る画像とは異なる第2画像に使用されるインクの種類を、前記取得手段が取得した前記第1画像に使用されるインクの種類を示す情報に基づき決定する決定手段と、前記第1画像及び前記第2画像に使用されるインクの種類に応じて前記複数のプリントヘッドそれぞれの状態を変更するよう制御するヘッド制御手段と、を備える。
【発明の効果】
【0006】
本開示によれば、画像形成ジョブ以外の画像形成に使用されるインクの種類を画像形成ジョブに使用されるインクの種類に基づき変更できる。これにより、プリントヘッドに水蒸気が付着しにくい状態とすることが可能となる。
【図面の簡単な説明】
【0007】
画像形成システムの構成例を示す図である。
画像形成システムの制御構成を示すブロック図である。
プリントヘッドの状態を示す図である。
プリントヘッドの位置の制御に関する機能構成を示す図である。
画像形成処理の流れを示すフローチャートである。
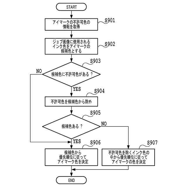
第1の実施形態におけるアイマーク色の決定処理の流れを説明するフローチャートである。
プリントヘッドの位置とページ毎の画像形成物の比較例を示す図である。
第1の実施形態の処理により決定されたページ毎のアイマークの色と、プリントヘッドの位置を示す図である。
第2の実施形態におけるアイマークの色の決定処理の流れを示すフローチャートである。
第2の実施形態の処理により決定されたページ毎のアイマークの色と、プリントヘッドの位置を示す図である。
第3の実施形態におけるアイマークの色の決定処理の流れを示すフローチャートである。
アイマークに使用されるインク色がブラック、マゼンタに制限されている場合の、プリントヘッドの位置とページ毎の画像形成物を示す図である。
第4の実施形態におけるアイマークの色の決定処理の流れを示すフローチャートである。
シートの色に応じて決定されたプリントヘッドの位置とページ毎の画像形成物を示す図である。
第5の実施形態におけるアイマークの色の決定処理の流れを示すフローチャートである。
第6の実施形態におけるアイマークの色の決定処理の流れを示すフローチャートである。
第7の実施形態におけるアイマークの色の決定処理の流れを示すフローチャートである。
【発明を実施するための形態】
【0008】
以下、添付図面を参照して本発明の好適な実施の形態を詳しく説明する。尚、以下の実施の形態は特許請求の範囲に係る本発明を限定するものでなく、また本実施の形態で説明されている特徴の組み合わせの全てが本発明の解決手段に必須のものとは限らない。
【0009】
図1は、本実施形態に係る画像形成システム1の構成例を示す図である。画像形成システム1は、例えばロール紙等の連続した記録媒体(以下、連続シート150という)に対し、連続的な画像形成が可能な装置である。画像形成システム1は、給紙装置110、画像形成装置100、巻取装置120、操作パネル140、制御用PC130を有する。
【0010】
本明細書において、記録媒体は、一般的な画像形成装置で用いられる紙のみならず、広く、ビニール、布、プラスチック・フィルム、金属板、ガラス、セラミックス、木材、皮革等、インクを受容可能なものも表すシートとする。また、剥離紙にラベルが貼付されたラベルシートであってもよい。
(【0011】以降は省略されています)
この特許をJ-PlatPat(特許庁公式サイト)で参照する
関連特許
キヤノン株式会社
トナー
9日前
キヤノン株式会社
トナー
9日前
キヤノン株式会社
トナー
9日前
キヤノン株式会社
トナー
14日前
キヤノン株式会社
電子機器
1か月前
キヤノン株式会社
定着装置
1か月前
キヤノン株式会社
撮影装置
7日前
キヤノン株式会社
定着装置
22日前
キヤノン株式会社
測距装置
2日前
キヤノン株式会社
現像容器
7日前
キヤノン株式会社
定着装置
1か月前
キヤノン株式会社
撮像装置
1か月前
キヤノン株式会社
定着装置
1か月前
キヤノン株式会社
現像装置
7日前
キヤノン株式会社
現像容器
7日前
キヤノン株式会社
定着装置
8日前
キヤノン株式会社
撮像装置
10日前
キヤノン株式会社
定着装置
28日前
キヤノン株式会社
現像装置
7日前
キヤノン株式会社
記録装置
29日前
キヤノン株式会社
記録装置
1か月前
キヤノン株式会社
撮像装置
28日前
キヤノン株式会社
電子機器
1か月前
キヤノン株式会社
電子機器
16日前
キヤノン株式会社
記録装置
7日前
キヤノン株式会社
撮像装置
22日前
キヤノン株式会社
収容装置
22日前
キヤノン株式会社
撮像装置
29日前
キヤノン株式会社
記録装置
14日前
キヤノン株式会社
撮像装置
14日前
キヤノン株式会社
表示装置
21日前
キヤノン株式会社
発光装置
21日前
キヤノン株式会社
電子機器
22日前
キヤノン株式会社
電子機器
22日前
キヤノン株式会社
電子機器
18日前
キヤノン株式会社
半導体装置
16日前
続きを見る
他の特許を見る