TOP
|
特許
|
意匠
|
商標
特許ウォッチ
Twitter
他の特許を見る
公開番号
2025157968
公報種別
公開特許公報(A)
公開日
2025-10-16
出願番号
2024060361
出願日
2024-04-03
発明の名称
駆動制御装置
出願人
株式会社JVCケンウッド
代理人
IAT弁理士法人
主分類
B62M
6/45 20100101AFI20251008BHJP(鉄道以外の路面車両)
要約
【課題】自転車が危険な運転を行っている、または、行おうとしていることが検出された場合、電動アシスト機能のモータの制御を利用して、自転車の運転者に注意を促す。
【解決手段】 駆動制御装置1は、自転車の走行状態情報を取得する走行状態情報取得部21と、走行状態情報取得部21により取得された走行状態情報に基づいて、自転車が不適切に運転されている状態、または、不適切に運転が開始されようとしている状態を検出し、自転車の運転者に対して注意喚起が必要な状態であるか判定する走行状態判定部25と、走行状態情報取得部21により取得された走行状態情報、および走行状態判定部25による走行状態判定結果に含まれる抑制駆動力の発生の指令に基づいて、自転車の推進を抑制する抑制駆動力を発生させるよう、モータ16を制御する抑制駆動力制御部26とを有する。
【選択図】図1
特許請求の範囲
【請求項1】
電動アシスト駆動を有する自転車のモータの駆動を制御する駆動制御装置において、
前記自転車の走行状態情報を取得する走行状態情報取得部と、
前記走行状態情報取得部により取得された前記走行状態情報に基づいて、前記自転車が不適切に運転されている状態、または、不適切に運転が開始されようとしている状態を検出し、前記自転車の運転者に対して注意喚起が必要な状態であるか判定する走行状態判定部と、
前記走行状態情報取得部により取得された前記走行状態情報、および前記走行状態判定部による走行状態判定結果に含まれる抑制駆動力の発生の指令に基づいて、前記自転車の推進を抑制する前記抑制駆動力を発生させるよう、前記モータを制御する抑制駆動力制御部と
を有することを特徴とする駆動制御装置。
続きを表示(約 740 文字)
【請求項2】
請求項1に記載の駆動制御装置であって、
前記自転車の位置情報を取得する位置情報取得部と、
走行制限のあるエリアと、前記エリアごとの前記走行制限の内容を示す走行制限情報を取得する走行制限情報取得部と
をさらに備え、
前記走行状態判定部は、前記走行状態情報取得部により取得された前記走行状態情報に加え、前記位置情報取得部により取得された前記位置情報、および前記走行制限情報取得部により取得された前記走行制限情報に基づいて、前記自転車が不適切に運転されている状態、または、不適切に運転が開始されようとしている状態を検出し、前記自転車の前記運転者に対して注意喚起が必要な状態であるかを判定する
ことを特徴とする駆動制御装置。
【請求項3】
請求項1に記載の駆動制御装置であって、
前記走行状態判定部は、前記自転車の前記運転者に関する情報に基づいて、前記自転車が不適切に運転されている状態、または、不適切に運転が開始されようとしている状態の検出条件を変更する
ことを特徴とする駆動制御装置。
【請求項4】
請求項1に記載の駆動制御装置であって、
前記抑制駆動力制御部は、前記自転車の前記運転者に関する情報に基づいて、前記抑制駆動力の制御を変更する
ことを特徴とする駆動制御装置。
【請求項5】
請求項1に記載の駆動制御装置であって、
前記抑制駆動力制御部は、前記自転車が所定の速度以上で走行していた場合、所定期間が経過するまで、前記抑制駆動力より小さく調整した抑制駆動力が発生されるよう、前記モータを制御する
ことを特徴とする駆動制御装置。
発明の詳細な説明
【技術分野】
【0001】
本発明は、駆動制御装置に関する。
続きを表示(約 1,700 文字)
【背景技術】
【0002】
近年、電動アシスト機能を有する自転車が広く利用されている。電動アシスト機能を有する自転車は、推進力の補助となるモータを有し、ペダルを踏む力を検出するトルクセンサの検出信号に応じて、電動補助力を調整して、自転車の推進力を補助、すなわち、アシストする機能を有している。また、電動アシスト機能を有する自転車には、ブレーキレバーの操作時や、ペダルの空転時などの減速時や運転者に負荷がかからない状況において、モータを発電機として動作させ、エネルギー回収を行い、バッテリを充電する回生機能を有するものがある。回生機能により自転車の推進を抑制する力が働くが、あくまでもバッテリの充電を目的とするものであり、自転車の推進を妨げたり、車輪の駆動を強く抑制して転倒などを引き起こすものであってはならない。
【0003】
ここで、使用者のレバー操作量に対応して調整された適度な回生ブレーキをかける技術がある(例えば、特許文献1)。
【先行技術文献】
【特許文献】
【0004】
特開2011-83081号公報
【発明の概要】
【発明が解決しようとする課題】
【0005】
上述した特許文献1の技術は、人力ブレーキの機能に支障をきたすことなく、使用者のレバー操作量に対応して調整された適度な回生ブレーキを実現し、効率よくバッテリを充電するものである。回生ブレーキが機能している間は、モータを発電機として利用するので、自転車の推進を補助する電動アシスト機能とは逆に、自転車の推進を抑制する力を扱うものである。
【0006】
しかしながら、上述した特許文献1に記載の技術をはじめとする従来の回生ブレーキによる自転車の推進の抑制は、あくまでもバッテリの充電を目的とするものであり、自転車の安全な運転を補助するものではない。また、自動車では一般的になりつつある自動ブレーキ機能であるが、自転車では、急激な自動ブレーキが働くと後輪が浮く、いわゆるジャックナイフ状態などを引き起こし運転者が反応できない可能性がある。一般に自転車にはシートベルトなどがないため、自動車と同様の考え方の自動ブレーキシステムを容易に実現することはできない。
【0007】
本発明は、かかる問題に鑑みてなされたものであり、自転車が危険な運転を行っている、または、行おうとしていることが検出された場合、電動アシスト機能のモータの制御を利用して、自転車の運転者に注意を促すことを可能とする、駆動制御装置を提供するものである。
【課題を解決するための手段】
【0008】
本発明の駆動制御装置の一側面は、自転車の走行状態情報を取得する走行状態情報取得部と、走行状態情報取得部により取得された走行状態情報に基づいて、自転車が不適切に運転されている状態、または、不適切に運転が開始されようとしている状態を検出し、自転車の運転者に対して注意喚起が必要な状態であるか判定する走行状態判定部と、走行状態情報取得部により取得された走行状態情報、および走行状態判定部による走行状態判定結果に含まれる抑制駆動力の発生の指令に基づいて、自転車の推進を抑制する抑制駆動力を発生させるよう、モータを制御する抑制駆動力制御部とを有することを特徴とする。
【発明の効果】
【0009】
本発明によると、自転車が危険な運転を行っている、または、行おうとしていることが検出された場合、回生機能を利用して、自転車の運転者に注意を促すことができる。
【図面の簡単な説明】
【0010】
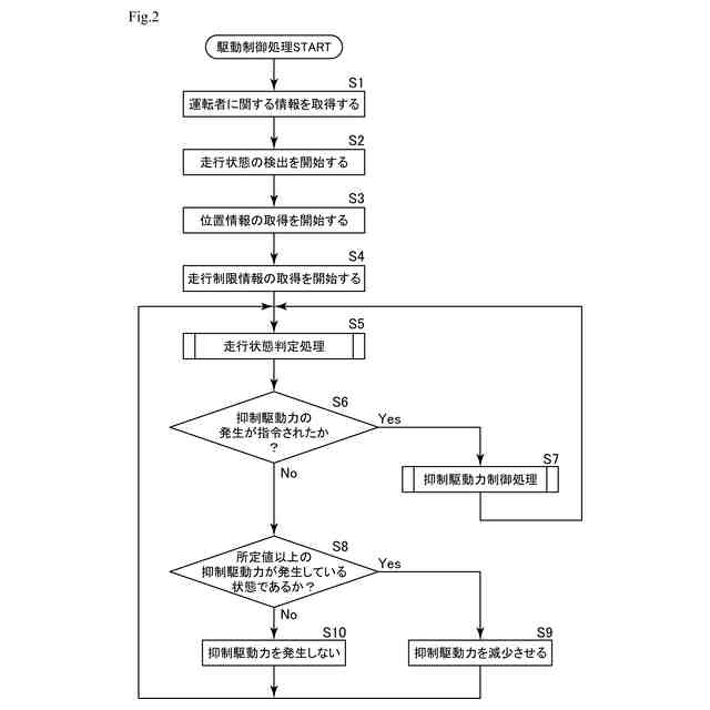
図1は、駆動制御装置1の機能ブロック図である。
図2は、駆動制御処理について説明するためのフローチャートである。
図3は、走行状態判定処理について説明するためのフローチャートである。
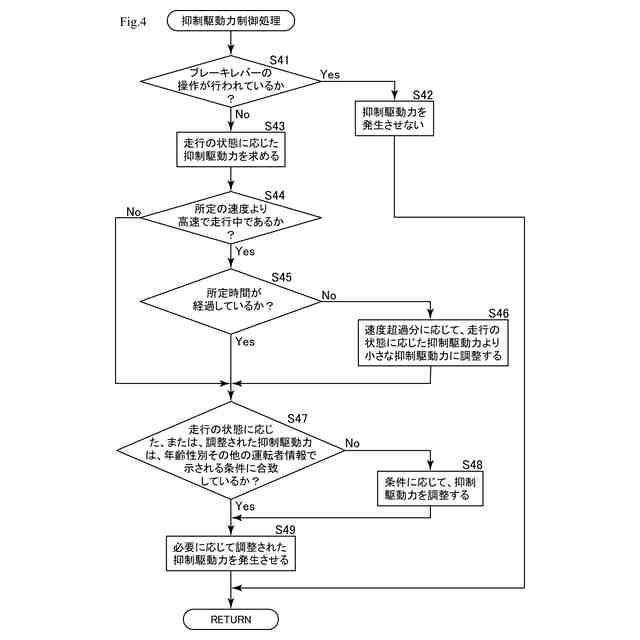
図4は、抑制駆動力制御処理について説明するためのフローチャートである。
【発明を実施するための形態】
(【0011】以降は省略されています)
この特許をJ-PlatPat(特許庁公式サイト)で参照する
関連特許
個人
カート
3か月前
個人
走行装置
3か月前
個人
電動走行車両
3か月前
個人
乗り物
5か月前
個人
駐輪設備
1か月前
個人
発音装置
7か月前
個人
閂式ハンドル錠
3か月前
個人
電動モビリティ
7か月前
個人
折り畳み自転車
10か月前
個人
自転車用歩数計
2日前
個人
自転車用傘捕捉具
11か月前
個人
ボギー・フレーム
1か月前
個人
三輪電動車両
2日前
個人
ルーフ付きトライク
1か月前
個人
“zen-go.”
2か月前
個人
自由方向乗車自転車
7か月前
個人
ルーフ付きトライク
2か月前
個人
体重掛けリフト台車
11か月前
個人
アタッチメント
11か月前
個人
パワーアシスト自転車
1か月前
個人
自転車用荷物台
11か月前
個人
キャンピングトライク
8か月前
株式会社CPM
駐輪機
11か月前
個人
ステアリングの操向部材
9か月前
株式会社三五
リアサブフレーム
10か月前
株式会社豊田自動織機
産業車両
4か月前
個人
フロントフットブレーキ。
4か月前
学校法人千葉工業大学
車両
10か月前
豊田鉄工株式会社
小型車両
3か月前
個人
ホイールハブ駆動構造
4か月前
学校法人千葉工業大学
車両
10か月前
学校法人千葉工業大学
車両
10か月前
個人
乗用自動車のディフューザー
22日前
豊田合成株式会社
操舵装置
12か月前
個人
ハブモーターの配線構造
28日前
個人
二輪車の三次元折りたたみ機構
2か月前
続きを見る
他の特許を見る