TOP
|
特許
|
意匠
|
商標
特許ウォッチ
Twitter
他の特許を見る
10個以上の画像は省略されています。
公開番号
2025158397
公報種別
公開特許公報(A)
公開日
2025-10-17
出願番号
2024060900
出願日
2024-04-04
発明の名称
全館空調システム
出願人
三菱電機株式会社
代理人
個人
主分類
F24F
11/74 20180101AFI20251009BHJP(加熱;レンジ;換気)
要約
【課題】太陽光発電システムを備える住宅において、余剰電力が変動する場合でも、決められた期間において少なくとも1つの部屋の空調を安定的に継続することができる全館空調システムを得ること。
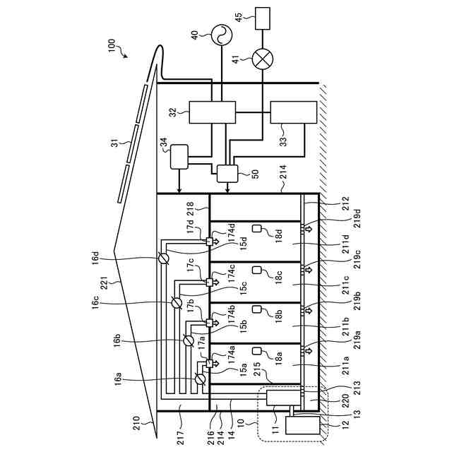
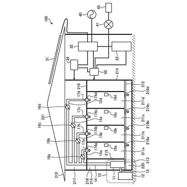
【解決手段】全館空調システムは、空調機と、空調機に接続される主ダクトと、主ダクトから分岐して複数の部屋に通じる複数の分岐ダクトと、分岐ダクトを開状態または閉状態に切り替えるダンパーと、空調制御ユニットと、を備える。空調制御ユニットは、決められた期間における太陽光発電システムでの発電量および蓄電池の残電力量のうち買電することなく空調で使用可能な電力量を算出し、決められた期間および空調で使用可能な電力量の範囲で、予め決められた部屋を含む少なくとも1つの部屋で空調を継続することができるようにダンパーの開閉を制御する。これによって、決められた部屋にユーザがいつ移動してもユーザへ不快感を与えることがない。
【選択図】図1
特許請求の範囲
【請求項1】
太陽光発電システムから供給される発電電力または蓄電池の残電力で動作可能な空調機と、
前記空調機に接続される主ダクトと、
前記主ダクトから分岐して複数の部屋に通じる複数の分岐ダクトと、
前記複数の分岐ダクトの少なくとも1つに設けられ、前記分岐ダクトを開状態または閉状態に切り替えるダンパーと、
前記空調機の動作と前記ダンパーの切り替え状態とを制御する空調制御ユニットと、
を備え、
前記空調制御ユニットは、第1時点から第2時点までの決められた期間における太陽光発電システムでの発電量および前記蓄電池の残電力量のうち、前記決められた期間において買電することなく空調で使用可能な電力量を算出し、前記決められた期間および前記空調で使用可能な電力量の範囲で、前記複数の部屋のうち予め決められた部屋を含む少なくとも1つの部屋で空調を継続することができるように前記ダンパーの開閉を制御することを特徴とする全館空調システム。
続きを表示(約 1,600 文字)
【請求項2】
前記空調制御ユニットは、
前記決められた期間における日射量、気温情報を含む気象情報から、前記決められた期間における前記太陽光発電システムの発電量を予測する発電量予測部と、
前記蓄電池の残電力量および前記発電量予測部で予測された前記発電量と、前記複数の部屋を有する建築物内での前記空調機以外での消費電力量の予測値と、から前記決められた期間において買電することなく空調で使用可能な電力量を算出し、前記決められた期間および前記空調で使用可能な電力量の範囲で、前記複数の部屋のうち予め決められた部屋を含む少なくとも1つの部屋で前記決められた期間において空調を継続することができるように前記ダンパーの開閉を制御するダンパー制御部と、
を有することを特徴とする請求項1に記載の全館空調システム。
【請求項3】
前記ダンパー制御部は、
前記残電力量と予測された前記発電量とから、前記第1時点から前記第2時点までを複数の時間帯に分割したときの前記複数の時間帯のそれぞれでの使用可能な電力量である使用可能電力予測値を算出する使用可能電力予測部と、
前記建築物での過去の消費電力量に基づいて、前記複数の時間帯のそれぞれでの前記空調以外で使用される消費電力量である空調以外消費電力予測値を予測する消費電力予測部と、
前記複数の時間帯のそれぞれにおいて、前記使用可能電力予測値から前記空調以外消費電力予測値を減算した空調使用可能電力予測値を予測する空調使用可能電力予測部と、
前記複数の時間帯のそれぞれでの前記空調機で予測される消費電力量である空調消費電力予測値と前記空調使用可能電力予測値とを用いて、前記決められた期間において空調を継続する前記複数の部屋のうち予め決められた部屋を含む少なくとも1つの部屋を決定し、決定した前記部屋にのみ前記空調機で空調された空気が吹き出されるように前記ダンパーの開閉を制御するダンパー開閉判定部と、
を有することを特徴とする請求項2に記載の全館空調システム。
【請求項4】
前記空調制御ユニットは、前記空調機の動作を制御する空調機制御部をさらに有し、
前記ダンパー開閉判定部は、前記ダンパーの開閉状態を示すダンパー状態情報を前記空調機制御部に送信し、
前記空調機制御部は、前記ダンパー状態情報に基づいて、空調を行う部屋の数に応じて前記空調機の出力を制御することを特徴とする請求項3に記載の全館空調システム。
【請求項5】
前記ダンパー制御部は、前記複数の部屋のうち、空調が必要な部屋である要空調部屋、および前記要空調部屋以外の部屋の分類と、前記要空調部屋以外の部屋における空調の優先度と、を含む優先度情報に基づいて、前記決められた期間および前記空調で使用可能な電力量の範囲で空調を継続可能な部屋として前記予め決められた部屋を含む少なくとも1つの部屋を決定することを特徴とする請求項2に記載の全館空調システム。
【請求項6】
前記空調制御ユニットは、音声情報を出力する報知装置をさらに備え、
前記ダンパー制御部は、前記決められた期間において前記予め決められた部屋での空調を維持することができない場合に、アラームを前記報知装置から出力することを特徴とする請求項2から5のいずれか1つに記載の全館空調システム。
【請求項7】
前記空調制御ユニットは、情報を表示する表示装置をさらに備え、
前記ダンパー制御部は、買電電力量を前記表示装置に表示することを特徴とする請求項6に記載の全館空調システム。
【請求項8】
前記空調制御ユニットは、情報を表示する表示装置をさらに備え、
前記ダンパー制御部は、買電なしで空調を維持可能な時間を算出し、算出した結果を前記表示装置に表示することを特徴とする請求項6に記載の全館空調システム。
発明の詳細な説明
【技術分野】
【0001】
本開示は、住宅内の区画された複数の空間の空調を1つの空調機で行う全館空調システムに関する。
続きを表示(約 2,100 文字)
【背景技術】
【0002】
全館空調システムは、住宅内の各部屋に個別に空調機を設置する代わりに、出力の大きい1つの空調機を住宅に設置して、居室、トイレ、脱衣所を含む住宅全体の各部屋に接続されたダクトを介して送出口から空調機によって空調された空気を送ることで住宅全体の空調を実施するシステムである。このような全館空調システムは、冬季に発生しやすいヒートショックを抑制できるなど健康面でも優れている。一方、近年では、太陽光発電システムなどの再生可能エネルギを利用する住宅が一般的になりつつある。また、太陽光発電システムによる発電電力に余剰電力が生じた場合に、低価格で売電するよりも自家消費する傾向にあり、余剰電力分で空調システムを動作させるシステムを搭載する事例が、特許文献1に空調システムコントローラとして開示されている。
【0003】
特許文献1に記載された空調システムコントローラでは、太陽光発電システムの現在の発電状況と家屋での現在の消費電力との差から余剰電力を算出し、余剰電力で人が存在する在居室に対して目標空調環境となるように空調制御を行い、さらに余剰電力がある場合には人が存在しない不在居室に対して目標空調環境よりもエネルギ負荷の低い条件に変更して空調制御を行うことによって、エネルギ効率の高い空調制御システムを提供している。
【先行技術文献】
【特許文献】
【0004】
特許第7022906号公報
【発明の概要】
【発明が解決しようとする課題】
【0005】
しかしながら、特許文献1に記載の技術では、現在の発電状況と現在の消費電力との差の余剰電力を用いて空調制御を行っているため、将来にわたって部屋の目標空調環境を維持できるか不明であるという問題点があった。具体的には、太陽光発電の発電状況は天候に左右されるため、余剰電力が変動するが、特許文献1に記載の技術では、余剰電力の将来にわたる変動が考慮されずに複数の部屋の空調を制御するため、余剰電力の変動によって目標空調環境を維持できない部屋が多数発生してしまう可能性がある。つまり、特許文献1に記載の技術では、余剰電力のみで安定的に空調を継続することが困難であるという問題があった。
【0006】
本開示は、上記に鑑みてなされたものであって、太陽光発電システムを備える住宅において、余剰電力が変動する場合でも、決められた期間において少なくとも1つの部屋の空調を安定的に継続することができる全館空調システムを得ることを目的とする。
【課題を解決するための手段】
【0007】
上述した課題を解決し、目的を達成するために、本開示の全館空調システムは、太陽光発電システムから供給される発電電力または蓄電池の残電力で動作可能な空調機と、空調機に接続される主ダクトと、主ダクトから分岐して複数の部屋に通じる複数の分岐ダクトと、複数の分岐ダクトの少なくとも1つに設けられ、分岐ダクトを開状態または閉状態に切り替えるダンパーと、空調機の動作とダンパーの切り替え状態とを制御する空調制御ユニットと、を備える。空調制御ユニットは、第1時点から第2時点までの決められた期間における太陽光発電システムでの発電量および蓄電池の残電力量のうち、決められた期間において買電することなく空調で使用可能な電力量を算出し、決められた期間および空調で使用可能な電力量の範囲で、複数の部屋のうち予め決められた部屋を含む少なくとも1つの部屋で空調を継続することができるようにダンパーの開閉を制御する。
【発明の効果】
【0008】
本開示によれば、太陽光発電システムを備える住宅において、余剰電力が変動する場合でも、決められた期間において少なくとも1つの部屋の空調を安定的に継続することができるという効果を奏する。
【図面の簡単な説明】
【0009】
実施の形態1に係る全館空調システムを住宅に適用した場合の構成の一例を示す図
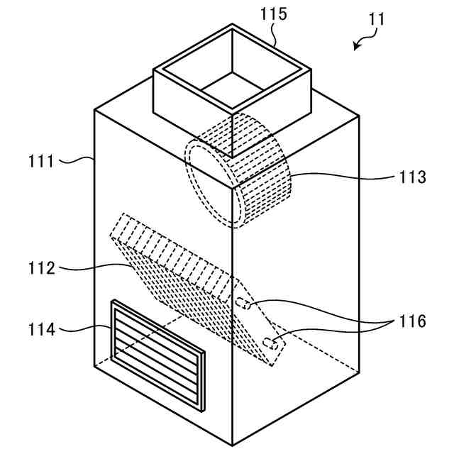
室内機の構成の一例を示す斜視図
可変風量装置の構成の一例を示す斜視図
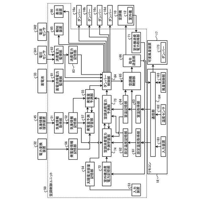
実施の形態1に係る全館空調システムの空調制御ユニットの機能構成の一例を示すブロック図
実施の形態1に係る全館空調システムのダンパー制御部の機能構成の一例を示すブロック図
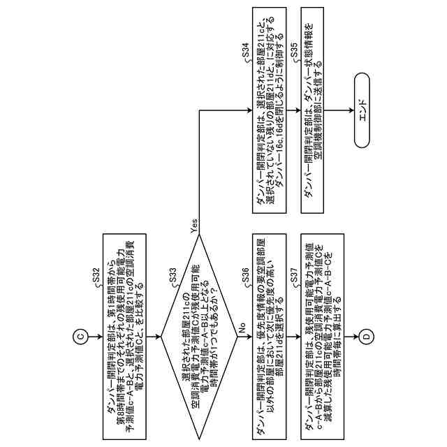
ダンパー制御部の動作の一例を示すフローチャート
ダンパー制御部の動作の一例を示すフローチャート
ダンパー制御部の動作の一例を示すフローチャート
ダンパー制御部の動作の一例を示すフローチャート
ダンパー制御部の動作の一例を示すフローチャート
実施の形態1に係る全館空調システムの空調制御ユニットを実現するハードウェア構成の一例を模式的に示す図
【発明を実施するための形態】
【0010】
以下に、本開示の実施の形態に係る全館空調システムを図面に基づいて詳細に説明する。
(【0011】以降は省略されています)
この特許をJ-PlatPat(特許庁公式サイト)で参照する
関連特許
三菱電機株式会社
換気扇
5日前
三菱電機株式会社
換気扇
5日前
三菱電機株式会社
換気扇
5日前
三菱電機株式会社
電子機器
6日前
三菱電機株式会社
収集装置
3日前
三菱電機株式会社
半導体装置
11日前
三菱電機株式会社
照明システム
11日前
三菱電機株式会社
誘導加熱調理器
5日前
三菱電機株式会社
レンズモジュール
3日前
三菱電機株式会社
全館空調システム
3日前
三菱電機株式会社
電流切替型DAC
11日前
三菱電機株式会社
保護継電器及び配電盤
5日前
三菱電機株式会社
点灯装置および照明器具
3日前
三菱電機株式会社
車両空調機用診断システム
6日前
三菱電機株式会社
測位システムおよび固定局
4日前
三菱電機株式会社
半導体ウェハの外観検査装置
4日前
三菱電機株式会社
監視装置、および監視システム
12日前
三菱電機株式会社
加熱調理器及び加熱調理システム
12日前
三菱電機株式会社
照明器具および照明器具の製造方法
13日前
三菱電機株式会社
換気装置、送風装置および制御装置
11日前
三菱電機株式会社
選択支援装置、方法、及びプログラム
10日前
三菱電機株式会社
半導体装置および半導体装置の製造方法
13日前
三菱電機株式会社
ゲート制御型ダイオードおよび電子回路
3日前
三菱電機株式会社
設計支援システム及び設計支援プログラム
11日前
三菱電機株式会社
制御装置、制御方法、および、プログラム
3日前
三菱電機株式会社
学習環境提案装置および学習環境提案方法
3日前
三菱電機株式会社
冷凍装置を備えた機器およびショーケース
10日前
三菱電機株式会社
温度調節機能付き換気装置及び換気システム
11日前
三菱電機株式会社
情報処理装置、プログラム及び情報処理方法
11日前
三菱電機株式会社
電力変換装置および電力変換装置の制御方法
17日前
三菱電機株式会社
監視システム、監視方法及び監視プログラム
11日前
三菱電機株式会社
データ取得装置および照明装置の点検システム
12日前
三菱電機株式会社
集中度特性判定装置および集中度特性判定方法
4日前
三菱電機株式会社
合流予測装置、車両制御装置、及び合流予測方法
5日前
三菱電機株式会社
アキュムレータ用支持体、室外機、及び空調装置
3日前
三菱電機株式会社
半導体装置の製造方法及び半導体ウェハ用のシート
4日前
続きを見る
他の特許を見る