TOP
|
特許
|
意匠
|
商標
特許ウォッチ
Twitter
他の特許を見る
10個以上の画像は省略されています。
公開番号
2025150155
公報種別
公開特許公報(A)
公開日
2025-10-09
出願番号
2024050889
出願日
2024-03-27
発明の名称
設計支援システム及び設計支援プログラム
出願人
三菱電機株式会社
代理人
弁理士法人きさ特許商標事務所
主分類
G06F
30/18 20200101AFI20251002BHJP(計算;計数)
要約
【課題】空調システムの設備設計を簡略化することが可能な設計支援システム及び設計支援プログラムを提供することを目的とする。
【解決手段】空調システムの設計を支援する設計支援システムであって、空調システムが設置される建物及び部屋に関する条件の入力に用いられる操作装置と、操作装置を介して入力された条件に基づき空調システムを構成する複数の機器を選定し、選定した複数の機器と、複数の機器を接続するダクトと、を示すシンボルを生成する制御装置と、建物の間取り図内にシンボルが配置された配置画面を表示する表示装置と、を備えるものである。
【選択図】図2
特許請求の範囲
【請求項1】
空調システムの設計を支援する設計支援システムであって、
前記空調システムが設置される建物及び部屋に関する条件の入力に用いられる操作装置と、
前記操作装置を介して入力された前記条件に基づき前記空調システムを構成する複数の機器を選定し、選定した複数の前記機器と、複数の前記機器を接続するダクトと、を示すシンボルを生成する制御装置と、
前記建物の間取り図内に前記シンボルが配置された配置画面を表示する表示装置と、を備える設計支援システム。
続きを表示(約 1,100 文字)
【請求項2】
前記制御装置は、
前記部屋の床面積に基づき前記部屋の熱負荷を算出し、
前記部屋の前記熱負荷に基づき前記部屋の目安風量を算出し、
前記目安風量に基づいて、前記機器の機種及び数を選定する請求項1に記載の設計支援システム。
【請求項3】
前記制御装置は、選定された前記機器の仕様情報に基づき、予め記憶された複数の前記ダクトの配管パターンから前記機器に適合する配管パターンを選択し、前記シンボルを生成する請求項1又は2に記載の設計支援システム。
【請求項4】
前記配置画面上の前記シンボルに含まれる前記機器の位置は、前記操作装置によって移動可能である請求項1又は2に記載の設計支援システム。
【請求項5】
前記制御装置は、前記操作装置による前記機器の位置の変更、又は前記ダクトの曲がりの追加もしくは削除に応じて、前記シンボルにおける前記ダクトの長さ及び前記曲がりを変更する請求項4に記載の設計支援システム。
【請求項6】
前記制御装置は、
前記配置画面における前記シンボルの配置に基づき前記空調システムの圧力損失を算出し、
前記圧力損失が予め設定された閾値より大きい場合、前記シンボルにおける前記圧力損失が最も大きい経路の表示を変更する請求項1又は2に記載の設計支援システム。
【請求項7】
前記表示装置は、前記配置画面に、前記圧力損失又は前記機器の設置に関する注意を表示する請求項6に記載の設計支援システム。
【請求項8】
前記制御装置は、
前記操作装置を介して配管解除が指示された場合、前記シンボルにおける前記ダクトを削除し、
前記操作装置を介して自動配管が指示された場合、前記シンボルに前記ダクトを追加する請求項1又は2に記載の設計支援システム。
【請求項9】
前記制御装置は、前記配管解除が指示された後に、新たな機器の追加又は前記機器の変更の指示があった場合であって、前記自動配管が指示された場合、追加又は変更された前記機器を含む前記シンボルを生成する請求項8に記載の設計支援システム。
【請求項10】
空調システムの設計を支援する設計支援プログラムであって、
前記空調システムが設置される建物及び部屋に関する条件の入力を受け付ける工程と、
入力された前記条件に基づき前記空調システムを構成する複数の機器を選定し、選定した複数の前記機器と、複数の前記機器を接続するダクトと、を示すシンボルを生成する工程と、
前記建物の間取り図内に前記シンボルが配置された配置画面を表示装置に表示させる工程と、をコンピュータに実行させる設計支援プログラム。
発明の詳細な説明
【技術分野】
【0001】
本開示は、空調システムの設備設計を支援する設計支援システム及び設計支援プログラムに関するものである。
続きを表示(約 1,800 文字)
【背景技術】
【0002】
従来、専門知識及び経験を有していない人であっても、容易に空調機器、ダクトの分岐形態などを設定することでダクト系統図の作成ができ、吹出口及び吸込口の風量及び圧力損失を自動的に計算できる設計支援装置が提案されている(例えば特許文献1参照)。
【先行技術文献】
【特許文献】
【0003】
特開平10-187785号公報
【発明の概要】
【発明が解決しようとする課題】
【0004】
しかしながら、特許文献1に記載の設計支援装置では、ダクト種及び分岐数などを手動で入力する必要があり、設備設計の簡略化という点では改善の余地がある。
【0005】
本開示は、上記のような課題を解決するものであり、空調システムの設備設計を簡略化することが可能な設計支援システム及び設計支援プログラムを提供することを目的とする。
【課題を解決するための手段】
【0006】
本開示に係る設計支援システムは、空調システムの設計を支援する設計支援システムであって、空調システムが設置される建物及び部屋に関する条件の入力に用いられる操作装置と、操作装置を介して入力された条件に基づき空調システムを構成する複数の機器を選定し、選定した複数の機器と、複数の機器を接続するダクトと、を示すシンボルを生成する制御装置と、建物の間取り図内にシンボルが配置された配置画面を表示する表示装置と、を備えるものである。
【0007】
本開示に係る設計支援プログラムは、空調システムの設計を支援する設計支援プログラムであって、空調システムが設置される建物及び部屋に関する条件の入力を受け付ける工程と、入力された条件に基づき空調システムを構成する複数の機器を選定し、選定した複数の機器と、複数の機器を接続するダクトと、を示すシンボルを生成する工程と、建物の間取り図内にシンボルが配置された配置画面を表示装置に表示させる工程と、をコンピュータに実行させるものである。
【発明の効果】
【0008】
本開示における設計支援システムによれば、選定した複数の機器と、複数の機器を接続するダクトと、を含むシンボルを生成し、間取り図内に配置することで、ダクト配管の手間を削減し、設備設計を簡略化することができる。
【図面の簡単な説明】
【0009】
実施の形態1に係る設計支援システムの概略構成図である。
実施の形態1に係る設計支援システムの動作の流れを示すフローチャートである。
実施の形態1に係る表示装置に表示される物件情報入力画面の一例である。
実施の形態1に係る表示装置3に表示される部屋条件設定画面の一例である。
実施の形態1における機種選定処理の流れを示すフローチャートである。
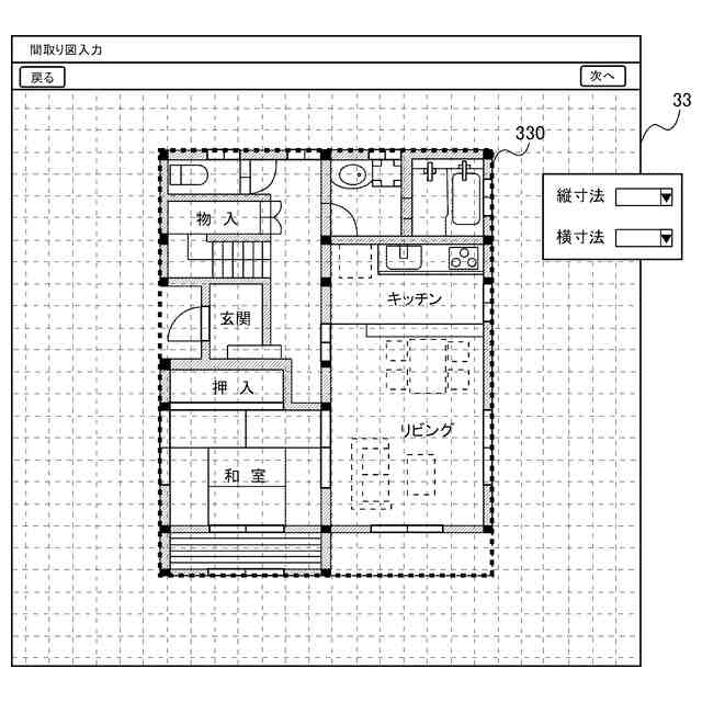
実施の形態1に係る表示装置に表示される間取り図設定画面の一例である。
実施の形態1における配置処理の流れを示すフローチャートである。
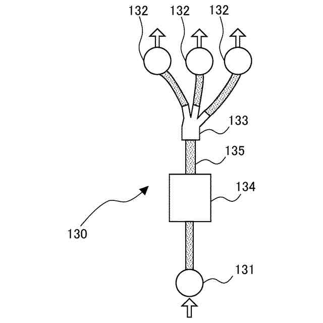
実施の形態1に係る配置設定部によって生成されるシンボルの一例である。
実施の形態1に係る表示装置に表示される配置画面の一例である。
実施の形態1の配置処理における各機器の配置の一例を説明する図である。
実施の形態1の配置処理におけるダクトの調整を説明する図である。
実施の形態1の配置処理における各機器の配置の別の例を説明する図である。
実施の形態1の配置処理における各機器の配置例を示す図である。
実施の形態1に係る表示装置に表示される注意表示の一例である。
実施の形態1に係る表示装置に表示される出力イメージ画面の一例である。
実施の形態1に係る表示装置に表示される出力内容確認画面の一例である。
【発明を実施するための形態】
【0010】
以下、図面を参照して、本開示の実施の形態について説明する。なお、各図中、同一又は相当する部分には、同一符号を付して、その説明を適宜省略又は簡略化する。また、各図面では、各構成部材の相対的な寸法関係又は形状等が実際のものとは異なる場合がある。
(【0011】以降は省略されています)
この特許をJ-PlatPat(特許庁公式サイト)で参照する
関連特許
三菱電機株式会社
回転電機
21日前
三菱電機株式会社
回転電機
11日前
三菱電機株式会社
加熱調理器
14日前
三菱電機株式会社
半導体装置
15日前
三菱電機株式会社
半導体装置
1日前
三菱電機株式会社
照明システム
1日前
三菱電機株式会社
給湯システム
14日前
三菱電機株式会社
貯湯式給湯機
11日前
三菱電機株式会社
電動機制御装置
7日前
三菱電機株式会社
非常用照明装置
14日前
三菱電機株式会社
送電線保護装置
21日前
三菱電機株式会社
風力発電システム
11日前
三菱電機株式会社
空気清浄システム
14日前
三菱電機株式会社
電流切替型DAC
1日前
三菱電機株式会社
換気空調システム
11日前
三菱電機株式会社
照明制御システム
8日前
三菱電機株式会社
半導体装置及びその製造方法
14日前
三菱電機株式会社
半導体装置及びヒートシンク
15日前
三菱電機株式会社
コントローラ及び送風システム
11日前
三菱電機株式会社
監視装置、および監視システム
2日前
三菱電機株式会社
加熱調理器及び加熱調理システム
2日前
三菱電機株式会社
換気装置、送風装置および制御装置
1日前
三菱電機株式会社
照明器具および照明器具の製造方法
3日前
三菱電機株式会社
推論装置、空調システム及び学習装置
15日前
三菱電機株式会社
インバータ装置およびモータ駆動装置
9日前
三菱電機株式会社
照明制御装置および照明制御システム
7日前
三菱電機株式会社
選択支援装置、方法、及びプログラム
今日
三菱電機株式会社
指示支援装置、方法、及びプログラム
11日前
三菱電機株式会社
衝撃波発生装置および衝撃波発生方法
14日前
三菱電機株式会社
照明制御装置および照明制御システム
11日前
三菱電機株式会社
半導体装置および半導体装置の製造方法
3日前
三菱電機株式会社
回転電機のステータおよびその製造方法
11日前
三菱電機株式会社
設計支援システム及び設計支援プログラム
1日前
三菱電機株式会社
冷凍装置を備えた機器およびショーケース
今日
三菱電機株式会社
温度調節機能付き換気装置及び換気システム
1日前
三菱電機株式会社
情報処理装置、プログラム及び情報処理方法
1日前
続きを見る
他の特許を見る