TOP
|
特許
|
意匠
|
商標
特許ウォッチ
Twitter
他の特許を見る
10個以上の画像は省略されています。
公開番号
2025158040
公報種別
公開特許公報(A)
公開日
2025-10-16
出願番号
2024060485
出願日
2024-04-03
発明の名称
半導体装置の製造方法及び半導体ウェハ用のシート
出願人
三菱電機株式会社
代理人
弁理士法人高田・高橋国際特許事務所
主分類
H01L
21/301 20060101AFI20251008BHJP(基本的電気素子)
要約
【課題】本開示は半導体ウェハと該半導体ウェハに接着されるシートに放射線を照射する際に用いられるマスクとを対応付けて管理できる半導体装置の製造方法と半導体ウェハ用のシートを提供することを目的とする。
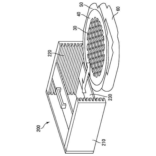
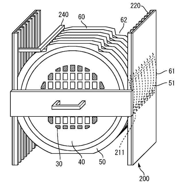
【解決手段】本開示の半導体装置の製造方法は、放射線により粘着力が低減するシートの表面に半導体ウェハを貼り付けることと、シートの表面の外周部に半導体ウェハを囲む環状のホルダを装着することと、半導体ウェハをダイシングし矩形の半導体チップに分割することと、ダイシングにより半導体ウェハの外周部に生じる非矩形チップに接着されるシートの領域のうち少なくとも一部をシートの裏面側に配置されたマスクにより遮蔽したうえで、シートの裏面に放射線を照射することとを含む。マスクはホルダと平面視において同じ大きさである。
【選択図】図7
特許請求の範囲
【請求項1】
放射線により粘着力が低減するシートの表面に半導体ウェハを貼り付けることと、
前記シートの前記表面の外周部に前記半導体ウェハを囲む環状のホルダを装着することと、
前記半導体ウェハをダイシングし矩形の半導体チップに分割することと、
ダイシングにより前記半導体ウェハの外周部に生じる非矩形チップに接着される前記シートの領域のうち少なくとも一部を前記シートの裏面側に配置されたマスクにより遮蔽したうえで、前記シートの裏面に放射線を照射することと、
を含み、
前記マスクは前記ホルダと平面視において同じ大きさである、半導体装置の製造方法。
続きを表示(約 1,100 文字)
【請求項2】
前記マスクの外形は前記ホルダの外形と平面視において同じ形状である請求項1に記載の半導体装置の製造方法。
【請求項3】
前記ホルダと前記マスクの外周において対向する一対の側部は平坦であり、
前記側部をレール上に載置することで前記半導体ウェハをマガジンに収納する請求項2に記載の半導体装置の製造方法。
【請求項4】
前記ホルダと前記マスクの外周部には切り欠きが設けられ、
前記切り欠きは前記半導体ウェハを前記マガジンに収納した際に前記マガジンのストッパーを受け入れる部分である請求項3に記載の半導体装置の製造方法。
【請求項5】
前記放射線を照射する前に前記シートに貼り付けられた前記半導体ウェハまたは前記マスクをサーボモータにより移動させて前記半導体ウェハと前記マスクの位置合わせを行うことをさらに含む、請求項1から4いずれか1項に記載の半導体装置の製造方法。
【請求項6】
前記マスクは前記半導体ウェハの前記非矩形チップを含まない領域である有効領域と同じ大きさおよび形状の開口を有し、前記位置合わせにおいては前記半導体ウェハの上部から前記有効領域の境界を撮像する第1のカメラと、前記第1のカメラに向かい合う方向から前記開口の端を撮像する第2のカメラの撮像画像に基づき、前記有効領域と前記開口を一致させる、請求項5に記載の半導体装置の製造方法。
【請求項7】
前記半導体チップに接着される前記シートの一領域を露出させ前記非矩形チップに接着される前記シートの領域が遮蔽されるように前記マスクの開口の大きさをシャッタにより調整する第1工程と、
前記シートの裏面に前記放射線を照射する第2工程と、
前記放射線が未照射である前記シートの領域に前記開口を移動させる第3工程と、
を含み、
前記半導体チップに接着される前記シートの全領域に対して前記放射線が照射されるまで前記第1工程から前記第3工程までを繰り返す請求項1から4いずれか1項に記載の半導体装置の製造方法。
【請求項8】
前記マスクの前記開口は前記マスクの外周から中心までに及ぶスリット状の開口である、請求項7に記載の半導体装置の製造方法。
【請求項9】
前記放射線が照射される際の前記シートは真空環境下である請求項1から4いずれか1項に記載の半導体装置の製造方法。
【請求項10】
前記放射線が照射される際の前記シートは前記マスクと前記ホルダにより挟まれた状態である、請求項1から4いずれか1項に記載の半導体装置の製造方法。
(【請求項11】以降は省略されています)
発明の詳細な説明
【技術分野】
【0001】
本開示は、半導体装置の製造方法及び半導体ウェハ用のシートに関する。
続きを表示(約 1,500 文字)
【背景技術】
【0002】
半導体ウェハをダイシングした際、半導体ウェハの外周部には非矩形チップが生じる。半導体ウェハがシートに貼り付けられている場合、シートから半導体チップを剥離する際にこの非矩形チップが飛び跳ねることがあり、半導体チップの表面に損傷を与えたり、表面に付着することで動作不良を引き起こしたりする恐れがある。
【0003】
特許文献1の放射線照射装置には、放射線により粘着力が低減するシートに貼り付けられた半導体ウェハと放射線源との間に、放射線の照射を部分的に抑止するマスクを配設する技術が開示されている。マスクを配設することにより、非矩形チップに接着されるシートの領域に対しては放射線を遮蔽することができ、粘着力を維持することができる。一方で半導体チップに接着されるシートの領域に対しては放射線を照射でき粘着力を低減できる。
【先行技術文献】
【特許文献】
【0004】
特開2011-003613号公報
【発明の概要】
【発明が解決しようとする課題】
【0005】
半導体ウェハの有効領域の大きさと形状は多種多様であるから、放射線の照射においては半導体ウェハに応じたマスクを使用する必要がある。しかしながら従来技術では半導体ウェハと該半導体ウェハに接着されるシートに放射線を照射する際に用いられるマスクとを対応付けて管理ができないといった課題を有する。そのため誤ったマスクを使用して放射線を照射するリスクがある。
【0006】
本開示は上述の問題を解決するため、半導体ウェハと該半導体ウェハに接着されるシートに放射線を照射する際に用いられるマスクとを対応付けて管理できる半導体装置の製造方法を提供することを第1の目的とする。
【0007】
また本開示は、半導体ウェハと該半導体ウェハに接着されるシートに放射線を照射する際に用いられるマスクとを対応付けて管理できる半導体ウェハ用のシートを提供することを第2の目的とする。
【課題を解決するための手段】
【0008】
本開示の第1の態様は、
放射線により粘着力が低減するシートの表面に半導体ウェハを貼り付けることと、
前記シートの前記表面の外周部に前記半導体ウェハを囲む環状のホルダを装着することと、
前記半導体ウェハをダイシングし矩形の半導体チップに分割することと、
ダイシングにより前記半導体ウェハの外周部に生じる非矩形チップに接着される前記シートの領域のうち少なくとも一部を前記シートの裏面側に配置されたマスクにより遮蔽したうえで、前記シートの裏面に放射線を照射することと、
を含み、
前記マスクは前記ホルダと平面視において同じ大きさである、半導体装置の製造方法であることが好ましい。
【0009】
本開示の第2の態様は、
放射線により粘着力が低減する粘着層を表面に有し、裏面に前記放射線を吸収または散乱する遮蔽剤のマスクが塗布された半導体ウェハ用のシートであることが好ましい。
【発明の効果】
【0010】
本開示の第1の態様によれば、放射線を遮蔽するマスクが、半導体ウェハに接着されるシートに装着された環状のホルダと平面視において同じ大きさである。従って、マスクを半導体ウェハと同じマガジンに収納できる。これにより半導体ウェハとマスクとを対応付けて管理できる。
(【0011】以降は省略されています)
この特許をJ-PlatPat(特許庁公式サイト)で参照する
関連特許
三菱電機株式会社
換気扇
4日前
三菱電機株式会社
換気扇
4日前
三菱電機株式会社
換気扇
4日前
三菱電機株式会社
回転電機
1か月前
三菱電機株式会社
照明装置
1か月前
三菱電機株式会社
回転電機
20日前
三菱電機株式会社
電子機器
5日前
三菱電機株式会社
収集装置
2日前
三菱電機株式会社
半導体装置
24日前
三菱電機株式会社
半導体装置
1か月前
三菱電機株式会社
加熱調理器
23日前
三菱電機株式会社
半導体装置
10日前
三菱電機株式会社
空気調和装置
1か月前
三菱電機株式会社
給湯システム
23日前
三菱電機株式会社
貯湯式給湯機
20日前
三菱電機株式会社
ネジ取出機構
1か月前
三菱電機株式会社
車両制御装置
1か月前
三菱電機株式会社
照明システム
10日前
三菱電機株式会社
電力変換装置
1か月前
三菱電機株式会社
送電線保護装置
1か月前
三菱電機株式会社
誘導加熱調理器
4日前
三菱電機株式会社
非常用照明装置
23日前
三菱電機株式会社
電動機制御装置
16日前
三菱電機株式会社
照明制御システム
1か月前
三菱電機株式会社
照明制御システム
17日前
三菱電機株式会社
換気空調システム
20日前
三菱電機株式会社
電流切替型DAC
10日前
三菱電機株式会社
全館空調システム
2日前
三菱電機株式会社
風力発電システム
20日前
三菱電機株式会社
ウエハテスト装置
1か月前
三菱電機株式会社
レンズモジュール
2日前
三菱電機株式会社
空気清浄システム
23日前
三菱電機株式会社
コントロールセンタ
1か月前
三菱電機株式会社
照明器具及び照明装置
1か月前
三菱電機株式会社
保護継電器及び配電盤
4日前
三菱電機株式会社
点灯装置および照明器具
2日前
続きを見る
他の特許を見る