TOP
|
特許
|
意匠
|
商標
特許ウォッチ
Twitter
他の特許を見る
公開番号
2025151563
公報種別
公開特許公報(A)
公開日
2025-10-09
出願番号
2024053066
出願日
2024-03-28
発明の名称
温度調節機能付き換気装置及び換気システム
出願人
三菱電機株式会社
代理人
弁理士法人加藤国際特許事務所
主分類
F24F
11/36 20180101AFI20251002BHJP(加熱;レンジ;換気)
要約
【課題】室内温度環境の不安定化を抑制しつつ、冷媒の漏洩をより確実に検出することができる温度調節機能付き換気装置を得ることを目的とする。
【解決手段】制御装置17による給気送風機12及び排気送風機13の運転モードには、通常運転モードと、漏洩検出モードとが含まれている。制御装置17は、漏洩検出モードでは、給気送風機12による送風を停止させる。制御装置17は、給気送風機12及び排気送風機13の少なくともいずれか一方である指定送風機の送風出力が出力設定値以下になったとき、運転モードを通常運転モードから漏洩検出モードに切り替える。
【選択図】図1
特許請求の範囲
【請求項1】
室外から室内への空気の通路である給気通路と、前記室内から前記室外への空気の通路である排気通路とが形成されているケーシング、
前記給気通路に設けられている給気送風機、
前記排気通路に設けられている排気送風機、
前記ケーシング内に設けられており、前記給気通路を通る空気と前記排気通路を通る空気と間で熱交換を行う熱交換器、
前記給気通路を通る空気の温度調節を行う温度調節コイル、
前記給気通路を通る空気に含まれる冷媒を検出する冷媒センサ、及び
前記給気送風機と前記排気送風機と前記温度調節コイルとを制御する制御装置
を備え、
前記制御装置による前記給気送風機及び前記排気送風機の運転モードには、前記給気送風機及び前記排気送風機を動作させ換気を行う通常運転モードと、前記給気送風機による送風を停止させ前記冷媒センサで前記給気通路を通る空気に含まれる冷媒を検出する漏洩検出モードとが含まれており、
前記制御装置は、前記給気送風機及び前記排気送風機の少なくともいずれか一方である指定送風機の送風出力が出力設定値以下になったとき、前記運転モードを前記通常運転モードから前記漏洩検出モードに切り替える温度調節機能付き換気装置。
続きを表示(約 870 文字)
【請求項2】
前記制御装置は、前記運転モードを前記漏洩検出モードに切り替えてから、設定時間以内に前記冷媒センサにより前記冷媒が検出されなかったとき、前記運転モードを前記通常運転モードに戻す請求項1記載の温度調節機能付き換気装置。
【請求項3】
前記制御装置は、前記運転モードを前記漏洩検出モードに切り替えた場合、前記冷媒センサにより前記冷媒が検出されるまで前記漏洩検出モードを継続するよう設定可能である請求項1記載の温度調節機能付き換気装置。
【請求項4】
前記制御装置と通信可能なリモートコントローラー
をさらに備え、
前記出力設定値と、前記漏洩検出モードにおける前記排気送風機の送風出力との少なくともいずれか一方は、前記リモートコントローラーから設定可能である請求項1から請求項3までのいずれか1項に記載の温度調節機能付き換気装置。
【請求項5】
前記制御装置は、前記漏洩検出モードでは、前記排気送風機の送風出力を最大出力にする請求項1から請求項3までのいずれか1項に記載の温度調節機能付き換気装置。
【請求項6】
前記制御装置は、前記指定送風機の電動機の回転数に基づいて、前記指定送風機による送風出力を推定する請求項1から請求項3までのいずれか1項に記載の温度調節機能付き換気装置。
【請求項7】
前記制御装置は、前記指定送風機の送風出力として、前記指定送風機の実際の送風量を検出する風量検出装置からの情報を用いる請求項1から請求項3までのいずれか1項に記載の温度調節機能付き換気装置。
【請求項8】
外部に設けられ前記室内の空気を前記室外へ排出する他の排気送風機と、請求項1から請求項3までのいずれか1項に記載の温度調節機能付き換気装置と、を備えた換気システムであって、
前記制御装置は、前記漏洩検出モードでは、前記排気送風機による送風を停止させるとともに、前記他の排気送風機も停止させる換気システム。
発明の詳細な説明
【技術分野】
【0001】
本開示は、温度調節機能付き換気装置及び換気システムに関するものである。
続きを表示(約 1,500 文字)
【背景技術】
【0002】
従来の空気調和装置では、室内機の運転時間が予め定めた定時制御時間を経過したときに、ファンの運転が停止され、冷媒センサによって冷媒の漏洩の有無が確認される(例えば、特許文献1参照)。
【先行技術文献】
【特許文献】
【0003】
特許第6847213号公報
【発明の概要】
【発明が解決しようとする課題】
【0004】
上記のような従来の空気調和装置では、冷媒が漏洩していない場合でも、定時制御時間毎にファンの運転が停止され、室内温度環境が不安定化する。
【0005】
本開示は、上記のような課題を解決するためになされたものであり、室内温度環境の不安定化を抑制しつつ、冷媒の漏洩をより確実に検出することができる温度調節機能付き換気装置及び換気システムを得ることを目的とする。
【課題を解決するための手段】
【0006】
本開示に係る温度調節機能付き換気装置は、室外から室内への空気の通路である給気通路と、室内から室外への空気の通路である排気通路とが形成されているケーシング、給気通路に設けられている給気送風機、排気通路に設けられている排気送風機、ケーシング内に設けられており、給気通路を通る空気と排気通路を通る空気と間で熱交換を行う熱交換器、給気通路を通る空気の温度調節を行う温度調節コイル、給気通路を通る空気に含まれる冷媒を検出する冷媒センサ、及び給気送風機と排気送風機と温度調節コイルとを制御する制御装置を備え、制御装置による給気送風機及び排気送風機の運転モードには、給気送風機及び排気送風機を動作させ換気を行う通常運転モードと、給気送風機による送風を停止させ冷媒センサで給気通路を通る空気に含まれる冷媒を検出する漏洩検出モードとが含まれており、制御装置は、給気送風機及び排気送風機の少なくともいずれか一方である指定送風機の送風出力が出力設定値以下になったとき、運転モードを通常運転モードから漏洩検出モードに切り替える。
【発明の効果】
【0007】
本開示によれば、室内温度環境の不安定化を抑制しつつ、冷媒の漏洩をより確実に検出することができる。
【図面の簡単な説明】
【0008】
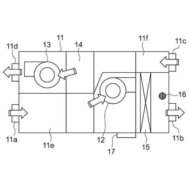
実施の形態1による温度調節機能付き換気装置を示す概略の構成図である。
図1の温度調節機能付き換気装置の制御系を示すブロック図である。
図2の制御装置の動作を示すフローチャートである。
実施の形態2による温度調節機能付き換気装置を示す概略の構成図である。
図4の温度調節機能付き換気装置の制御系を示すブロック図である。
図5の制御装置の動作を示すフローチャートである。
実施の形態1、2の制御装置の各機能を実現する処理回路の第1例を示す構成図である。
実施の形態1、2の制御装置の各機能を実現する処理回路の第2例を示す構成図である。
【発明を実施するための形態】
【0009】
以下、実施の形態について、図面を参照して説明する。
実施の形態1.
図1は、実施の形態1による温度調節機能付き換気装置を示す概略の構成図である。図において、温度調節機能付き換気装置は、ケーシング11と、給気送風機12と、排気送風機13と、全熱交換器14と、温度調節コイル15と、冷媒センサ16と、制御装置17とを有している。
【0010】
ケーシング11には、給気吸込口11aと、給気吹出口11bと、排気吸込口11cと、排気吹出口11dとが設けられている。
(【0011】以降は省略されています)
この特許をJ-PlatPat(特許庁公式サイト)で参照する
関連特許
三菱電機株式会社
照明器具
1か月前
三菱電機株式会社
照明装置
1か月前
三菱電機株式会社
回転電機
11日前
三菱電機株式会社
回転電機
1か月前
三菱電機株式会社
照明装置
21日前
三菱電機株式会社
回転電機
21日前
三菱電機株式会社
加熱調理器
14日前
三菱電機株式会社
半導体装置
1日前
三菱電機株式会社
半導体装置
15日前
三菱電機株式会社
半導体装置
1か月前
三菱電機株式会社
半導体装置
21日前
三菱電機株式会社
電力変換装置
21日前
三菱電機株式会社
貯湯式給湯機
11日前
三菱電機株式会社
電力変換装置
1か月前
三菱電機株式会社
空気調和装置
22日前
三菱電機株式会社
ネジ取出機構
22日前
三菱電機株式会社
給湯システム
14日前
三菱電機株式会社
車両制御装置
23日前
三菱電機株式会社
回転電機装置
1か月前
三菱電機株式会社
照明システム
1日前
三菱電機株式会社
給湯機システム
1か月前
三菱電機株式会社
非常用照明装置
14日前
三菱電機株式会社
屋外設置用筐体
1か月前
三菱電機株式会社
送電線保護装置
21日前
三菱電機株式会社
電動機制御装置
7日前
三菱電機株式会社
照明制御システム
21日前
三菱電機株式会社
風力発電システム
11日前
三菱電機株式会社
空気清浄システム
14日前
三菱電機株式会社
ウエハテスト装置
21日前
三菱電機株式会社
変圧器の診断方法
29日前
三菱電機株式会社
情報処理システム
1か月前
三菱電機株式会社
電流切替型DAC
1日前
三菱電機株式会社
換気空調システム
11日前
三菱電機株式会社
照明制御システム
8日前
三菱電機株式会社
コントロールセンタ
21日前
三菱電機株式会社
冷却器及び半導体装置
1か月前
続きを見る
他の特許を見る