TOP
|
特許
|
意匠
|
商標
特許ウォッチ
Twitter
他の特許を見る
公開番号
2025158831
公報種別
公開特許公報(A)
公開日
2025-10-17
出願番号
2024061731
出願日
2024-04-05
発明の名称
検出装置、検出装置の製造方法
出願人
株式会社デンソー
代理人
個人
,
個人
,
個人
,
個人
,
個人
主分類
G01L
5/00 20060101AFI20251009BHJP(測定;試験)
要約
【課題】センサ基板に対する検出対象部の相対変位と受信コイルの出力信号との関係が、基準となる関係からずれる事態の発生を抑制できる検出装置、及び検出装置の製造方法を提供する。
【解決手段】検出装置のセンサ基板は、励磁コイルと、受信コイルとを備えている。受信コイルは、センサ基板に対するターゲット部材80の検出対象部81の相対変位に応じた電圧信号を出力する。ハブベアリング40のフランジ部62には、ハブボルト17が挿通されるボルト挿通孔64が形成されている。ハブボルト17の頭部17aは、軸線方向において検出対象部81の凹部85の平坦面85aよりもフランジ部62側に位置している。
【選択図】 図5
特許請求の範囲
【請求項1】
機械装置(10)に適用される検出装置において、
前記機械装置は、
回転体(11,14)と、
前記回転体をベース部(15)に対して回転可能に支持するハブベアリング(40)と、
を備え、
前記ハブベアリングは、
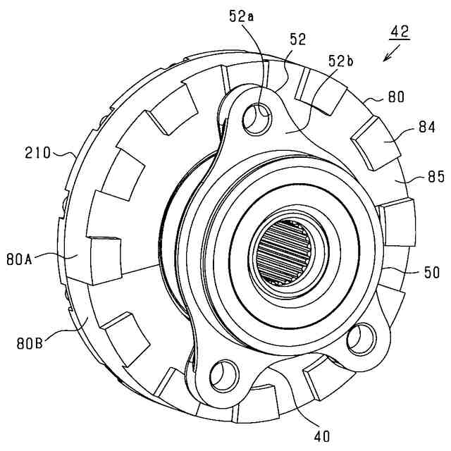
前記ハブベアリングの回転中心軸線の方向である軸線方向に延びる第1円筒部(51)を有するとともに、前記ベース部に対して固定される第1軸受部材(50)と、
前記軸線方向と直交する径方向において前記第1円筒部に対向する位置に設けられる第2円筒部(61)、及び前記第2円筒部から前記径方向の外側に延びるフランジ部(62)を有する第2軸受部材(60)と、
前記第1円筒部と前記第2円筒部との間に設けられた転動体(41)と、
磁性材料で構成され、前記フランジ部に対して前記回転体を固定するためのハブボルト(17)と、
を有し、前記ベース部に対して前記第2軸受部材を回転可能に支持し、
前記軸線方向において前記フランジ部からずれた位置に設けられたセンサ基板(100)と、
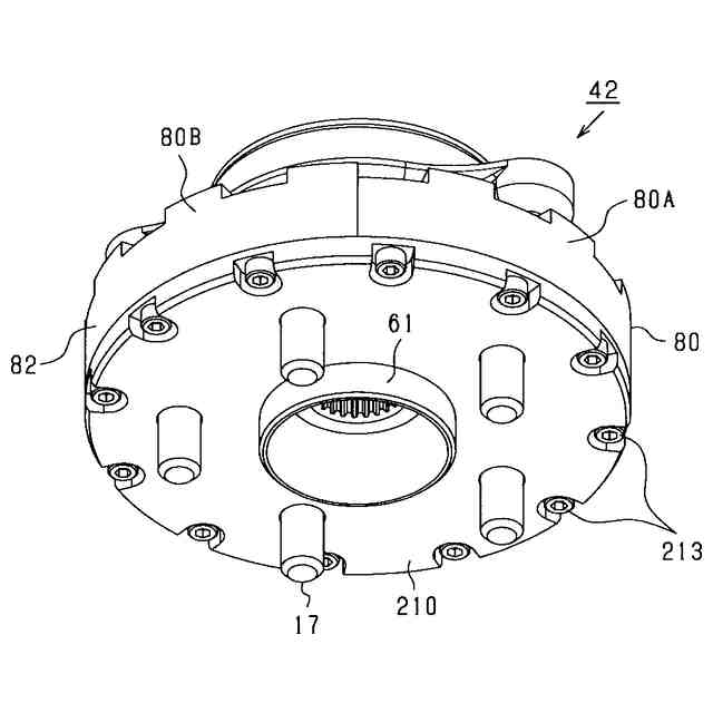
前記フランジ部のうち前記軸線方向において前記センサ基板と対向する部分に設けられ、前記回転中心軸線を中心にして、前記第2円筒部の周方向に延びる円環状をなす検出対象部(81,181,281,381,481,581,682,683,782,783)と、
を備え、
前記検出対象部は、前記フランジ部に対して前記軸線方向に突出する凸部(84,184,284,384,484,584,682,782)が前記周方向において所定間隔で複数設けられた構成になっており、
前記センサ基板は、
励磁電圧が供給される励磁コイル(110)と、
前記励磁コイルに励磁電圧が供給されている場合に電圧が誘起される受信コイル(111,112)と、
を有し、
前記受信コイルは、前記センサ基板に対する前記検出対象部の相対変位に応じた電圧信号を出力し、
前記フランジ部には、前記軸線方向に延びる貫通孔であって、前記ハブボルトが挿通されるボルト挿通孔(64)が形成され、
前記ハブボルトの両端部のうち、前記軸線方向において前記フランジ部に対して前記センサ基板側の端部は、前記軸線方向において前記凸部よりも前記フランジ部側に位置している、検出装置。
続きを表示(約 6,200 文字)
【請求項2】
前記検出対象部(84,184,284,384,484,584)は、前記凸部(84,184,284,384,484,584)と、前記軸線方向において前記凸部に対して前記フランジ部側に凹む凹部(85,185,285,385,485,585)とが前記周方向において交互に設けられた構成になっており、
前記ハブボルトの両端部のうち、前記軸線方向において前記フランジ部に対して前記センサ基板側の端部は、前記軸線方向において前記凹部よりも前記フランジ部側に位置している、請求項1に記載の検出装置。
【請求項3】
前記ハブベアリングとは別部材であり、前記回転中心軸線を中心にして前記周方向に延びる円環状をなすターゲット部材(180,280)を備え、
前記検出対象部(184,284)は、前記ターゲット部材のうち前記軸線方向において前記センサ基板と対向する位置に形成され、
前記ターゲット部材のうち前記検出対象部を構成する前記凹部(185,285)及び前記凸部(184,284)よりも前記径方向の内側には、前記軸線方向において前記凹部に対して前記フランジ部側に凹む座繰り部(186,286)が形成され、
前記座繰り部には、前記ターゲット部材を前記軸線方向に貫通するともに前記ハブボルトが挿通される内側挿通孔(187,287)が形成され、
前記座繰り部の底部(186a,286a)のうち前記内側挿通孔の周縁部は、前記ハブボルトの頭部(17a)の座面(187a,287a)になっており、
前記内側挿通孔及び前記ボルト挿通孔に挿通された前記ハブボルトの前記頭部が前記座面に当接するとともに、前記頭部と前記フランジ部とによって前記ターゲット部材が挟まれていることにより、前記ターゲット部材が前記フランジ部に固定されている、請求項2に記載の検出装置。
【請求項4】
前記ハブベアリングとは別部材であり、前記回転中心軸線を中心にして前記周方向に延びる円環状をなすターゲット部材(380)を備え、
前記検出対象部(384)は、前記ターゲット部材のうち前記軸線方向において前記センサ基板と対向する位置に形成され、
前記凹部には、前記軸線方向において前記凹部に対して前記フランジ部側に凹む座繰り部(386)が形成され、
前記座繰り部には、前記ターゲット部材を前記軸線方向に貫通するともに前記ハブボルトが挿通される凹部挿通孔(387)が形成され、
前記座繰り部の底部(386a)のうち前記凹部挿通孔の周縁部は、前記ハブボルトの頭部の座面(387a)になっており、
前記凹部挿通孔及び前記ボルト挿通孔に挿通された前記ハブボルトの前記頭部が前記座面に当接するとともに、前記頭部と前記フランジ部とによって前記ターゲット部材が挟まれていることにより、前記ターゲット部材が前記フランジ部に固定されている、請求項2に記載の検出装置。
【請求項5】
前記ターゲット部材(180,280)は、前記検出対象部の外周縁部から前記軸線方向において前記フランジ部に向かって延びる周壁部(182,282)を有し、
前記周壁部が、前記フランジ部の外周縁部に前記径方向の外側から当接した状態で、前記ターゲット部材が前記フランジ部に固定されている、請求項3に記載の検出装置。
【請求項6】
前記第1円筒部は、前記第2円筒部の前記径方向の外側に設けられ、
前記第1円筒部のうち前記軸線方向における中間部分には、前記径方向の外側に延びるハブ取付部(52)が設けられており、
前記ハブ取付部には、前記軸線方向に延びる孔であって、前記ハブ取付部を前記ベース部に対して固定するためのボルト(16)の雄ネジがねじ込まれる雌ネジ孔(52a)が形成され、
前記ハブベアリングとは別部材であり、前記回転中心軸線を中心にして前記周方向に延びる円環状をなすターゲット部材(480)を備え、
前記検出対象部は、前記ターゲット部材のうち前記軸線方向において前記センサ基板と対向する位置に形成され、
前記ターゲット部材の中央部には、前記軸線方向に延びる貫通孔であって、前記第1円筒部が嵌め合わされるベアリング挿通孔(483)が形成されており、
前記ターゲット部材のうち前記径方向において前記検出対象部と前記ベアリング挿通孔との間には、前記ベアリング挿通孔の周縁部から前記径方向の外側に凹む部分であって、前記ベアリング挿通孔に前記第1円筒部が嵌め合わされる場合において、前記ハブ取付部が前記ターゲット部材に干渉することを回避するための干渉回避部(486)が形成されている、請求項2に記載の検出装置。
【請求項7】
前記第1円筒部は、前記第2円筒部の前記径方向の外側に設けられ、
前記フランジ部のうち前記軸線方向において前記センサ基板と対向する部分に設けられ、前記回転中心軸線を中心にして前記第2円筒部の周方向に延びる円環状をなすターゲット部材(580)を備え、
前記検出対象部は、前記ターゲット部材のうち前記軸線方向において前記センサ基板と対向する位置に形成され、
前記ターゲット部材は、前記ハブベアリングとは別部材であり、
前記ハブボルトの頭部(17a)を前記センサ基板側に向けた状態で、前記ハブボルトが前記ボルト挿通孔に挿通され、
前記ターゲット部材の中央部には、前記軸線方向に延びる貫通孔であって、前記外側円筒部が嵌め合わされるベアリング挿通孔(586)が形成されており、
前記第2円筒部は、
前記径方向において前記転動体の内側に設けられる円筒状の第1部分(61a)と、
前記径方向において前記第1部分の内側に設けられるとともに、前記フランジ部から前記軸線方向に延びる円筒状の第2部分(61b)と、
を有し、
前記第2部分のうち前記フランジ部側の基端部は、前記第2部分のうち前記基端部に対して先端側の部分よりも外径寸法が大きい拡径部(587)とされており、
前記ターゲット部材の前記ベアリング挿通孔に前記第1部分が嵌め合わされるとともに、前記ターゲット部材が前記拡径部に圧入固定されている状態において、前記ハブボルトの前記頭部が、前記軸線方向において前記凹部よりも前記フランジ部側に位置しており、
前記第1円筒部、前記転動体及び前記第1部分が一体化された部材であるサブアッシー(AS)が前記ターゲット部材に当接するとともに、前記サブアッシーの前記第1部分が前記第2部分に圧入嵌合されている、請求項2に記載の検出装置。
【請求項8】
前記機械装置は、前記回転体として車両の車輪(11,14)を備える車輪ユニット(10)であり、
前記ベース部は、前記車両のナックル(15)である、請求項1~4,6,7のいずれか1項に記載の検出装置。
【請求項9】
機械装置(10)に適用される検出装置の製造方法において、
前記機械装置は、
回転体(11,14)と、
前記回転体をベース部(15)に対して回転可能に支持するハブベアリング(40)と、
を備え、
前記ハブベアリングは、
前記ハブベアリングの回転中心軸線の方向である軸線方向に延びる外側円筒部(51)を有するとともに、前記ベース部に対して固定される軸受部材である外輪部材(50)と、
前記軸線方向と直交する径方向において前記外側円筒部の内側に設けられる内側円筒部(61)、及び前記内側円筒部から前記径方向の外側に延びるフランジ部(62)を有する軸受部材である内輪部材(60)と、
前記外側円筒部と前記内側円筒部との間に設けられた転動体(41)と、
磁性材料で構成され、前記フランジ部に対して前記回転体を固定するためのハブボルト(17)と、
を有し、前記ベース部に対して前記内輪部材を回転可能に支持し、
前記検出装置は、
前記軸線方向において前記フランジ部からずれた位置に設けられたセンサ基板(100)と、
前記フランジ部のうち前記軸線方向において前記センサ基板と対向する部分に設けられ、前記回転中心軸線を中心にして前記内側円筒部の周方向に延びる円環状をなすターゲット部材(480)と、
を備え、
前記ターゲット部材のうち前記軸線方向において前記センサ基板と対向する位置には、前記回転中心軸線を中心にして、前記周方向に延びる円環状をなす検出対象部(481)が形成され、
前記検出対象部は、前記フランジ部に対して前記軸線方向に突出する凸部(484)と、前記軸線方向において前記凸部に対して前記フランジ部側に凹む凹部(485)とが前記周方向において交互に設けられた構成になっており、
前記センサ基板は、
励磁電圧が供給される励磁コイル(110)と、
前記励磁コイルに励磁電圧が供給されている場合に電圧が誘起される受信コイル(111,112)と、
を有し、
前記受信コイルは、前記センサ基板に対する前記検出対象部の相対変位に応じた電圧信号を出力し、
前記フランジ部には、前記軸線方向に延びる貫通孔であって、前記ハブボルトが挿通されるボルト挿通孔(64)が形成され、
前記外側円筒部のうち前記軸線方向における中間部分には、前記径方向の外側に延びるハブ取付部(52)が設けられており、
前記ハブ取付部には、前記軸線方向に延びる孔であって、前記ハブ取付部を前記ベース部に対して固定するためのボルト(16)の雄ネジがねじ込まれる雌ネジ孔(52a)が形成され、
前記ターゲット部材は、前記ハブベアリングとは別部材であり、
前記ターゲット部材の中央部には、前記軸線方向に延びる貫通孔であって、前記外側円筒部が嵌め合わされるベアリング挿通孔(483)が形成されており、
前記ターゲット部材のうち前記径方向において前記検出対象部と前記ベアリング挿通孔との間には、前記ベアリング挿通孔の周縁部から前記径方向の外側に凹む部分であって、前記ベアリング挿通孔に前記外側円筒部が嵌め合わされる場合において、前記ハブ取付部が前記ターゲット部材に干渉することを回避するための干渉回避部(486)が形成され、
前記ハブボルトの頭部(17a)を前記センサ基板側に向けた状態で、前記ハブボルトが前記ボルト挿通孔に挿通され、
前記ハブ取付部が前記干渉回避部を通過するように前記ベアリング挿通孔に前記外側円筒部を嵌め合わせ、前記ターゲット部材を前記フランジ部に当接させることにより、前記ハブボルトの前記頭部が、前記軸線方向において前記凹部よりも前記フランジ部側に位置させた状態にする工程を備える、検出装置の製造方法。
【請求項10】
機械装置(10)に適用される検出装置の製造方法において、
前記機械装置は、
回転体(11,14)と、
前記回転体をベース部(15)に対して回転可能に支持するハブベアリング(40)と、
を備え、
前記ハブベアリングは、
前記ハブベアリングの回転中心軸線の方向である軸線方向に延びる外側円筒部(51)を有するとともに、前記ベース部に対して固定される軸受部材である外輪部材(50)と、
前記軸線方向と直交する径方向において前記外側円筒部の内側に設けられる内側円筒部(61)、及び前記内側円筒部から前記径方向の外側に延びるフランジ部(62)を有する軸受部材である内輪部材(60)と、
前記外側円筒部と前記内側円筒部との間に設けられた転動体(41)と、
磁性材料で構成され、前記フランジ部に対して前記回転体を固定するためのハブボルト(17)と、
を有し、前記ベース部に対して前記内輪部材を回転可能に支持し、
前記検出装置は、
前記軸線方向において前記フランジ部からずれた位置に設けられたセンサ基板(100)と、
前記フランジ部のうち前記軸線方向において前記センサ基板と対向する部分に設けられ、前記回転中心軸線を中心にして前記内側円筒部の周方向に延びる円環状をなすターゲット部材(580)と、
を備え、
前記ターゲット部材のうち前記軸線方向において前記センサ基板と対向する位置には、前記回転中心軸線を中心にして、前記周方向に延びる円環状をなす検出対象部(581)が形成され、
前記検出対象部は、前記フランジ部に対して前記軸線方向に突出する凸部(584)と、前記軸線方向において前記凸部に対して前記フランジ部側に凹む凹部(585)とが前記周方向において交互に設けられた構成になっており、
前記センサ基板は、
励磁電圧が供給される励磁コイル(110)と、
前記励磁コイルに励磁電圧が供給されている場合に電圧が誘起される受信コイル(111,112)と、
を有し、
前記受信コイルは、前記センサ基板に対する前記検出対象部の相対変位に応じた電圧信号を出力し、
前記フランジ部には、前記軸線方向に延びる貫通孔であって、前記ハブボルトが挿通されるボルト挿通孔(64)が形成され、
前記ターゲット部材は、前記ハブベアリングとは別部材であり、
前記ハブボルトの頭部(17a)を前記センサ基板側に向けた状態で、前記ハブボルトが前記ボルト挿通孔に挿通され、
前記ターゲット部材の中央部には、前記軸線方向に延びる貫通孔であって、前記外側円筒部が嵌め合わされるベアリング挿通孔(586)が形成されており、
前記内側円筒部は、
前記径方向において前記転動体の内側に設けられる円筒状の第1部分(61a)と、
前記径方向において前記第1部分の内側に設けられるとともに、前記フランジ部から前記軸線方向に延びる円筒状の第2部分(61b)と、
を有し、
前記第2部分のうち前記フランジ部側の基端部は、前記第2部分のうち前記基端部に対して先端側の部分よりも外径寸法が大きい拡径部(587)とされており、
前記ターゲット部材の前記ベアリング挿通孔に前記第1部分を嵌め合わせ、前記ターゲット部材を前記拡径部に圧入固定することにより、前記ハブボルトの前記頭部が、前記軸線方向において前記凹部よりも前記フランジ部側に位置させた状態にする工程と、
前記外側円筒部、前記転動体及び前記第1部分が一体化された部材であるサブアッシー(AS)が前記ターゲット部材に当接するまで、前記サブアッシーの前記第1部分を前記第2部分に圧入嵌合する工程と、
を備える、検出装置の製造方法。
発明の詳細な説明
【技術分野】
【0001】
本開示は、検出装置、及び検出装置の製造方法に関する。
続きを表示(約 2,200 文字)
【背景技術】
【0002】
従来、ハブベアリングの外輪部材に対する内輪部材の相対変位を利用して変位を検出するセンサ付きハブベアリングが知られている。なお、センサ付きハブベアリングは、例えば特許文献1に記載されている。
【先行技術文献】
【特許文献】
【0003】
特開2008-275508号公報
【発明の概要】
【発明が解決しようとする課題】
【0004】
機械装置に適用される検出装置が知られている。機械装置は、回転体と、ハブベアリングとを備えている。ハブベアリングは、第1軸受部材(例えば外輪部材)と、第2軸受部材(例えば内輪部材)と、転動体と、ハブボルトとを備えている。第1軸受部材は、ハブベアリングの回転中心軸線の方向である軸線方向に延びる第1円筒部を有するとともに、ベース部に対して固定されている。第2軸受部材は、軸線方向と直交する径方向において第1円筒部に対向する位置に設けられた第2円筒部、及び第2円筒部から径方向の外側に延びるフランジ部を有している。第1円筒部と第2円筒部との間には、転動体が設けられている。ハブボルトは、磁性材料で構成され、フランジ部に対して回転体を固定するためのボルトである。これにより、ハブベアリングは、回転体をベース部に対して回転可能に支持する。
【0005】
検出装置は、変位又は力を検出するための構成として、検出対象部と、センサ基板とを備えている。センサ基板は、軸線方向においてフランジ部からずれた位置に設けられている。検出対象部は、フランジ部のうち軸線方向においてセンサ基板と対向する部分に設けられ、回転中心軸線を中心にして、第2円筒部の周方向に延びる円環状をなしている。
【0006】
検出対象部は、フランジ部に対して軸線方向に突出する凸部が周方向において所定間隔で複数設けられた構成になっている。
【0007】
センサ基板は、励磁電圧が供給される励磁コイルと、受信コイルとを有している。励磁コイルに励磁電圧が供給されると、励磁コイルにて磁束が発生する。発生した磁束の少なくとも一部が受信コイルを鎖交することにより、受信コイルに電圧が誘起される。受信コイルは、センサ基板に対する検出対象部の相対変位に応じた電圧信号を出力する。出力された電圧信号に基づいて、変位又は力が検出される。
【0008】
ここで、上記相対変位と受信コイルの出力信号(例えば、出力信号の振幅)との関係が、基準となる関係(例えば、設計時に想定した関係)からずれることがある。この場合、受信コイルの出力信号に基づく変位又は力の検出精度が低下する懸念がある。
【0009】
本開示は、センサ基板に対する検出対象部の相対変位と受信コイルの出力信号との関係が、基準となる関係からずれる事態の発生を抑制できる検出装置、及び検出装置の製造方法を提供することを主たる目的とする。
【課題を解決するための手段】
【0010】
本開示は、機械装置に適用される検出装置において、
前記機械装置は、
回転体と、
前記回転体をベース部に対して回転可能に支持するハブベアリングと、
を備え、
前記ハブベアリングは、
前記ハブベアリングの回転中心軸線の方向である軸線方向に延びる第1円筒部を有するとともに、前記ベース部に対して固定される第1軸受部材と、
前記軸線方向と直交する径方向において前記第1円筒部に対向する位置に設けられる第2円筒部、及び前記第2円筒部から前記径方向の外側に延びるフランジ部を有する第2軸受部材と、
前記第1円筒部と前記第2円筒部との間に設けられた転動体と、
磁性材料で構成され、前記フランジ部に対して前記回転体を固定するためのハブボルトと、
を有し、前記ベース部に対して前記第2軸受部材を回転可能に支持し、
前記軸線方向において前記フランジ部からずれた位置に設けられたセンサ基板と、
前記フランジ部のうち前記軸線方向において前記センサ基板と対向する部分に設けられ、前記回転中心軸線を中心にして、前記第2円筒部の周方向に延びる円環状をなす検出対象部と、
を備え、
前記検出対象部は、前記フランジ部に対して前記軸線方向に突出する凸部が前記周方向において所定間隔で複数設けられた構成になっており、
前記センサ基板は、
励磁電圧が供給される励磁コイルと、
前記励磁コイルに励磁電圧が供給されている場合に電圧が誘起される受信コイルと、
を有し、
前記受信コイルは、前記センサ基板に対する前記検出対象部の相対変位に応じた電圧信号を出力し、
前記フランジ部には、前記軸線方向に延びる貫通孔であって、前記ハブボルトが挿通されるボルト挿通孔が形成され、
前記ハブボルトの両端部のうち、前記軸線方向において前記フランジ部に対して前記センサ基板側の端部は、前記軸線方向において前記凸部よりも前記フランジ部側に位置している。
(【0011】以降は省略されています)
この特許をJ-PlatPat(特許庁公式サイト)で参照する
関連特許
株式会社デンソーウェーブ
筐体
8日前
株式会社デンソー
回転機
8日前
株式会社デンソー
検出装置
7日前
株式会社デンソー
半導体装置
3日前
株式会社デンソー
電流センサ
8日前
株式会社デンソー
レーダ装置
14日前
株式会社デンソー
熱交換装置
1日前
株式会社デンソー
運航管理装置
14日前
株式会社デンソー
電力変換装置
1日前
株式会社デンソー
電圧検出回路
1日前
株式会社デンソー
画像処理装置
8日前
株式会社デンソー
電力変換装置
9日前
株式会社デンソー
巻線界磁ロータ
今日
株式会社デンソー
巻線界磁ロータ
今日
株式会社デンソー
巻線界磁ロータ
9日前
株式会社デンソー
部品の当接構造
2日前
株式会社デンソー
はんだ付け装置
9日前
株式会社デンソー
スパークプラグ
3日前
株式会社デンソー
非接触受電装置
3日前
株式会社デンソーウェーブ
レーザレーダ装置
7日前
株式会社デンソー
スイッチング素子
7日前
株式会社デンソーウェーブ
レーザレーダ装置
7日前
株式会社デンソー
ブラシレスモータ
7日前
株式会社デンソー
フェード検知装置
15日前
株式会社デンソー
突入電流防止回路
今日
株式会社デンソー
アンテナデバイス
今日
株式会社デンソー
セル制御システム
14日前
株式会社デンソー
ステータ及びモータ
10日前
株式会社デンソー
スイッチング制御装置
10日前
株式会社デンソー
半導体装置の製造方法
2日前
株式会社デンソー
半導体装置の製造方法
2日前
株式会社デンソー
熱交換器および減圧器
今日
株式会社デンソーウェーブ
情報読取装置及びプログラム
今日
株式会社デンソー
モータ部品、および、モータ
14日前
株式会社デンソー
電力変換装置及び駆動システム
14日前
株式会社デンソー
検出装置、検出装置の製造方法
7日前
続きを見る
他の特許を見る