TOP
|
特許
|
意匠
|
商標
特許ウォッチ
Twitter
他の特許を見る
公開番号
2025159961
公報種別
公開特許公報(A)
公開日
2025-10-22
出願番号
2024062859
出願日
2024-04-09
発明の名称
半導体装置の製造方法
出願人
株式会社デンソー
,
トヨタ自動車株式会社
,
株式会社ミライズテクノロジーズ
代理人
弁理士法人 快友国際特許事務所
主分類
H01L
21/3065 20060101AFI20251015BHJP(基本的電気素子)
要約
【課題】 半導体ウエハの表面にエッチングによって複数のトレンチを形成する際に、正確に各トレンチを形成する。
【解決手段】 半導体装置の製造方法であって、ステージ上にダミーウエハを載置した状態で前記ダミーウエハをスパッタエッチングすることによって前記ダミーウエハから飛散した物質によって構成された粉体の堆積物を前記ダミーウエハの周囲の前記ステージの表面に形成する工程と、複数の開口部を有するマスクが表面に設けられた半導体ウエハを前記ステージ上に載置した状態で前記マスクを介して前記半導体ウエハをドライエッチングすることによって前記半導体ウエハに複数のトレンチを形成する工程、を有する。前記トレンチを形成する前記工程では、前記半導体ウエハとともに前記堆積物をドライエッチングする。
【選択図】図6
特許請求の範囲
【請求項1】
半導体装置の製造方法であって、
ステージ上にダミーウエハを載置した状態で前記ダミーウエハをスパッタエッチングすることによって、前記ダミーウエハから飛散した物質によって構成された粉体の堆積物を前記ダミーウエハの周囲の前記ステージの表面に形成する工程と、
複数の開口部を有するマスクが表面に設けられた半導体ウエハを前記ステージ上に載置した状態で前記マスクを介して前記半導体ウエハをドライエッチングすることによって、前記半導体ウエハに複数のトレンチを形成する工程、
を有し、
前記トレンチを形成する前記工程では、前記半導体ウエハとともに前記堆積物をドライエッチングする、製造方法。
続きを表示(約 340 文字)
【請求項2】
前記ダミーウエハが酸化シリコン層を有しており、
前記堆積物を形成する前記工程では、前記酸化シリコン層をスパッタエッチングする、
請求項1に記載の製造方法。
【請求項3】
前記マスクが酸化シリコンにより構成されている、請求項1または2に記載の製造方法。
【請求項4】
前記半導体ウエハが炭化シリコンにより構成されている、請求項1または2に記載の製造方法。
【請求項5】
前記堆積物を形成する前記工程と前記トレンチを形成する前記工程のセットを繰り返し実施し、
前記セットが、前記堆積物を形成する前記工程の前に前記ステージ上の前記堆積物を除去する工程をさらに有する、請求項1または2に記載の製造方法。
発明の詳細な説明
【技術分野】
【0001】
本明細書に開示の技術は、半導体装置の製造方法に関する。
続きを表示(約 2,600 文字)
【0002】
マスクを介して半導体ウエハの表面をドライエッチングすることによって、半導体ウエハの表面に複数のトレンチを形成する技術が知られている。このように複数のトレンチを形成するときに、半導体ウエハの中央部よりも半導体ウエハの外周部(すなわち、中央部の周囲の部分)でトレンチが深くなる場合がある。この現象は、半導体ウエハの中央部と外周部とでエッチング時の環境が異なるために発生すると考えられる。すなわち、半導体ウエハよりも外周側にはエッチングされる物質が存在しないため、半導体ウエハの外周部では中央部よりも活性種の濃度が高くなる。その結果、中央部よりも外周部でエッチングレートが高くなり、中央部よりも外周部でトレンチが深くなると考えられる。
【0003】
特許文献1には、半導体ウエハの中央部と外周部の間でのトレンチの深さのばらつきを抑制する技術が開示されている。この技術では、半導体ウエハと同じ材料によって構成されたダミーウエハが半導体ウエハの周囲で露出するように、半導体ウエハとダミーウエハをステージ上に設置し、この状態で半導体ウエハをドライエッチングする。半導体ウエハの周囲に半導体ウエハと同じ材料によって構成されたダミーウエハが露出していると、半導体ウエハの中央部と外周部とでエッチング時の環境が均一化されるので、中央部と外周部の間でトレンチ深さを均一化することができる。
【先行技術文献】
【特許文献】
【0004】
特開2003-264227号公報
【発明の概要】
【発明が解決しようとする課題】
【0005】
特許文献1の技術では、ステージ上に半導体ウエハとダミーウエハを重ねて配置する。エッチング中には、ステージによって半導体ウエハが冷却される。半導体ウエハに対してダミーウエハが重ねられていると、半導体ウエハに対する温度制御が困難となり、エッチングレートが不安定となる。本明細書では、半導体ウエハの表面にエッチングによって複数のトレンチを形成する際に、正確に各トレンチを形成する技術を提案する。
【課題を解決するための手段】
【0006】
本明細書が開示する半導体装置の製造方法は、ステージ上にダミーウエハを載置した状態で前記ダミーウエハをスパッタエッチングすることによって前記ダミーウエハから飛散した物質によって構成された粉体の堆積物を前記ダミーウエハの周囲の前記ステージの表面に形成する工程と、複数の開口部を有するマスクが表面に設けられた半導体ウエハを前記ステージ上に載置した状態で前記マスクを介して前記半導体ウエハをドライエッチングすることによって前記半導体ウエハに複数のトレンチを形成する工程、を有する。前記トレンチを形成する前記工程では、前記半導体ウエハとともに前記堆積物をドライエッチングする。
【0007】
この製造方法では、ダミーウエハをスパッタエッチングすることによってステージ上に粉体の堆積物を形成する。このため、半導体ウエハをドライエッチングする工程では、半導体ウエハの周囲のステージ上に粉体の堆積物が存在している。半導体ウエハをドライエッチングする工程では、半導体ウエハとともに堆積物をドライエッチングする。堆積物でエッチングガスの活性種が消費されるので、半導体ウエハの中央部と外周部の間で活性種の濃度に差が生じ難い。したがって、半導体ウエハの中央部と外周部の間で、トレンチの深さに差が生じ難い。また、粉体の堆積物は熱容量が小さいので、ステージ上における温度分布にほとんど影響を与えない。したがって、半導体ウエハの温度を正確に制御できる。このため、この製造方法によれば、エッチングレートを安定化することができ、正確に各トレンチを形成できる。
【図面の簡単な説明】
【0008】
半導体ウエハの平面図。
半導体ウエハとマスクの断面図。
第1準備工程におけるステージの断面図。
第2準備工程の説明図。
エッチング工程の説明図。
エッチング工程の説明図。
MOSFETの断面図。
【発明を実施するための形態】
【0009】
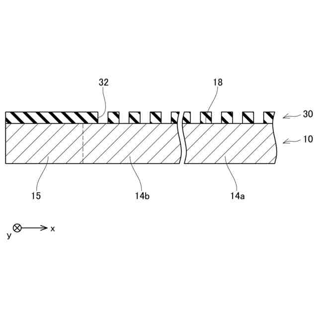
図1は、実施形態の製造方法による加工対象である半導体ウエハ10を示している。半導体ウエハ10は、炭化ケイ素(すなわち、SiC)により構成されている。図1において、破線はダイシングライン12を示している。半導体ウエハ10は、後の工程においてダイシングライン12に沿って切断され、複数のチップに分割される。なお、ダイシングライン12は、設計上の切断位置であり、半導体ウエハ10の表面にはダイシングライン12に相当する線は描かれていない。また、ダイシングライン12に囲まれた素子領域14は、ダイシング後に半導体装置となる領域である。また、図1においてハッチングされた領域は半導体ウエハ10の外周部22であり、ハッチングされていない領域は半導体ウエハ10の中央部20である。外周部22は中央部20の周囲の部分である。中央部20と外周部22のそれぞれに素子領域14が存在する。以下では、中央部20内の素子領域14を素子領域14aといい、外周部22内の素子領域14を素子領域14bという。また、外周部22のうちの素子領域14bよりも外側の領域を、周辺領域15という。本実施形態では、各素子領域14に複数のトレンチを形成することによって、半導体装置を製造する。なお、以下では、半導体ウエハ10の上面に沿う一方向をx方向といい、半導体ウエハ10の上面に沿うとともにx方向に対して直交する方向をy方向という。
【0010】
まず、図2に示すように、半導体ウエハ10の上面18上にマスク30を形成する。マスク30は、酸化シリコンによって構成されており、複数の開口部32を有している。素子領域14のそれぞれに、複数の開口部32が設けられている。各開口部32は、y方向に沿って長く伸びている。各素子領域14において、開口部32はx方向に間隔を空けて配置されている。周辺領域15内には、開口部32が設けられていない。マスク30は、例えば、酸化シリコン層を成膜し、その後、フォトリソグラフィによって酸化シリコン層をパターニングすることによって形成される。
(【0011】以降は省略されています)
この特許をJ-PlatPat(特許庁公式サイト)で参照する
関連特許
株式会社デンソーウェーブ
筐体
7日前
株式会社デンソー
車載器
20日前
株式会社デンソー
回転機
7日前
株式会社デンソー
接合体
1か月前
株式会社デンソー
ステータ
20日前
株式会社デンソー
反力装置
14日前
株式会社デンソー
電子装置
14日前
株式会社デンソーエレクトロニクス
発音装置
24日前
株式会社デンソー
電子装置
24日前
株式会社デンソー
電子装置
15日前
株式会社デンソー
ねじ部材
20日前
株式会社デンソー
検出装置
6日前
株式会社デンソー
ステータ
20日前
株式会社デンソー
ステータ
1か月前
株式会社デンソー
ステータ
1か月前
株式会社デンソーテン
インバータ
14日前
株式会社デンソー
農業用装置
16日前
株式会社デンソー
レーダ装置
24日前
株式会社デンソー
レーダ装置
13日前
株式会社デンソー
熱交換装置
今日
株式会社デンソー
半導体装置
2日前
株式会社デンソー
電流センサ
7日前
株式会社デンソー
半導体装置
20日前
株式会社デンソー
運航管理装置
13日前
株式会社デンソー
電子制御装置
24日前
株式会社デンソーテン
車載映像装置
20日前
株式会社デンソー
車両制御装置
14日前
株式会社デンソー
電力変換装置
16日前
株式会社デンソー
車載システム
14日前
株式会社デンソー
車載システム
14日前
株式会社デンソー
電力変換装置
今日
株式会社デンソー
電子制御装置
20日前
株式会社デンソー
電波吸収装置
24日前
株式会社デンソー
衝突予測装置
15日前
株式会社デンソー
運転支援装置
15日前
株式会社デンソー
衝突予測装置
15日前
続きを見る
他の特許を見る