TOP
|
特許
|
意匠
|
商標
特許ウォッチ
Twitter
他の特許を見る
公開番号
2025155342
公報種別
公開特許公報(A)
公開日
2025-10-14
出願番号
2024059135
出願日
2024-04-01
発明の名称
ステータ及びモータ
出願人
株式会社デンソー
代理人
個人
,
個人
主分類
H02K
3/34 20060101AFI20251006BHJP(電力の発電,変換,配電)
要約
【課題】放熱性の低下を抑制可能としたステータ及びモータを提供する。
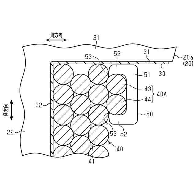
【解決手段】ステータ11は、周方向において複数のティース22を有するステータコア20と、各ティース22に集中巻きされたコイル40と、周方向に隣り合うティース22の間に形成された空間であり、コイル40の一部が通るスロットSと、スロットS内において周方向に隣り合うコイル40の間に設けられる絶縁部材50とを備える。絶縁部材50は、コイル40の径方向長さに対して部分的に設けられるとともに、周方向に隣り合うコイル40同士が最も接近する箇所(最接近箇所40X)においてコイル40の間に設けられている。
【選択図】図1
特許請求の範囲
【請求項1】
周方向において複数のティース(22)を有するステータコア(20)と、
前記各ティースに集中巻きされたコイル(40)と、
周方向に隣り合う前記ティースの間に形成された空間であり、前記コイルの一部が通るスロット(S)と、
前記スロット内において周方向に隣り合う前記コイルの間に設けられる絶縁部材(50)と、を備えるステータ(11)であって、
前記絶縁部材は、前記コイルの径方向長さに対して部分的に設けられるとともに、周方向に隣り合う前記コイル同士が最も接近する箇所(40X)において前記コイルの間に設けられている、
ステータ。
続きを表示(約 1,000 文字)
【請求項2】
前記絶縁部材は、前記コイルの軸方向長さに対して部分的に設けられている、
請求項1に記載のステータ。
【請求項3】
前記絶縁部材は、複数の前記スロットの各々に1つずつ設けられている、
請求項1に記載のステータ。
【請求項4】
前記コイルは、巻き終わり線(43)を有し、
前記絶縁部材は、前記巻き終わり線に対応する位置に設けられている、
請求項1に記載のステータ。
【請求項5】
前記コイルは、前記巻き終わり線を含む最外層の導線群(40A)を有し、
前記絶縁部材は、前記導線群のうちの前記巻き終わり線を含む複数本の導線(43,44)をまとめて保持している、
請求項4に記載のステータ。
【請求項6】
前記絶縁部材は、基部(51)と、前記基部から延びる一対の挟持部(52)と、を有し、
前記一対の挟持部は、前記導線群のうちの前記複数本の導線を挟持している、
請求項5に記載のステータ。
【請求項7】
前記各コイルをまとめて覆うように形成されるモールド樹脂(60)をさらに備え、
前記モールド樹脂は、前記スロット内において周方向に隣り合う前記コイルの間に入り込むスロット内部位(62)を含む、
請求項1に記載のステータ。
【請求項8】
前記モールド樹脂は、前記絶縁部材よりも熱伝導率が高く設定されている、
請求項7に記載のステータ。
【請求項9】
ステータ(11)と、前記ステータに対向するロータ(12)と、
を備えるモータ(10)であって、
前記ステータは、
周方向において複数のティース(22)を有するステータコア(20)と、
前記各ティースに集中巻きされたコイル(40)と、
周方向に隣り合う前記ティースの間に形成された空間であり、前記コイルの一部が通るスロット(S)と、
前記スロット内において周方向に隣り合う前記コイルの間に設けられる絶縁部材(50)と、を備え、
前記絶縁部材は、前記コイルの径方向長さに対して部分的に設けられるとともに、周方向に隣り合う前記コイル同士が最も接近する箇所(40X)において前記コイルの間に設けられている、
モータ。
発明の詳細な説明
【技術分野】
【0001】
本開示は、ステータ及びモータに関するものである。
続きを表示(約 1,700 文字)
【背景技術】
【0002】
従来、モータのステータとしては、周方向に隣り合うティースの間に形成された空間であるスロット内において、コイル同士の間に介在される絶縁シートを備えたものがある(例えば、特許文献1参照)。特許文献1のステータにおいて、絶縁シートの径方向の寸法は、コイルの径方向の寸法と同等、もしくは、コイルの径方向の寸法よりも大きく設定されている。これにより、絶縁シートは、コイルの径方向全体に対して周方向に対向するようになっている。
【先行技術文献】
【特許文献】
【0003】
特開2019-30158号公報
【発明の概要】
【発明が解決しようとする課題】
【0004】
上記のようなステータでは、コイルの放熱性が絶縁シートによって低下する問題があった。
本開示の目的は、放熱性の低下を抑制可能としたステータ及びモータを提供することにある。
【課題を解決するための手段】
【0005】
上記課題を解決するステータは、周方向において複数のティース(22)を有するステータコア(20)と、前記各ティースに集中巻きされたコイル(40)と、周方向に隣り合う前記ティースの間に形成された空間であり、前記コイルの一部が通るスロット(S)と、前記スロット内において周方向に隣り合う前記コイルの間に設けられる絶縁部材(50)と、を備えるステータ(11)であって、前記絶縁部材は、前記コイルの径方向長さに対して部分的に設けられるとともに、周方向に隣り合う前記コイル同士が最も接近する箇所(40X)において前記コイルの間に設けられている。
【0006】
上記課題を解決するモータは、ステータ(11)と、前記ステータに対向するロータ(12)と、を備えるモータ(10)であって、前記ステータは、周方向において複数のティース(22)を有するステータコア(20)と、前記各ティースに集中巻きされたコイル(40)と、周方向に隣り合う前記ティースの間に形成された空間であり、前記コイルの一部が通るスロット(S)と、前記スロット内において周方向に隣り合う前記コイルの間に設けられる絶縁部材(50)と、を備え、前記絶縁部材は、前記コイルの径方向長さに対して部分的に設けられるとともに、周方向に隣り合う前記コイル同士が最も接近する箇所(40X)において前記コイルの間に設けられている。
【0007】
上記構成によれば、周方向に隣り合うコイル同士が最も接近する箇所に絶縁部材が介在されることにより、当該箇所におけるコイル同士の絶縁距離を確保することができる。また、絶縁部材はコイルの径方向長さに対して部分的に設けられるため、絶縁部材によってコイルの放熱性が低下することを抑制できる。
【図面の簡単な説明】
【0008】
一実施形態におけるモータの概略構成図。
同実施形態におけるステータの一部を示す斜視図。
同実施形態におけるステータの部分断面図。
【発明を実施するための形態】
【0009】
以下、ステータ及びモータの一実施形態について説明する。
(モータ10の構成)
図1に示すように、モータ10は、ステータ11と、ステータ11に対向するロータ12とを備える。ステータ11は、円環状をなしている。ロータ12は、ステータ11の内側に配置される。すなわち、ロータ12は、ステータ11に対して径方向に対向している。ステータ11は、円筒状のハウジング13に収容されている。ステータ11は、例えば焼き嵌めによりハウジング13に収容される。
【0010】
(ステータ11の構成)
ステータ11は、ステータコア20と、インシュレータ30と、コイル40と、絶縁部材50と、モールド樹脂60とを備える。なお、図1では、インシュレータ30及びコイル40の断面を模式的に図示している。
(【0011】以降は省略されています)
この特許をJ-PlatPat(特許庁公式サイト)で参照する
関連特許
株式会社デンソー
車載器
12日前
株式会社デンソー
電子装置
7日前
株式会社デンソーエレクトロニクス
発音装置
16日前
株式会社デンソー
ステータ
12日前
株式会社デンソー
ステータ
12日前
株式会社デンソー
電子装置
16日前
株式会社デンソー
ねじ部材
12日前
株式会社デンソー
電子装置
6日前
株式会社デンソー
反力装置
6日前
株式会社デンソー
レーダ装置
5日前
株式会社デンソー
レーダ装置
16日前
株式会社デンソーテン
インバータ
6日前
株式会社デンソー
農業用装置
8日前
株式会社デンソー
半導体装置
12日前
株式会社デンソー
衝突予測装置
7日前
株式会社デンソー
車載システム
6日前
株式会社デンソー
電力変換装置
12日前
株式会社デンソー
電波吸収装置
16日前
株式会社デンソー
電圧検出回路
8日前
株式会社デンソー
運転支援装置
7日前
株式会社デンソー
衝突予測装置
7日前
株式会社デンソー
電力変換装置
8日前
株式会社デンソー
制御システム
19日前
株式会社デンソーエアクール
換気空調装置
13日前
株式会社デンソーテン
車載映像装置
12日前
株式会社デンソー
電子制御装置
12日前
株式会社デンソー
電気化学セル
16日前
株式会社デンソー
ステータコア
19日前
株式会社デンソー
車載システム
6日前
株式会社デンソー
フィルタ回路
20日前
株式会社デンソー
電子制御装置
16日前
株式会社デンソー
電力変換装置
20日前
株式会社デンソー
通信システム
16日前
株式会社デンソー
車両制御装置
6日前
株式会社デンソー
運航管理装置
5日前
株式会社デンソー
電力変換装置
今日
続きを見る
他の特許を見る